

Instruction Bulletin
48049-034-04 07/2022
Replaces
LA, LH, and Q4 Circuit Breakers
Disjoncteurs LA, LH, et Q4
Replaces
Retain for future use.
Before starting the installation read and understand all instructions:
NOTE: The following symbols may be used on the circuit breaker faceplate.
| Volts ac | |
| V- | Volts dc |
| Isolator per IEC60947-2 | |
| wiring information | |
![]() | For 250 Vdc service use outside poles only |
| Grounded B Phase | |
| Wire Strip Length | |
| Ii | Magnetic Trip Current |

DANGER
HAZARD OF ELECTRIC SHOCK, EXPLOSION, OR ARC FLASH
- This equipment must be installed and served only by qualified electrical personnel.
- Turn off the power supplying this equipment before working on or inside the equipment.
- Always use a properly rated voltage sensing device to confirm power is of Replace all devices, doors, and covers before turning on power to this equipment.
Failure to follow these instructions will result in death or serious injury.
Factory-Installed Accessories
If a circuit breaker has factory-installed accessories refer to label on the circuit breaker for electrical specifications and lead colors.![]()
HAZARD OF ELECTRIC SHOCK, EXPLOSION, OR ARC FLASH
Mount circuit breaker as shown in these instructions to prevent cover separation under short circuit conditions.
Failure to follow these instructions will result in death or serious injury.
Individually-Mounted Circuit Breaker Installation
- Turn off all power supplying this equipment before working on or inside the equipment.
- Turn off or trip the circuit breaker.
- See page 7 for mounting dimensions.
Pan-mounted Circuit Breaker

Bus-mounted Circuit Breaker
I-Line™ Circuit Breaker Installation
CAUTION
HAZARD OF EQUIPMENT DAMAGE
- Do not adjust jaws.
- Do not remove joint compound.
- If necessary, use Square D joint compound PJC7201.
Failure to follow these instructions can result in personal injury or equipment damage.
NOTE: Install circuit breaker adjacent to main lugs.
- Turn off all power supplying this equipment before working on or inside the equipment.
- Turn off or trip the circuit breaker.
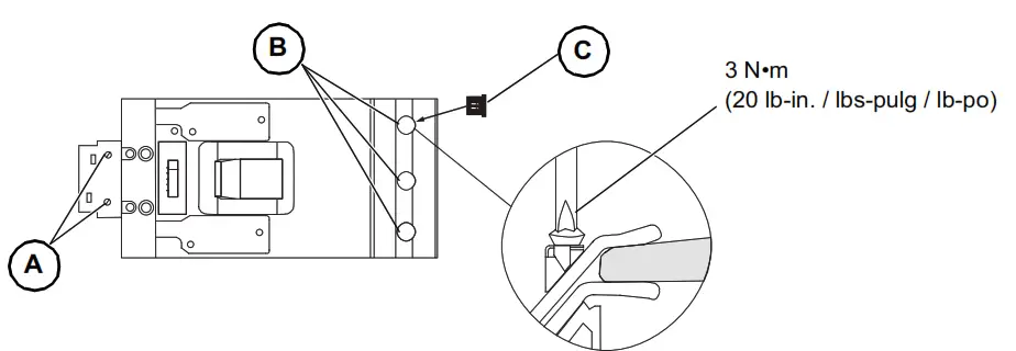
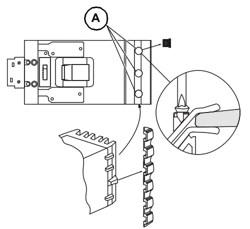
- If equipped with bus screws (A), remove caps and loosen screws.
- Place circuit breaker on I-LINE pan with jaws pushed against bus.

- Use a screwdriver in the upper slot to hold the circuit breaker firmly against bus bars (A).
- Insert the second screwdriver into the bottom slot (B).
- Rack circuit breaker onto bus using alternate screwdrivers until circuit breaker jaws completely engage bus bars.

- Tighten screws (A) firmly without bending the mounting bracket.
- If equipped with bus screws (B), tighten screws and replace caps (C).

Wire Installation—All Circuit Breakers
WARNING
HAZARD OF FALSE TORQUE INDICATION
- Do not allow conductor strands to interfere with threads of wire-binding screws.
- When installing two cables into a lug body make sure cables do not back out during the tightening of the wire binding screw.
Failure to follow these instructions can result in death or serious injury.
![]()
DANGER
HAZARD OF ELECTRIC SHOCK, EXPLOSION, OR ARC FLASH
Lug covers provide touch-safe contact with grounded metal. Replace lug covers after wiring.
Failure to follow these instructions will result in death, serious injury, or equipment damage.
- Turn off all power supplying this equipment before working on or inside the equipment.
- Turn the circuit breaker off or trip the circuit breaker before installing wires.
- Removthe e lug cover and insert wires intthe o lug.
- Tightethe n wire binding screw to the torque specified othe n faceplate label.
- Replace the lug cover.
NOTE: See circuit breaker faceplate label or optional lug instructions for wire size and torque.
| Type of Breaker | Strip Length | Catalog Number |
| LA, LH, Q4 | 1.375 in. (35 mm) | AL400LA |

Circuit Breaker Removal
- Turn off all power supplying this equipment before working on or inside the equipment.
- Turn the circuit breaker off or trip the circuit breaker before removal.
- Remove the circuit breaker in reverse order of installation.
Circuit Breaker Operation Press the push-to-trip button once a year to exercise the circuit breaker.

Troubleshooting
![]()
DANGER
HAZARD OF ELECTRIC SHOCK, EXPLOSION, OR ARC FLASH
- This equipment must be installed and serviced only by qualified electrical personnel.
- Troubleshooting may require energizing auxiliary devices with a test power supply. Make sure that the test power supply is off before connecting or disconnecting it to the auxiliary device.
- Do not touch the terminals of the device during the test.
Failure to follow these instructions will result in death or serious injury.
If problems occur during installation, refer to the troubleshooting guide below. If trouble persists, contact the local Square D field office.
Turn off all power supplying this equipment before working on or inside the equipment.
| Condition | Possible Causes | Solution |
| The circuit breaker fails to stay closed | 1. Magnetic trip adjustment too low. 2. Undervoltage trip not energized. 3. Shunt trip energized. 4. Short circuit or overload on the system. | 1. Adjust magnetic trip adjustment. 2. Energize Undervoltage trip. 3. De-energize the shunt trip. 4. Check the system for short circuits or overload. |
| Circuit breaker trips, but no short circuit or overload is evident. | 1. Magnetic trip adjustment too low. 2. Voltage below Undervoltage trip setting. | 1. Adjust magnetic trip adjustment. 2. Check the system for low voltage. |
| Push-to-trip button will not trip the circuit breaker. | The circuit breaker is already tripped or in the off (O) position. | Move circuit breaker handle to reset then to on (I). |
Dimensions

Dimensions:![]()
(4) #12-24 x 3-1/4 in. Pan-head Mounting Screws (M5 x 90 cross recess head), torque to 30–40 lb-in. (3.4–4.5 N•m).![]()
Table 1 – PowerPacT LA-LH Frame DC Wiring Diagrams 
1 It is acceptable to ground the positive leg.
| Circuit Breaker Specifications (UL ® ® / CSA ® / NOM ) | ||
| Circuit Breaker Type / | LA | LH |
| Number Poles / | 2,3 | 2,3 |
| Amperage Range / | 125-400 | 125-400 |
| 125 Vdc | 10 | 50 |
| 250 Vdc | 10 | 50 |
Electrical equipment must be installed, operated, serviced, and maintained only by qualified personnel. No responsibility is assumed by Schneider Electric for any consequences arising out of the use of this material. Schneider Electric and Square D are trademarks and the property of Schneider Electric SE, its subsidiaries, and affiliated companies. All other trademarks are the property of their respective owners.
Schneider Electric USA, Inc.
800 Federal Street
Andover, MA 01810 USA
888-778-2733
www.se.com/us
© 2002-2022 Schneider Electric All Rights Reserved






















