Delonghi EX390LVYN Portable Air Conditioner 
Product Information
This product is a device with an alphanumeric display and a set of buttons for input. It has a unique product identification number ‘01345467869’.
Product Usage Instructions
- Turn on the device by pressing the power button.
- Use the buttons to navigate through the menu options displayed on the screen.
- To enter a value or text, use the alphanumeric keypad.
- Press the confirm button to save your input.
- Use the device as per the instructions provided in the user manual.
- Turn off the device by pressing and holding the power button.
Important safeguard
- Use this appliance only as described in this instruction manual.
- As with any electrical appliance, the instructions aim to cover as many situations as possible.
- Caution and common sense should be used when operating and installing this air conditioner.
- This appliance has been manufactured to cool and dehumidify domestic environments and must not be used for other purposes.
- It is dangerous to alter or modify the unit’s characteristics in any way.
- The appliance must be installed in accordance with the relevant national legislation.
- Should repairs be necessary, contact the nearest authorized Repair Service Center. Unauthorized servicing can be dangerous.
- The appliance is not intended for use by persons (including children with reduced physical, sensory or mental capabilities, or lack of experience and knowledge, unless they have been given supervision or instruction concerning use of the appliance by a person responsible for their safety.
- Children should be supervised to ensure that they do not play with the appliance.
- If the power cable is damaged, it must be replaced by the manufacturer or an authorized technical service centre in order to avoid all risk.
- Always ensure the appliance is plugged into a grounded 3-prong outlet. If you have any doubts check with a qualified electrician.
- Do not use extension cables.
- Before cleaning or maintenance operations, always unplug the unit from the outlet.
- Do not pull on or place strain on the power cord when moving the appliance.
- The appliance should not be installed where the atmosphere may contain combustible gases, oil or sulphur, or near heat sources.
- Do not rest hot or heavy objects on the appliance.
- Clean the filters at least once a week.
- Avoid using heaters near the unit.
- The unit should be transported in a vertical position. If this is not possible secure the unit at an angle, do not lie it horizontally.
- Before transporting the unit, drain the unit.
- After transportation, wait at least 6 hours before switching the unit on.
- The packaging materials can be recycled. You are therefore recommended to place them in the special containers for differentiated waste collection.
- This appliance is fitted with a special safety device. When the compressor switches off, this device prevents it from switching on again for at least 3 minutes.
WARNING: Changes or modifications not expressly approved by the party responsible for compliance could void the user’s authority to operate the equipment.
Specific warnings for appliances with R410A refrigerant gas
R410A is a refrigerant that complies with European ecological standards; nevertheless, it is recommended not to pierce the cooling circuit of the machine. At the end of its useful life, deliver the appliance to a special waste collection centre for disposal. This hermetically sealed system contains fluorinated greenhouse gases.
ENVIRONMENTAL INFORMATION:
This unit contains fluorinated greenhouse gases covered by the Kyoto Protocol. Maintenance and disposal must be carried out by qualified personnel only (R410A, GWP=2088).
Save these instructions This product is for household only
INTRODUCTION
Thank you for choosing a De’Longhi product. Please take a few moments to read the instructions to avoid risks or damage to the appliance.
DESCRIPTION
Description of the appliance

- A1 air outlet flap
- A2 control panel
- A3 handles
- A4 castors
- A5 air filter
- A6 air intake grille
- A7 air exhaust hose housing
- A8 air intake grille
- A9 power cable
- A10 drainage hose with cap
- A11 CST remote control compartment
Description of the accessories
- B1 adapter for window bracket
- B2 air exhaust hose
- B3 hose adaptor
- B4 additional window bracket
- B5 window bracket with wing nut
- B6 window bracket cap
- B7 (ST (Cool Surround Tecnology) remote control
- B8 end of season accessories bag (*not on all models)
- B9 end of season dust cover (*not on all models)
- B10 stripping foam
ELECTRICAL CONNECTION
Before plugging the appliance into the outlet, check that:
- The outlet’s power supply corresponds to the value indicated on the rating label on the back of the appliance.
- The outlet and electrical circuit are adequate for the appliance.
- The outlet is a 3-hole grounded outlet (If this is not the case, you must choose another outlet. Failure to follow these important safety instructions absolves the manufac- turer of all liability.
If it becomes necessary, the power cable must be replaced by a qualified professional only.
USE
The instructions below will enable you to prepare your air conditioner for operation as efficiently as possible. Before use, make sure the air intake and air outlet flap are unobstructed.
Please note: This appliance is provided with an auto-evapora- tion feature for condensate removal during cooling and dehumidifying modes.
AIR CONDITIONING INSTALLATION
For optimal results see the figures below for the suggested minimum distances.

DOUBLE-HUNG WINDOW
- Place the window bracket (B5) in the window sill, extend the bracket fully within the window frame

- Fix the bracket by the wing nut (fig. 2). Attach the provided stripping foam (B10) to the top of the window bracket and then lower the window onto the bracket. (Should the win- dow bracket be too large for the window the plastic can be cut with a saw by a qualified professional.)

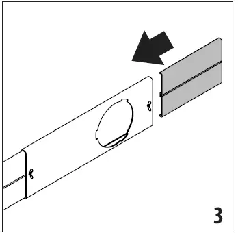
- If the windows are large, use additional window bracket (B4) to cover your window aperture, extending it to the required length, then blocking it with the locking wing nut supplied (fig. 3).

- Insert and lock the accessory for window bracket (B1) already assembled to the air exhaust hose, into the slot of the window bracket (fig. 4).

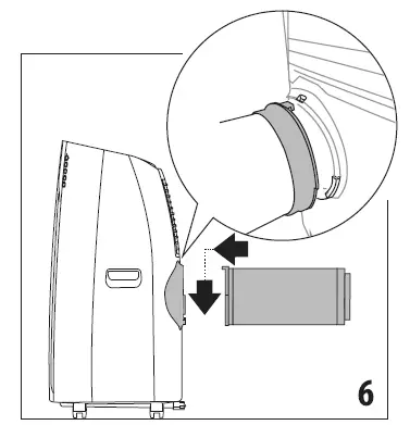
- In order to facilitate the fitting of the air exhaust hose (B2) in the relevant housing located on the rear side of the appliance, position the hose adapter’s tabs (B3) in a vertical axis as shown in fig. 5.

- Fit the air exhaust hose (B2) in the relevant housing located on the rear side of the appliance

SLIDING WINDOWS
Thanks to the locking wing nut, it’s possible to use the window bracket also for sliding windows. Position the hole of the bracket so to allow a correct installation of the exhaust hose.
OPERATING FROM THE CONTROL PANEL

DESCRIPTION OF THE CONTROL PANEL (C)
- C1. ON/STAND-BY (on/off) key
- C2. Function selection key MODE (air conditioning, dehumidi- fying, fan)
- C3. Increase key
- C4. Decrease key
- C5. Fan speed selection key (MIN/MED/MAX/AUTO)
- C6. Air conditioning symbol
- C7. Dehumidifying symbol
- C8. Fan symbol
- C9. ECO REAL FEEL symbol/status indicator
- C10. Swing symbol
- C11. Fan speed indicator
- C12. ARCTIC WHISPER EXTREME symbol
CONTROL PANEL OPERATION
TURNING THE APPLIANCE ON AND OFF
Insert the plug in the socket. Two dashes appear on the display indicating that the appliance is in stand-by.

Touch the
(C1) key to turn ON the appliance. The flap A1 will open after few seconds. When the appliance comes ON the last function set before it was shut off is activated.
Please note: If start-up is not continued, after a few minutes the display light dims in order to reduce energy consumption. To turn the appliance off, touch the
key and then pull the plug.
MODES SELECTION
To select the desired operating mode, touch repeatedly the MODE key (C2) until the desired function is selected.

AIR CONDITIONING MODE
This is ideal for hot and humid weather when the room needs to be cooled. This function also helps dehumidify the air.
To correctly set this mode:
- Touch repeatedly the MODE key (C2) until the air conditioning symbol appears. The display will show the desired temperature.
- To change the temperature to be reached, touch the (C3) or V key.
- Select the desired fan speed by touching the & (5) key.
The speeds available are:
Minimum speed: when maximum silent operation is desired.
Medium speed: when the noise level needs to be low but with a good comfort level.
Maximum speed: to reach the desired temperature as soon as possible.
Auto: the appliance automatically chooses the best fan speed based on the temperature select ed and the environmental conditions.
DEHUMIDIFYING MODE
This is ideal for reducing humidity in the room (spring and autumn, damp rooms, rainy periods, etc). for this type of use, the appliance must be set up as for air conditioning mode. That is, the air exhaust hose (B2) must be fitted to the appliance to allow the humidity to be discharged outside.
To correctly set this mode:
- Touch repeatedly the MODE key (C2) until the dehumidifying O symbol appears.
- The appliance will automatically choose the best air flow.
FAN MODE
When using this mode, the air exhaust hose (B2) does not need to be attached to the appliance.
To correctly set this mode:
- Touch repeatedly the MODE (C2) key until the fan of sym- bol appears.
- Select the desired air flow by pressing of button (C5).
The air flows available are:
Minimum air flow: when most silent operation is desired.
Medium air flow: when the noise level needs to be low but with a good comfort level.
Maximum air flow: for maximum performance.
SELECT THE TEMPERATURE SCALE
The temperature can be displayed in °C or °F. To change the temperature unit of measure touch both the increase (C3) or decrease (4) keys for about 10 sec.
OPERATING FROM THE CST (Cool Surround Tecnology) REMOTE CONTROL
The (ST remote controller is based on Bluetooth® Low Energy communication with the Pinguino.
INSERTING OR REPLACING THE BATTERIES
- Remove the cover on the rear of the remote control.
- Insert or replace the batteries with two new LR6 “AA” 1.5V batteries, inserting them correctly (see the instructions in- side the battery compartment) (fig. 7).
- Replace the cover.

If the remote control unit is replaced or discarded, the batteries must be removed and disposed of in accordance with current legislation as they are harmful to the environment. Do not mix old and new batteries. Do not mix alkaline, standard (carbon-zinc) or rechargeable bat- teries. Do not dispose of batteries in fire. Batteries may explode or leak. If the remote control is not be used for a certain length of time, remove the batteries. Use only battery within the expired date.
DESCRIPTION OF THE CST REMOTE CONTROL

- D1 ON/STAND-BY (on/off) button
- D2 MODE button
- D3 Decrease button
- D4 Increase button
- D5 Swing button (flap swing)
- D6 ARCTIC WHISPER EXTREME button
- D7 Air flow button
- D8 Timer button
- D9 ECO REAL FEEL button
- D10 Indication LED
USING THE CST REMOTE CONTROL
The CST remote control senses temperature and humidity like a thermostat for a personalized custom cool around you. By keep- ing the (ST remote nearby, it will track humidity and tempera- ture around you making sure you’ll always enjoy your desired comfort. The remote control must be no more than about 33 ft (10 meters) away from the appliance (fig. 8) (even in non line of sight). The maximum range may be lower depending on the environment. It belongs to Bluetooth class 2 device Class.

- The CST remote control must be handled with care. Do not drop it or expose it to direct sunlight or sources of heat. It is advisable to keep the (ST remote control placed on a table or a flat surface. Do not hold the (ST remote control in your hand for long time to avoid altering the reading of the sen- SOrs.
- The CST sensors are also disabled if the CST remote control is positioned at a distance less than 3.3ft (1 m) from the unit. The (ST remote control is equipped with touch sensitive buttons.
- The CST remote control is equipped with a dual color LED (D10) (white/red). White indications are used for: signaling the touching of each button with 3 fast flashes it blinks every 30 seconds for data transmission signaling the entering of pairing phase with periodic blinking signaling the battery status is “good”
- The same indications but in red color mean that the batter- ies are starting to be exhausted.
Please note: Never switch the appliance off by removing the plug. Always switch it off by touching the
ON/STAND-BY button (D1) and waiting for a few minutes before removing the plug. Only in this way the appliance will perform its standard checks.
SELECTING THE OPERATING MODES
The operating modes available on the CST remote control through the MODE button (D2) correspond to those on the appliance control panel (C).
SELECTING THE TEMPERATURES
In conditioning mode touch v button (D3) or (D4) to select the desired temperature.
SELECTING THE AIR FLOW
In conditioning and fan modes, touch & button (D7) to select the desired air flow.
The air flows available are:
Minimum air flow: when room has cooled down and you want a quieter operation.
Medium air flow: when the noise level needs to be low but with a good comfort level.
Maximum air flow: for maximum performance.
Auto: the appliance automatically chooses the air flow based on the temperature selected and the environmental conditions. This selection is only available in air conditioning mode.
ECO REAL FEEL FUNCTION
- ECO REAL FEEL is the innovative De’Longh technology that works simultaneously on temperature reduction and humidity control, securing the best comfort level. With traditional systems, optimal comfort conditions may be reached but not secured over time.
- With ECO REAL FEEL, once optimal comfort is reached, compressor operation and air flow are automatically modulated to keep it consistent over time and save up to 30% on energy usage. To activate the function, touch the _ button (D9) on remote control and the ECO REAL FEEL symbol appears.
- The “ECO REAL FEEL” status indicator (C9) becomes white for approx- imately 1 minute to indicate that the appliance is checking the room conditions.
- Afterwards the “ECO REAL FEEL” status indicator (C9) changes color as it approaches comfort conditions (see following diagram). For this type of use, the appliance must be set up in the air con- ditioning mode.

- ORANGE LIGHT: Room conditions far from optimal level.
- GREEN LIGHT: Most people feel good room conditions, near optimal level.
- BLUE LIGHT: Best comfort level.
In particularly severe environmental conditions (large size room, high temperature or humidity outside, poor insulation of the room, too many of people or strong heat load in the room, strong exposure to the sun …) this device may not be able to reach the best comfort level.
ARCTIC WHISPER EXTREME (available in air condition- ing mode only)
By activating this function, the operating noise is further reduced. To activate, touch the rZ button (D6) on the remote control. The display shows the related symbol (C12).

SWING FUNCTION
This function moves the flap, evenly distributing the air into the room. When the Swing button (D5) is touched, the flap will begin to move forwards and backwards alternatively. If touched again, the flap will be locked into its current position. When the button is next touched, the flap will start to move for- wards and backwards again.
Please note: in order to avoid damaging the internal mecha- nisms, the flap must not be moved manually.
SETTING THE TIMER
The timer allows the delayed start up or shut down of the appliance. This function will prevent wasting electricity by optimizing the operating periods.
How to program delayed shut down
- While the appliance is ON in any operating mode, delayed shut down can be programmed.
- Touch the timer button (D8): the timer symbol (C15) and hours (C16) light up.
- Touch the (D3) and (D4) buttons until the desired number of hours to shut down appears on the display.
A few seconds after the timer is set, the setting is acquired, the display shows the operating mode and the timer symbol stays lit. Once the set time is elapsed, the air conditioner goes into Standby. To cancel the timer program, touch the © timer button (D8) twice. The timer symbol (C15) will go off.
Please note: Once the timer has been activated, by touching the timer button only one time, the remaining hours to shut down will be displayed.
How to program delayed start up
- Plug in the appliance and set to standby.
- Touch the timer button (D8)the timer symbol (C15) and hours (C16) light up.
- Touch the (D3) and (D4) buttons until the desired number of hours to start up appears. Start up can be pro- grammed at any time within the 24 hours that follow.
When the set time is elapsed, the appliance will start to operate in the same operating mode that was previously set. To cancel the timer program, touch the timer button (D8) twice. The timer symbol (C15) will go off.
Please note: Once the timer has been activated, by touching the timer key only one time, the remaining hours to the start up will be displayed.
How to program delayed start up
- Plug in the appliance and set to standby.
- Touch the timer button (D8): the timer symbol (C15) and hours (C16) light up.
- Touch the (D3) and (D4) buttons until the desired number of hours to start up appears. Start up can be pro- grammed at any time within the 24 hours that follow.
When the set time is elapsed, the appliance will start to operate in the same operating mode that was previously set. To cancel the timer program, touch the timer button (D8) twice. The timer symbol (C15) will go off.
Please note: Once the timer has been activated, by touching the timer key only one time, the remaining hours to the start up will be displayed.
REPEAT PAIRING OF CST REMOTE CONTROL
The (ST remote control is already pair to this DeLonghi Pinguino appliance. In case you want to pair with another DeLongi Pin- guino device, or in case of a pairing of brand new CST remote control, the user needs to put the unit in Standby mode and touch for 10 seconds the MODE selection button (D2) on the CST remote control. The LED (D10) starts blinking periodically indi- cating the pairing phase. Then, press for 10 seconds the MODE button (C2) on the Pinguino unit until a double beep is emitted. The pairing phase is signaled on display by means of a fast flashing of the dot in the middle of the digits. When the two devices complete the pairing dialogue, the PAC emits a double ‘beep. The display will return to as it normally appears in the Standby mode.
NOTE: pairing must be done within 60 seconds.
FCC AND CANADA EMC COMPLIANCE INFORMATION
This device complies with Part 15 of the FCC Rules. Operation is subject to the following two conditions:
- This device may not cause harmful interference, and
- This device must accept any interference received, including interference that may cause undesired operation.
Please note: This equipment has been tested and found to comply with the limits for a Class B digital device, pursuant to part 15 of the FCC Rules. These limits are designed to provide reasonable protection against harmful interference in a residential instal- lation. This equipment generates, uses and can radiate radio frequency energy and, if not installed and used in accordance with the instructions, may cause harmful interference to radio communications. However, there is no guarantee that interfer- ence will not occur in a particular installation. If this equipment does cause harmful interference to radio or television reception, which can be determined by turning the equipment off and ON, the user is encouraged to try to correct the interference by one or more of the following measures:
- Reorient or relocate the receiving antenna.
- Increase the separation between the equipment and re- ceiver.
- Connect the equipment into an outlet on a circuit different from that to which the receiver is connected.
- Consult the dealer or an experienced radio/TV technician for help.
Approved under the certification provision of FCC Part 15 as a Class B Digital Device.
Caution: Changes or modifications not expressly approved by the manufacturer could void the user’s authority to operate this device.
Caution: To comply with the limits of the Class B digital device, pursuant to Part 15 of the FCC Rules, this device is to comply with Class B limits. All peripherals must be shielded and grounded. Operation with non-certified peripherals or non shielded cables my result in interference to radio or reception. This Class B digital apparatus complies with Canadian ICES-003. CAN ICES-3 (B)/NMB-3(B)
WIRELESS TRANSMITTER COMPLIANCE INFORMATION
The term “IC:” before the radio certification number only signifies that Industry Canada technical specifications were met. This device complies with Industry Canada’s licence-exempt RSSs. Operation is subject to the following two conditions:
- This device may not cause interference; and
- This device must accept any interference, including interfer- ence that may cause undesired operation of the device.
This equipment complies with FCC/IC RSS-102 radiation exposure limits set forth for an uncontrolled environment. This equipment should be installed and operated with minimum distance 20cm between the radiator & your body.
This device includes the following module. Contains FCC ID: WAP-2011
This device includes the following module.
De Longhi America Upper Saddle River NJ 07452 201-919-4000
USAGE TIPS
- The (ST remote control has humidity/temperature sensors on board. It is suggested not to completely cover it with hands or clothes; it is as well suggested not to place in ob- structed air flow zones. In addition to that it is preferable to keep the device far from direct sunlight exposure or heat sources in order to avoid inaccurate sensor readings.
- The CST remote control is equipped with touch sensitive buttons. Operate with clean hands and without dust or liquids nearby.
- The CST Remote control is expected to run for approx. 6 months with the same batteries. This assumption is based on the use of 2300 mAh LR6 “AA” batteries.
SELF-DIAGNOSIS
The appliance has a self diagnosis system to identify a number of warning/malfunctions. Error messages are displayed on the appliance display.

TIPS FOR CORRECT USE
To ensure optimal results from your air conditioner, follow these recommendations:
- Close the windows and doors where air conditioner will be used. When installing the air conditioner semi-permanently, you should leave a door slightly open (as little as 0,39 inches – 1 cm) to guarantee proper ventilation.
- Never use the appliance in very damp rooms (laundries for example).
- Protect the room from direct exposure to the sun by partially closing curtains and/or blinds to make the appliance much more economical to run.
- Never use the appliance outdoors.
- Make sure there are no heat sources in the room.
- Make sure the air conditioner is standing on a level surface.
- Never rest objects of any kind on the air conditioner.
- Never obstruct the air intake or air outlet flap (see fig. below).

CLEANING
Before cleaning or maintenance, turn the appliance off by touching the
button, then unplug from the outlet.
CLEANING THE APPLIANCE
You should clean the appliance with a slightly damp cloth then dry with a dry cloth. For safety reasons, never wash the air con- ditioner with water.
Attention! Never use petrol, alcohol or solvents to clean the ap- pliance. Never spray insecticide liquids or similar.
CLEANING THE AIR FILTER
If the filter is dirty, air circulation is compromised and the eff- ciency of the appliance decreases. It is therefore good practice to clean the filter at regular intervals. The frequency depends on the duration and conditions of operation. If the unit is used constantly or systematically, you are recommended to clean the filter once a week. The filter is housed in the intake grille. To clean the filter, extract as shown in fig. 9.

Use a vacuum cleaner to remove the dust collected on the filter. If it is very dirty, immerse in warm water and rinse a number of times. The water should never be hotter than 104°F. After wash- ing the filter, allow it to dry completely before repositioning it. The filter helps capture dust and pollen.
START OF SEASON CHECKS
Make sure the power cable and plug are undamaged and the electrical outlet is in working order. Follow the installation instructions precisely.
END OF SEASON OPERATIONS
To drain all water from the circuit, remove the external cap by unscrewing it in the counter clockwise direction and allow the water to drain out into a basin (fig. 10).
When the appliance is empty, replace the caps. Clean the filter and dry thoroughly before putting back. In order to properly storage the appliance at the end of the sea- son, we suggest you cover it with the supplied end of season dust cover (B9) and you put the accessories in the relevant end of season accessories bag (B8).dust cover and accessories bag only included with some models.
TECHNICAL SPECIFICATIONS
- Power supply voltage see rating label
- Max. absorbed power
- during air conditioning
- Refrigerant
- Cooling capacity
ONLY FOR SERVICE CENTERS USE
THE WIRING DIAGRAM IS LOCATED INSIDE THE UNIT.
LIMIT CONDITIONS
- Room temperature for air conditioning 61° ÷ 95°F (16-35 °C)
- Maximum relative humidity 80% RH
Please note: outside of these conditions, the unit will take longer or may not reach the cooling temperature that is set.
Transport, filling, cleaning, recovery and disposal of refrigerant should be performed by a technical service center appointed by the manufacturer only. The appliance should be disposed of by a specialized cen- ter appointed by the manufacturer only.
Attention!
TO AVOID DAMAGE TO THE UNIT NEVER TRANSPORT OR TURN THE APPLIANCE UPSIDE DOWN OR ON ITS SIDE. IF THIS OCCURS, WAIT 6 HOURS BEFORE TURNING THE APPLIANCE ON, 24 HOURS IS RECOMMENDED. After the unit has been on its side, oil needs to return to the compressor to en- sure proper function. Without allowing the unit this time (6-24 hours) the unit may function for only a short time, and then the compressor will break down from lack of oil.
TROUBLESHOOTING

Visit www.delonghi.com for a list of service centers near you.


























