CROTONE MAA-F005 Door Lock

Installation manual of intelligent door lock
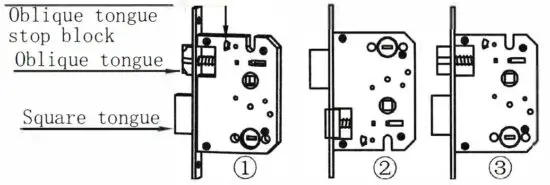
Left and right reversing of lock body
When installing the lock body, the inclined tongue shall face upward, and the inclined surface of inclined tongue shall face the front panel direction. If it is not consistent, the direction of inclined tongue shall be adjusted. The method is as follows:
- Turn the lock body upside down with the inclined tongue downward, and let the inclined tongue stop block lean down.As shown in Figure 2
- Press the inclined tongue to the bottom and rotate 180 degrees.
- Loosen the inclined tongue, let it pop out along the inclined tongue hole, and turn the lock body upside down. As shown in Figure 3
Left and right reversing of front and rear panels
When installing the panel, first check whether the panel handle is consistent with the left and right door opening. If not, adjust the handle direction. The operation is as follows:
- Use a 3mm Allen wrench to remove the M6 hexagon screw in the side hole of the square haft (take out the handle from the panel).
- Rotate the handle upward by 180 degrees, and install the screw into another hole to tighten the screw.
Square shaft installation
Insert the hole end of the big shaft into the square hole on the hand, concentric with the two small round holes, and insert the pin to bend the pin, which is not easy to fall off
Installation of lock body
Installation of lock body: the inclined tongue is upward, and the inclined surface is facing the front panel
Installation of door buckle plate and door buckle box Dig holes on the door frame corresponding to the lock tongue, and then fix them with two wood screws
Installation exploded view
Installation direction diagram of intelligent door lock
Right door opening direction change:
Note: when changing the left and right handles of the front panel, remove the hexagon screws in the front panel with a 3mm Allen key, rotate the handle upward by 180 ° and install the hexagon screws into another hole
Left door switch direction:
Note: when changing the left and right handle of the rear panel, remove the hexagon screw in the panel with a 3mm Allen key, rotate the handle upward by 180 ° and install the hexagon screw into another hole


















