Imou H.265 Cruiser Wi-Fi P&T Camera

Thank you for choosing IMOU.
We are devoted to providing you easy smart home products. If you have problems using the product, please contact
our service team before returning your product.
Our service mail: [email protected]
Frequently asked questions can be found at imoulife.com/support/help
Package content

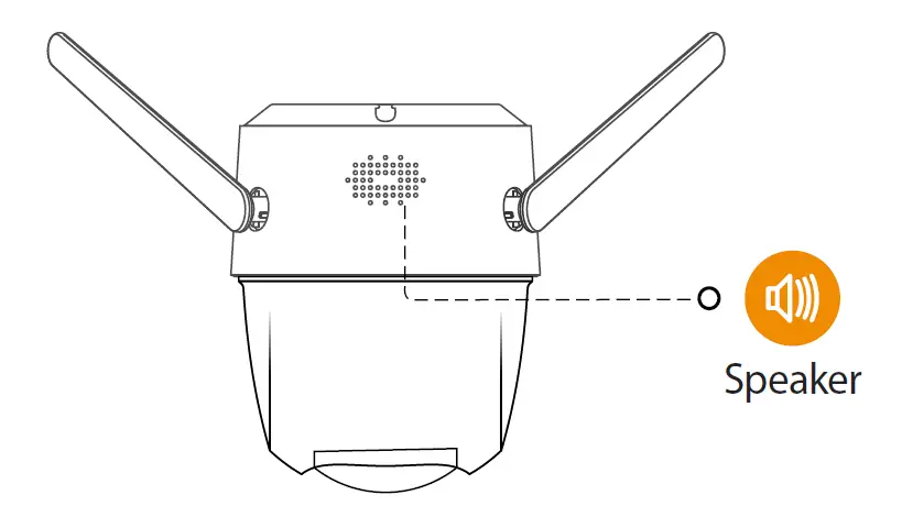
Camera introduction
Note:
Disconnect the camera from the power before installation or taking out its SD card.
Note:
- Press and hold the reset button for 10 s to reset the camera.
- Double-press the reset button to enable camera’s hotspot.
See the table below for definitions of camera’s LED behaviors.
LED Indicator Status/ Device Status
- off
- Power off/LED turned off
- Rebooting after reset
- Solid red
- Booting
- Device malfunction
- Flashing red
- Network connection failed
- Pairing falied
- Flashing green
- Ready for network configuration
- Ready to pair
- Solid green
- Operating properly
- Flashing green and red alternately
- Updating firmware
- Download the APP
Tips
- Add device to the APP

- Installing Camera
Note: Make sure that the mounting surface is strong enough to hold at least three times the weight of the camera and the bracket.
Ceiling Mount

- Peel off the U-shaped mounting template and stick it to the desired installation area.
- Drill holes into the mounting surface as the mounting template marks and then insert wall anchors as needed.
- Secure the mounting bracket to the surface with included mounting screws.
- Align
on the top of the camera with
on the bracket, then fit the two parts together. - Rotate the camera counterclockwise until it is locked. Make sure align with
. - Power on the camera and then adjust its angle properly.
Wall Mount

- Peel off the rectangular mounting template and stick it to the desired installation area.
- Drill holes into the mounting surface as the mounting template marks and then insert wall anchors as needed.
- Secure the mounting bracket to the surface with included mounting screws.
- Align
on the top of the camera with
on the bracket, then fit the two parts together. - Rotate the camera counterclockwise until it is locked. Make sure
align with 
- Power on the camera and then adjust its angle properly.
Pole Mount
Note:
- Make sure that the pole is strong enough to hold at least three times the weight of the camera and the bracket.
- The hoops are not provided. Please prepare them in advance.

- Thread the hoop through the mounting holes on the bracket, then attach the bracket to the pole.
- Align
on the top of the camera with
on the bracket, then fit the two parts together. - Rotate the camera counterclockwise until it is locked. Make sure
align with
. - Power on the camera and then adjust its angle properly.
Troubleshooting
| Question | Answer |
| The device cannot boot up or work as expected? | Check the LED indicator status. If the light is not in green, press and hold the reset button for 10 s to reset the camera. |
| How to connect the camera to another Wi-Fi network? | If the camera is online, select Device Details > Network Config to change the Wi-Fi connection on the app. If the camera is offline, reset the camera, and then configure the camera again. |
|
Connection takes too long? | Check if the distance between the camera and the router, and that between the camera and the smart phone is both within 5 m (16.4 ft) during the connection. Check the Wi-Fi configuration of the router: Select the channel to auto, and the mode to 11bgn mixed. |
| When the micro SD card is full, how is the recorded video saved? | When the micro SD card is full, the system will overwrite the previous recorded videos. Save the important information in time. |
| Where are the recorded videos saved? | If you have activated the cloud storage and installed a micro SD card, \ the recordings will be both saved to the card and cloud. If the cloud storage is deactivated, the recordings are saved to the SD card. Videos recorded during live view or playback is saved on your phone. |
|
The device is offline? | Check the indicator status: Solid green: Check whether the router can connect to the Internet. If the network is connected, restart the camera. Flashing red: Reset the camera, and then configure the camera again. Solid red: The camera is faulty. |
E [email protected]
W www.imoulife.com

Package content
Tips

on the bracket, then fit the two parts together.
on the bracket, then fit the two parts together.
on the bracket, then fit the two parts together.


















