Retrofitlab D2s Extension Cable Instructions

Retrofitlab D2s Extension Cable Instructions

RETROFITLAB logoD2S Extension Cable
InstructionsRETROFITLAB D2S Extension CableInstructions

D2S EXTENSION CABLE

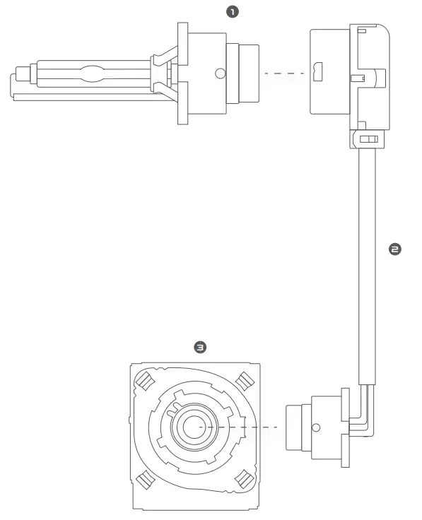
  1. RETROFITLAB D2S Extension Cable 1 D2S HID/XENON BULB
  2. D2S EXTENSION CABLE
  3. OEM D2S HID/XENON IGNITOR

RETROFITLAB logoWWW.RETROFITLAB.COM

References

Documents / Resouces

Download manual
Here you can download full pdf version of manual, it may contain additional safety instructions, warranty information, FCC rules, etc.


Related Manuals