Livoo DOC286 Fire Pit
Product Information
The product is a fire pit made by the LIVOO brand. The instruction manual has the reference number DOC286 1.5 and is available in English. The product is designed with a ring (1) and an anti-spark hood, feet (6) and (8), a fire pit structure (7), a fire pit bowl (4), and a grid (3). The product is designed to be
used outdoors and is not recommended for use in closed rooms. The user should not use alcohol or petrol for lighting or relighting and should only use firelighters complying to EN 1860-3. The user should keep children and pets away from the product. The metal part of the product should not be cleaned or touched when it is still hot.
Product Usage Instructions
- Remove all parts of the packaging and check them for completeness.
- Set the ring (1) on the anti-spark hood with the provided nut (B).
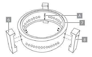
- Set the feet (6) and (8) to the fire pit structure (7) using the provided screws (A).
- Set the fire pit bowl (4) on the structure assembled with feet.
- Set the grid (3) on top of the fire pit bowl.
- Use firelighters complying to EN 1860-3 to light the fire pit.
- Do not use alcohol or petrol for lighting or relighting.
- Do not use abrasive cleaners to clean the product.
- Do not use water on the appliance while hot as this will damage the finish.
- Never immerse the product in water.
- Keep children and pets away from the product.
GENERAL SAFETY INSTRUCTIONS
PLEASE READ THESE INSTRUCTIONS CAREFULLY BEFORE USING THE APPLIANCE AND SAVE IT FOR ANY FURTHER NEED.
Incorrect operation or usage is likely to cause damage to the appliance and injure the user. Make sure that you follow all safety instructions. Only use this appliance for the purpose for which it has been designed; we decline all responsibility in the event of damage due to incorrect use or bad handling.
- The barbecue must be installed on a stable horizontal surface before use.
- Heat up your fire pit gradually during the first few uses and do not overload the tank with fuel.
- The barbecue must be heated and the fuel kept glowing for at least 30 minutes before the first cooking.
- Only use charcoal and wood as fuel in the firebox. The fuel must not prevent the grill from being placed properly.
- Before starting to cook, wait for a layer of ash to cover the fuel.
- Warning: The temperature of the barbecue will become very high. Do not move it when operating.
- Do not use in closed rooms!
- WARNING! Do not use alcohol or petrol for lighting or relighting! Use only firelighters complying to EN 1860-3!
- WARNING! Keep children and pets away
- Do not use the fire pit in confined and/or habitable spaces, e.g. houses, tents, caravans, motor homes, boats. Risk of death from carbon monoxide poisoning.
- Find out what rules apply to the use of fire pit! Some municipalities prohibit their use, especially in summer in dry areas, because of the risk of fire.
- The safety instructions do not completely eliminate the specified hazards and do not dispense with the usual preventive measures.
- Never leave the appliance unattended during use.
- Only use the appliance for domestic purposes and in the way indicated in the instructions.
- It is recommended that you start the appliance with a small fire of about 10 minutes each time, so that the fire pit can relax properly.
- It is not necessary to overload your fire pit with either wood or charcoal to obtain maximum performance.
- In winter, it is recommended to store the fire pit indoors so that it is protected from frost and sub-zero temperatures.
- It is imperative to protect your fire pit from the weather so that it does not become waterlogged.
- Keep the instructions with the appliance. If the appliance is to be used by a third party, this instruction manual must be provided.
- This fire pit is designed for outdoor use only. Indoors, toxic fumes would accumulate and could cause serious injury or death.
- Do not use the appliance within 50 metres of combustible materials. These include but are not limited to, treated wood or wood decks, patios or verandas.
- Do not wear clothes with wide, loose sleeves when lighting and using the appliance.
- Do not use the appliance in strong winds.
- Do not extinguish your fire pit with water as this would be fatal. Use sand instead.
Warning: Caution hot surface!
DO NOT CLEAN OR TOUCH the metals part of this product when it is still hot 
DESCRIPTION

ASSEMBLY INSTRUCTION

- To assure fast and easy assembly. Follow the instructions below in their proper sequence. Remove all parts of the packaging, check them of completeness.
- Set the ring (1) on the anti-spark hood with the provided nut (B).
- Set the feet (6) and (8) to the fire pit structure (7) using the provided screws (A).

- Set the fire pit bowl (4) on the structure assembled with feet. Then set the grid (3).

CLEANING
- Never use abrasive cleaners.
- Do not use water on the appliance while hot as this will damage the finish
- Never immerse in water.
Pour en savoir plus
www.quefairedemesdechets.fr



















