makita DUH523F001 52cm 18V 1 x 3.0Ah Li-Ion LXT Cordless Hedge Trimmer

SPECIFICATIONS
| Model | DUH483 | DUH523 |
| Blade length | 480 mm | 520 mm |
| Strokes per minute (min-1) | 1,350 | |
| Rated voltage | D.C. 18 V | |
| Overall length (Depending on the battery) | 873 – 888 mm | 923 – 938 mm |
| Net weight | 3.0 – 3.3 kg | 3.0 – 3.4 kg |
- Due to our continuing program of research and development, the specifications herein are subject to change without notice.
- Specifications may differ from country to country.
- The weight may differ depending on the attachment(s), including the battery cartridge. The lightest and heaviest combination, according to EPTA-Procedure 01/2014, are shown in the table.
Applicable battery cartridge and charger
| Battery cartridge | BL1815N / BL1820B / BL1830B / BL1840B / BL1850B / BL1860B |
| Charger | DC18RC / DC18RD / DC18RE / DC18SD / DC18SE / DC18SF / DC18SH / DC18WC |
- Some of the battery cartridges and chargers listed above may not be available depending on your region of residence.
Recommended battery adapter
| Battery adapter | PDC01 |
- he battery adapter(s) listed above may not be available depending on your region of residence.
- Before using the battery adapter, read instruction and cautionary markings on the battery adapter
Symbols
The followings show the symbols which may be used for the equipment. Be sure that you understand their meaning before use
![]() | Read instruction manual. |
![]() | Do not expose to moisture. |
![]() | Wear eye protection. |
![]() | DANGER – Keep hands away from blade |
Only for EU countries
Due to the presence of hazardous components in the equipment, waste electrical and electronic equipment, accumulators and batteries may have a negative impact on the environment and human health.
Do not dispose of electrical and electronic appliances or batteries with household waste!
In accordance with the European Directive on waste electrical and electronic equipment and on accumulators and batteries and waste accumulators and batteries, as well as their adaptation to national law, waste electrical equipment, batteries and accumulators should be stored separately and delivered to a separate collection point for municipal waste, operating in accordance with the regulations on environmental protection.
This is indicated by the symbol of the crossed-out wheeled bin placed on the equipment.
![]() | Guaranteed sound power level according to EU Outdoor Noise Directive. |
![]() | Sound power level according to Australia NSW Noise Control Regulation |
Intended use
The tool is intended for trimming hedges.
Noise
The typical A-weighted noise level determined according to EN62841-4-2:
Model DUH483
Sound pressure level (LpA) : 73 dB(A)
Uncertainty (K) : 3.9 dB(A)
Model DUH523
Sound pressure level (LpA) : 73 dB(A)
Uncertainty (K) : 4.3 dB(A)
The noise level under working may exceed 80 dB (A).
| NOTE: The declared noise emission value(s) has been measured in accordance with a standard test method and may be used for comparing one tool with another. NOTE: The declared noise emission value(s) may also be used in a preliminary assessment of exposure. |
Vibration
The vibration total value (tri-axial vector sum) determined according to EN62841-4-2: Vibration emission (ah) : 2.5 m/s2 or less Uncertainty (K) : 1.5 m/s
| NOTE: The declared vibration total value(s) has been measured in accordance with a standard test method and may be used for comparing one tool with another. NOTE: The declared vibration total value(s) may also be used in a preliminary assessment of exposure. |
EC Declaration of Conformity
For European countries only
The EC declaration of conformity is included as Annex A to this instruction manual.
General power tool safety warnings
Save all warnings and instructions for future reference.
The term “power tool” in the warnings refers to your mains-operated (corded) power tool or battery-operated (cordless) power tool.
Work area safety
- Keep work area clean and well lit. Cluttered or dark areas invite accidents.
- Do not operate power tools in explosive atmospheres, such as in the presence of flammable liquids, gases or dust. Power tools create sparks which may ignite the dust or fumes.
- Keep children and bystanders away while operating a power tool. Distractions can cause you to lose control.
Electrical safety
- Power tool plugs must match the outlet. Never modify the plug in any way. Do not use any adapter plugs with earthed (grounded) power tools. Unmodified plugs and matching outlets will reduce risk of electric shock.
- Avoid body contact with earthed or grounded surfaces, such as pipes, radiators, ranges and refrigerators. There is an increased risk of electric shock if your body is earthed or grounded.
- Do not expose power tools to rain or wet conditions. Water entering a power tool will increase the risk of electric shock.
- Do not abuse the cord. Never use the cord for carrying, pulling or unplugging the power tool.
Keep cord away from heat, oil, sharp edges or moving parts. Damaged or entangled cords increase the risk of electric shock. - When operating a power tool outdoors, use an extension cord suitable for outdoor use. Use of a cord suitable for outdoor use reduces the risk of electric shock.
- If operating a power tool in a damp location is unavoidable, use a residual current device (RCD) protected supply. Use of an RCD reduces the risk of electric shock.
- Power tools can produce electromagnetic fields (EMF) that are not harmful to the user. However, users of pacemakers and other similar medical devices should contact the maker of their device and/or doctor for advice before operating this power tool.
Personal safety
- Stay alert, watch what you are doing and use common sense when operating a power tool.
Do not use a power tool while you are tired or under the influence of drugs, alcohol or medication. A moment of inattention while operating power tools may result in serious personal injury. - Use personal protective equipment. Always wear eye protection. Protective equipment such as a dust mask, non-skid safety shoes, hard hat or hearing protection used for appropriate conditions will reduce personal injuries.
- Prevent unintentional starting. Ensure the switch is in the off-position before connecting to power source and/or battery pack, picking up or carrying the tool. Carrying power tools with your finger on the switch or energising power tools that have the switch on invites accidents.
- Remove any adjusting key or wrench before turning the power tool on. A wrench or a key left attached to a rotating part of the power tool may result in personal injury.
- Do not overreach. Keep proper footing and balance at all times. This enables better control of the power tool in unexpected situations.
- Dress properly. Do not wear loose clothing or jewellery. Keep your hair and clothing away from moving parts. Loose clothes, jewellery or long hair can be caught in moving parts.
- If devices are provided for the connection of dust extraction and collection facilities, ensure these are connected and properly used. Use of dust collection can reduce dust-related hazards.
- Do not let familiarity gained from frequent use of tools allow you to become complacent and ignore tool safety principles. A careless action can cause severe injury within a fraction of a second.
- Always wear protective goggles to protect your eyes from injury when using power tools. The goggles must comply with ANSI Z87.1 in the USA, EN 166 in Europe, or AS/NZS 1336 in Australia/New Zealand. In Australia/New Zealand, it is legally required to wear a face shield to protect your face, too.

It is an employer’s responsibility to enforce the use of appropriate safety protective equipments by the tool operators and by other persons in the immediate working area.
Power tool use and care
- Do not force the power tool. Use the correct power tool for your application. The correct power tool will do the job better and safer at the rate for which it was designed.
- Do not use the power tool if the switch does not turn it on and off. Any power tool that cannot be controlled with the switch is dangerous and must be repaired.
- Disconnect the plug from the power source and/or remove the battery pack, if detachable, from the power tool before making any adjustments, changing accessories, or storing power tools. Such preventive safety measures reduce the risk of starting the power tool accidentally.
- Store idle power tools out of the reach of children and do not allow persons unfamiliar with the power tool or these instructions to operate the power tool. Power tools are dangerous in the hands of untrained users.
- Maintain power tools and accessories. Check for misalignment or binding of moving parts, breakage of parts and any other condition that may affect the power tool’s operation. If damaged, have the power tool repaired before use. Many accidents are caused by poorly maintained power tools.
- Keep cutting tools sharp and clean. Properly maintained cutting tools with sharp cutting edges are less likely to bind and are easier to control.
- Use the power tool, accessories and tool bits etc. in accordance with these instructions, taking into account the working conditions and the work to be performed. Use of the power tool for operations different from those intended could result in a hazardous situation.
- Keep handles and grasping surfaces dry, clean and free from oil and grease. Slippery handles and grasping surfaces do not allow for safe handling and control of the tool in unexpected situations.
- When using the tool, do not wear cloth work gloves which may be entangled. The entanglement of cloth work gloves in the moving parts may result in personal injury
Battery tool use and care
- Recharge only with the charger specified by the manufacturer. A charger that is suitable for one type of battery pack may create a risk of fire when used with another battery pack.
- Use power tools only with specifically designated battery packs. Use of any other battery packs may create a risk of injury and fire.
- When battery pack is not in use, keep it away from other metal objects, like paper clips, coins, keys, nails, screws or other small metal objects, that can make a connection from one terminal to another. Shorting the battery terminals together may cause burns or a fire.
- Under abusive conditions, liquid may be ejected from the battery; avoid contact. If contact accidentally occurs, flush with water. If liquid contacts eyes, additionally seek medical help. Liquid ejected from the battery may cause irritation or burns.
- Do not use a battery pack or tool that is damaged or modified. Damaged or modified batteries may exhibit unpredictable behaviour resulting in fire, explosion or risk of injury.
- Do not expose a battery pack or tool to fire or excessive temperature. Exposure to fire or temperature above 130 °C may cause explosion.
- Follow all charging instructions and do not charge the battery pack or tool outside the temperature range specified in the instructions. Charging improperly or at temperatures outside the specified range may damage the battery and increase the risk of fire.
Service
- Have your power tool serviced by a qualified repair person using only identical replacement parts. This will ensure that the safety of the power tool is maintained.
- Never service damaged battery packs. Service of battery packs should only be performed by the manufacturer or authorized service providers.
- Follow instruction for lubricating and changing accessories.
Cordless Hedge Trimmer Safety Warnings
- Keep all parts of the body away from the blade. Do not remove cut material or hold material to be cut when blades are moving. Blades continue to move after the switch is turned off. A moment of inattention while operating the hedge trimmer may result in serious personal injury.
- Carry the hedge trimmer by the handle with the blade stopped and taking care not to operate any power switch. Proper carrying of the hedge trimmer will decrease the risk of inadvertent starting and resultant personal injury from the blades.
- When transporting or storing the hedge trimmer, always fit the blade cover. Proper handling of the hedge trimmer will decrease the risk of personal injury from the blades.
- When clearing jammed material or servicing the unit, make sure all power switches are off and the battery pack is removed or disconnected. Unexpected actuation of the hedge trimmer while clearing jammed material or servicing may result in serious personal injury.
- old the hedge trimmer by insulated gripping surfaces only, because the blade may contact hidden wiring. Blades contacting a “live” wire may make exposed metal parts of the hedge trimmer “live” and could give the operator an electric shock.
- Keep all power cords and cables away from cutting area. Power cords or cables may be hidden in hedges or bushes and can be accidentally cut by the blade.
- Do not use the hedge trimmer in bad weather conditions, especially when there is a risk of lightning. This decreases the risk of being struck by lightning.
Additional Safety Instructions
Preparation
- Check the hedges and bushes for foreign objects, such as wire fences or hidden wiring before operating the tool.
- The tool must not be used by children or young persons under 18 years of age. Young persons over 16 years of age may be exempted from this restriction if they are undergoing training under the supervision of an expert.
- First-time users should have an experienced user show them how to use the tool.
- Use the tool only if you are in good physical condition. If you are tired, your attention will be reduced. Be especially careful at the end of a working day. Perform all work calmly and carefully. The user is responsible for all damages to third parties.
- Never use the tool when under the influence of alcohol, drugs or medication.
- Work gloves of stout leather are part of the basic equipment of the tool and must always be worn when working with it. Also wear sturdy shoes with anti-skid soles.
- Before starting work check to make sure that the tool is in good and safe working order. Ensure guards are fitted properly. The tool must not be used unless fully assembled.
Operation
- Hold the tool firmly with both hands when using the tool.
- The tool is intended to be used by the operator at ground level. Do not use the tool on ladders or any other unstable support.
- DANGER – Keep hands away from blade. Contact with blade will result in serious personal injury.
- Do not use the tool in the rain or in wet or very damp conditions. The electric motor is not waterproof.
- Make sure you have a secure footing before starting operation.
- Do not operate the tool at no-load unnecessarily.
- Immediately switch off the tool and remove the battery cartridge if the shear blades should come into contact with a fence or other hard object. Check the blades for damage, and if damaged, replace the blades immediately.
- Before checking the shear blades, taking care of faults, or removing material caught in the shear blades, always switch off the tool and remove the battery cartridge.
- Never point the shear blades to yourself or others.
- If the blades stop moving due to the stuck of foreign objects between the blades during operation, switch off the tool and remove the battery cartridge, and then remove the foreign objects using tools such as pliers. Removing the foreign objects by hand may cause an injury for the reason that the blades may move in reaction to removing the foreign objects.
- Avoid dangerous environment. Don’t use the tool in damp or wet locations or expose it to rain. Water entering the tool will increase the risk of electric shock.
Maintenance and storage
- Switch off the tool and remove the battery cartridge before doing any maintenance work.
- When moving the tool to another location, including during work, always remove the battery cartridge and put the blade cover on the shear blades. Never carry or transport the tool with the blades running. Never grasp the blades with your hands.
- Clean the tool and especially the shear blades after use, and before putting the tool into storage for extended periods. Lightly oil the blades and put on the blade cover.
- Store the tool with the blade cover on, in a dry room. Keep it out of reach of children. Never store the tool outdoors.
- Do not dispose of the battery(ies) in a fire. The cell may explode. Check with local codes for possible special disposal instructions.
- Do not open or mutilate the battery(ies). Released electrolyte is corrosive and may cause damage to the eyes or skin. It may be toxic if swallowed.
- Do not charge battery in rain, or in wet locations.
SAVE THESE INSTRUCTIONS.
| WARNING: DO NOT let comfort or familiarity with product (gained from repeated use) replace strict adherence to safety rules for the subject product. MISUSE or failure to follow the safety rules stated in this instruction manual may cause serious personal injury. Important safety in |
Important safety instructions for battery cartridge
- Before using battery cartridge, read all instructions and cautionary markings on (1) battery charger, (2) battery, and (3) product using battery.
- Do not disassemble or tamper with the battery cartridge. It may result in a fire, excessive heat, or explosion.
- If operating time has become excessively shorter, stop operating immediately. It may result in a risk of overheating, possible burns and even an explosion.
- If electrolyte gets into your eyes, rinse them out with clear water and seek medical attention right away. It may result in loss of your eyesight.
- Do not short the battery cartridge:
- Do not touch the terminals with any conductive material.
- Avoid storing battery cartridge in a container with other metal objects such as nails, coins, etc.
- Do not expose battery cartridge to water or rain. A battery short can cause a large current flow, overheating, possible burns and even a breakdown.
- Do not store and use the tool and battery cartridge in locations where the temperature may reach or exceed 50 °C (122 °F).
- Do not incinerate the battery cartridge even if it is severely damaged or is completely worn out. The battery cartridge can explode in a fire.
- Do not nail, cut, crush, throw, drop the battery cartridge, or hit against a hard object to the battery cartridge. Such conduct may result in a fire, excessive heat, or explosion.
- Do not use a damaged battery.
- The contained lithium-ion batteries are subject to the Dangerous Goods Legislation requirements For commercial transports e.g. by third parties, forwarding agents, special requirement on packaging and labeling must be observed. For preparation of the item being shipped, consulting an expert for hazardous material is required. Please also observe possibly more detailed national regulations. Tape or mask off open contacts and pack up the battery in such a manner that it cannot move around in the packaging.
- When disposing the battery cartridge, remove it from the tool and dispose of it in a safe place. Follow your local regulations relating to disposal of battery.
- Use the batteries only with the products specified by Makita. Installing the batteries to non-compliant products may result in a fire, excessive heat, explosion, or leak of electrolyte.
- If the tool is not used for a long period of time, the battery must be removed from the tool.
- During and after use, the battery cartridge maytake on heat which can cause burns or low temperature burns. Pay attention to the handling of hot battery cartridges.
- Do not touch the terminal of the tool immediately after use as it may get hot enough to cause burns.
- Do not allow chips, dust, or soil stuck into the terminals, holes, and grooves of the battery cartridge. It may result in poor performance or breakdown of the tool or battery cartridge.
- Unless the tool supports the use near high-voltage electrical power lines, do not use the battery cartridge near high-voltage electrical power lines. It may result in a malfunction or breakdown of the tool or battery cartridge.
- Keep the battery away from children.
SAVE THESE INSTRUCTIONS.
Tips for maintaining maximum battery life
- Charge the battery cartridge before completely discharged. Always stop tool operation and charge the battery cartridge when you notice less tool power.
- Never recharge a fully charged battery cartridge. Overcharging shortens the battery service life.
- Charge the battery cartridge with room temperature at 10 °C – 40 °C (50 °F – 104 °F). Let a hot battery cartridge cool down before charging it.
- When not using the battery cartridge, remove it from the tool or the charger.
- Charge the battery cartridge if you do not use it for a long period (more than six months).
FUNCTIONAL DESCRIPTION
CAUTION:
- Always be sure that the tool is switched off and the battery cartridge is removed before adjusting or checking function on the tool.
Installing or removing battery cartridge

- 1. Red indicator 2. Button 3. Battery cartridge
|
To remove the battery cartridge, slide it from the tool while sliding the button on the front of the cartridge.
To install the battery cartridge, align the tongue on the battery cartridge with the groove in the housing and slip it into place. Insert it all the way until it locks in place with a little click. If you can see the red indicator on the upper side of the button, it is not locked completely.
|
Battery protection system ( Lithium ion battery with star marking)

- Star marking
Lithium-ion batteries with a star marking are equipped with a protection system. This system automatically cuts off power to the tool to extend battery life.
The tool will automatically stop during operation if the tool and/or battery are placed under one of the following conditions
- Overloaded:
The tool is operated in a manner that causes it to draw an abnormally high current.
In this situation, release the switch trigger on the tool and stop the application that caused the tool to become overloaded. Then pull the switch trigger again to restart.
If the tool does not start, the battery is overheated. In this situation, let the battery cool before pulling the switch trigger again. - Low battery voltage:
The remaining battery capacity is too low and the tool will not operate. In this situation, remove and recharge the battery.
Indicating the remaining battery capacity
(Only for battery cartridges with “B” at the end of the model number.

- 1. Indicator lamps 2. CHECK button
Press the check button on the battery cartridge to indicate the remaining battery capacity. The indicator lamps light up for few seconds
| Indicator lamps | Remaining capacity | ||
|
|
| |
![]() | 75% to 100% | ||
![]() | 50% to 75% | ||
![]() | 25% to 50% | ||
| 0% to 25% | ||
![]() | Charge the battery. | ||
![]() | The battery may have malfunctioned. | ||
NOTE:
|
Switch action
|

- 1. Switch trigger A 2. Switch trigger B 3. Lock-off button
For your safety, this tool is equipped with a dual switching system. To turn on the tool, press the lock-off button and triggers A and B. Release either one of the two pressed triggers to turn off. The sequence of switching is unimportant as the tool only starts when both switches are activated.
Indication lamp

- 1. Indication lamp
Running the tool allows the indication lamp to show the battery cartridge capacity status.
When the tool is also overloaded and has stopped during operation, the lamp lights up in red.
Refer to the following table for the status and action to be taken for the indication lamp
| Indication lamp | Status | Action to be taken |
| The lamp blinks in red. | This indicates the appropriate time to replace the battery cartridge when the battery power becomes low. | Recharge the battery cartridge as soon as possible. |
| The lamp lights up in red. (Note 1) | This function works when the battery power is almost used up. At this time, tool stops immediately. | Recharge the battery cartridge. |
| The lamp lights up in red. (Note 1) | Autos top due to overload. | Turn off the tool. |
Note 1: The time at which the indication lamp lights up varies by the temperature around the work area and the battery cartridge conditions.
OPERATION
|
NOTICE: Do not attempt to cut branches thicker than 10 mm in diameter with the tool. Cut branches to 10 cm lower than the cutting height using branch cutters before using the tool.

(1) Cutting height (2) 10 cm
CAUTION:
- Do not cut off dead trees or similar hard objects. Failure to do so may damage the tool.

Hold the trimmer with both hands and pull the switch trigger A or B and then move it in front of your body.

- 1. Trimming direction 2. Hedge surface to be trimmed 3. Tilt the blades
As a basic operation, tilt the blades towards the trimming direction and move it calmly and slowly at the speed rate of 3 – 4 seconds per meter.

- 1. String
To cut a hedge top evenly, it helps to tie a string at the desired hedge height and to trim along it, using it as a reference line

Attaching the chip receiver (optional accessory) on the tool when trimming the hedge straight can avoid cut off leaves’ being thrown away.

To cut a hedge side evenly, it helps to cut from the bottom upwards.

Trim boxwood or rhododendron from the base toward the top for a nice appearance and good job.
Installing or removing chip receiver (optional accessory)
|
NOTE:
|

- 1. Press 2. Chip receiver 3. Nut 4. Shear blade
Press the chip receiver on the shear blades so that its slits overlap with the nuts on the shear blades.

- 1. Hooks 2. Fit the hooks into groove 3. Grooves
At this time, the chip receiver needs to be installed so that its hooks fit into grooves in the shear blade unit.

- 1. Press the levers on both sides 2. Unlock the hooks
To remove the chip receiver, press its lever on both sides so that the hooks are unlocked
CAUTION:
|
|
MAINTENANCE
|
Cleaning the tool
Clean out the tool by wiping off dust with a dry or soapdipped rag.
|
Blade maintenance
Smear the blade before and once per hour during operation using machine oil or the like
NOTE:
|
After operation, remove dust from both sides of the blade with wired brush, wipe it off with a rag and then apply enough low-viscosity oil, such as machine oil etc. and spray-type lubricating oil.
CAUTION:
|
Removing or installing shear blade
|
NOTE:
|
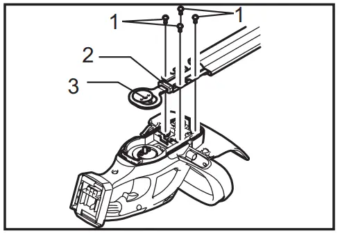
Removing the shear blades

- 1. Screws 2. Under cover
Reverse the tool and loosen four screws and remove the under cover.
NOTE:
|

- 1. Screws 2. Sponge 3. Washer
Loosen four screws and remove the blades. Remove the washer and sponge from the shear blades and put them aside. They are required for the later installation.

- 1. Gear 2. Sleeves 3. Washer 4. Groove
If the sleeves are still left in the holes of the gear, remove the gear and push the sleeves out of it with a screwdriver or the like.
NOTE: The washer underneath the gear may come off by mistake when removing the gear. In this case, return it to the original position as it was installed.
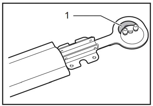
Installing the shear blade

- 1. Blade cove
Remove the blade cover from the old shear blades and fit it onto the new ones to avoid contact with blades.

Adjust the hole positions by turning the gear as illustrated

- 1. Grease

- 1. Grease
Apply some grease provided with the new shear blades as illustrated.

- 1. Blade 2. Sponge 3. Sleeves
Put the removed sponge in the same position as the old one. Make sure that the sleeves provided with the new shear blades are put on the pins of the blade. Place the new shear blades on the tool so that the pins fit in the holes of the gear. If the sleeves on the pins come off mistakenly, put them into the holes of the gear beforehand.

- 1. Screws 2. Washer
Install the blade and tighten the four screws and put the removed washer in the same position as the old one.

- 1. Screws
Install the under cover on the tool and tighten the four screws firmly.
Storage
The hook hole in the tool bottom is convenient for hanging the tool from a nail or screw on the wall.
Remove the battery cartridge and put the blade cover on the shear blades so that the blades are not exposed. Store the tool out of the reach of children carefully. Store the tool in the place not exposed to water and rain.
To maintain product SAFETY and RELIABILITY, repairs, any other maintenance or adjustment should be performed by Makita Authorized Service Centers, always using Makita replacement parts.
OPTIONAL ACCESSORIES
|
If you need any assistance for more details regarding these accessories, ask your local Makita Service Center.
- Blade cover
- Shear blade assembly
- Makita genuine battery and charger
- Chip receiver
NOTE:
|
Makita Europe N.V.
Jan-Baptist Vinkstraat 2,
3070 Kortenberg, Belgium
Makita Corporation
3-11-8, Sumiyoshi-cho,
Anjo, Aichi 446-8502 Japan








Lighted
Off

























