
DUH551 Cordless Hedge Trimmer
Instruction Manual
Cordless Hedge Trimmer
Taille-haie sans fil
DUH551
DUH651
(Original instructions)
SPECIFICATIONS
| Model | DUH551 | DUI-1651 | ||
| Blade length | 550 mm (21-5/8″) | 650 mm (25-1/2″) | ||
| Strokes per minute (RPM) | 1,000 /min – 1,800 /min | |||
| Overall length | 1,065 mm (42″) | 1,135 mm or 1,233 mm (44-3/4″or 48-1/2″) (country specific) | ||
| Rated voltage | D.C. 36 V | |||
| Standard battery cartridge(s) 4AWaming: Use only the battery(ies) described. | BL1815N/ BL1820 | BL1830/BL1840/ BL1850 | BL1815N/ BL1820 | BL1830/BL1840/ BL1850 |
| Net weight | 4.6 kg (10.2 Ibs) | 5.1 kg (11.3 Ibs) | 4.7 kg (10.3 Ibs) | 5.2 kg (11.4 Ibs) |
- Due to our continuing program of research and development, the specifications herein are subject to change without notice.
- Specifications and battery cartridges may differ from country to country.
- Weight, with battery cartridge, according to EPTA-Procedure 01/2003
General Power Tool Safety
Warnings
WARNING Read all safety warnings and all instructions. Failure to follow the warnings and instructions may result in electric shock, fire, and/or serious injury.
Save all warnings and instructions for future reference.
The term “power tool” in the warnings refers to your mains-operated (corded) power tool or battery-operated (cordless) power tool.
Work area safety
- Keep the work area clean and well-lit. Cluttered or dark areas invite accidents.
- Do not operate power tools in explosive atmospheres, such as in the presence of flammable liquids, gases or dust. Power tools create sparks that may ignite dust or fumes.
- Keep children and bystanders away while operating a power tool. Distractions can cause you to lose control.
Electrical safety - Power tool plugs must match the outlet. Never modify the plug in any way. Do not use any adapter plugs with earthed (grounded) power tools. Unmodified plugs and matching outlets will reduce the risk of electric shock.
- Avoid body contact with earthed or grounded surfaces such as pipes, radiators, ranges, and refrigerators. There is an increased risk of electric shock if your body is earthed or grounded.
- Do not expose power tools to rain or wet conditions. Water entering a power tool will increase the risk of electric shock. |
- Do not abuse the cord. Never use the cord for carrying, pulling or unplugging the power tool. Keep cord away from heat, oil, sharp edges or moving parts. Damaged or entangled cords increase the risk of electric shock.
- When operating a power tool outdoors, use an extension cord suitable for outdoor use. The use of a cord suitable for outdoor use reduces the risk of electric shock.
- If operating a power tool in a damp location is unavoidable, use a ground fault circuit interrupter (GFCI) protected supply. The use of a GFCI reduces the risk of electric shock.
Personal safety - Stay alert, watch what you are doing, and use common sense when operating a power tool. Do not use a power tool while you are tired or under the influence of drugs, alcohol, or medication. A moment of inattention while operating power tools may result in serious personal injury.
- Use personal protective equipment. Always wear eye protection. Protective equipment such as dust masks, non-skid safety shoes, hard hats, or hearing protection used for appropriate conditions will reduce personal injuries.
- Prevent unintentional starting. Ensure the switch is in the off-position before connecting to the power source and/or battery pack, picking up or carrying the tool. Carrying power tools with your finger on the switch or energizing power tools that have the switch on invites accidents.
- Remove any adjusting key or wrench before turning the power tool on. A wrench or a key left attached to a rotating part of the power tool may result in personal injury.
- Do not overreach. Keep proper footing and balance at all times. This enables better control of the power tool in unexpected situations.
- Dress properly. Do not wear loose clothing or jewelry. Keep your hair, clothing, and gloves away from moving parts. Loose clothes, jewelry, or long hair can be caught in moving parts.
- If devices are provided for the connection of dust extraction and collection facilities, ensure these are connected and properly used. The use of dust collection can reduce dust-related hazards.
Power tool use and care - Do not force the power tool. Use the correct power tool for your application. The correct power tool will do the job better and safer at the rate at which it was designed.
- Do not use the power tool if the switch does not turn it on and off. Any power tool that cannot be controlled with the switch is dangerous and must be repaired.
- Disconnect the plug from the power source and/or the battery pack from the power tool before making any adjustments, changing accessories, or storing power tools. Such
preventive safety measures reduce the risk of starting the power tool accidentally. - Store idle power tools out of the reach of children and do not allow persons unfamiliar with the power tool or these instructions to operate the power tool. Power tools are
dangerous in the hands of untrained users. - Maintain power tools. Check for misalignment or binding of moving parts, breakage of parts, and any other condition that may affect the power tool’s operation. If damaged, have the power tool repaired before use. Many accidents are caused by poorly maintained power tools.
- Keep cutting tools sharp and clean. Properly maintained cutting tools with sharp cutting edges are less likely to bind and are easier to control.
- Use the power tool, accessories and tool bits, etc. in accordance with these instructions, taking into account the working conditions and the work to be performed. Use of the power tool for operations different from those intended could result in a hazardous situation.
Battery tool use and care - Recharge only with the charger specified by the manufacturer. A charger that is suitable for one type of battery pack may create a risk of fire when used with another battery pack.
- Use power tools only with specifically designated battery packs. The use of any other battery packs may create a risk of injury and fire.
- When the battery pack is not in use, keep it away from other metal objects, like paper clips, coins, keys, nails, screws, or other small metal objects, that can make a connection from one terminal to another. Shorting the battery terminals together may cause burns or a fire.
- Under abusive conditions, liquid may be ejected from the battery; avoid contact. If contact accidentally occurs, flush with water. If liquid contacts the eyes, additionally seek medical help. Liquid ejected from the battery may cause irritation or burns.
Service - Have your power tool serviced by a qualified repair person using only identical replacement parts. This will ensure that the safety of the power tool is maintained.
- Follow instructions for lubricating and changing accessories.
- Keep handles dry, clean, and free from oil and grease.
HEDGE TRIMMER SAFETY WARNINGS
- Keep all parts of the body away from the cutter blade. Do not remove cut material or hold material to be cut when blades are moving. Make sure the switch is off when clearing jammed material. Blades coast after turn-off. A moment of inattention while operating the hedge trimmer may result in serious personal injury.
- Carry the hedge trimmer by the handle with the cutter blade stopped. Proper handling of the hedge trimmer will reduce possible personal injury from the cutter blades.
- Hold the power tool by insulated gripping surfaces only, because the cutter blade may contact hidden wiring. Cutter blades contacting a “live” wire may make exposed metal parts of the power tool “live” and could give the operator an electric shock.
- DANGER – Keep hands away from the blade. Contact with a blade will result in serious personal injury.
- Do not use the hedge trimmer in the rain or in wet or very damp conditions. The electric motor is not waterproof.
- First-time users should have an experienced hedge trimmer user show them how to use the trimmer.
- The hedge trimmer must not be used by children or young persons under 18 years of age. Young persons over 16 years of age may be exempted from this restriction if they are undergoing training under the supervision of an expert.
- Use the hedge trimmer only if you are in good physical condition. If you are tired, your attention will be reduced. Be especially careful at the end of a working day. Perform all work calmly and carefully. The user is responsible for all damages to third parties.
- Never use the trimmer when under the influence of alcohol, drugs or medication.
- Work gloves of stout leather are part of the basic equipment of the hedge trimmer and must always be worn when working with it. Also wear sturdy shoes with anti-skid soles.
- Before starting work check to make sure that the trimmer is in good and safe working order. Ensure guards are fitted properly. The hedge trimmer must not be used unless fully assembled.
- Make sure you have a secure footing before starting operation.
- Hold the tool firmly when using the tool.
- Do not operate the tool at no-load unnecessarily.
- Immediately switch off the motor and remove the battery cartridge if the cutter should come into contact with a fence or other hard object. Check the cutter for damage, and if damaged repair immediately.
- Before checking the cutter, taking care of faults, or removing material caught in the cutter, always switch off the trimmer and remove the battery cartridge.
- Switch off the trimmer and remove the battery cartridge before doing any maintenance work.
- When moving the hedge trimmer to another location, including during work, always remove the battery cartridge and put the blade cover on the cutter blades. Never carry or transport the trimmer with the cutter running. Never grasp the cutter with your hands.
- Clean the hedge trimmer and especially the cutter after use, and before putting the trimmer into storage for extended periods. Lightly oil the cutter and put on the cover. The cover supplied with the unit can be hung on the wall, providing a safe and practical way to store the hedge trimmer.
- Store the hedge trimmer with the cover on, in a dry room. Keep it out of reach of children. Never store the trimmer outdoors.
SAVE THESE INSTRUCTIONS.
WARNING:
DO NOT let comfort or familiarity with the product (gained from repeated use) replace strict adherence to safety rules for the subject product. MISUSE or failure to follow the safety rules stated in this instruction manual may cause serious personal injury.
WARNING:
The use of this product can create dust-containing chemicals which may cause respiratory or other illnesses. Some examples of these chemicals are compounds found in pesticides, insecticides, fertilizers, and herbicides. Your risk from these exposures varies, depending on how often you do this type of work. To reduce your exposure to these chemicals: work in a well-ventilated area, and work with approved safety equipment, such as those dust masks that are specially designed to filter out microscopic particles.
Symbols
The followings show the symbols used for the tool.
V…………………………….volts
…………………………….direct current
no…………………………..no-load speed
min r/min ……………………………..revolutions or reciprocation per minute
IMPORTANT SAFETY INSTRUCTIONS
FOR BATTERY CARTRIDGE
- Before using the battery cartridge, read all instructions and cautionary markings on (1) battery charger, (2) battery, and (3) product using the battery.
- Do not disassemble the battery cartridge.
- If the operating time has become excessively shorter, stop operating immediately. It may result in a risk of overheating, possible burns, and even an explosion.
- If electrolyte gets into your eyes, rinse them out with clear water and seek medical attention right away. It may result in loss of your eyesight.
- Do not short the battery cartridge:
(1) Do not touch the terminals with any conductive material.
(2) Avoid storing battery cartridges in a container with other metal objects such as nails, coins, etc.
(3) Do not expose the battery cartridge to water or rain. A battery short can cause a large current flow, overheating, possible burns, and even a breakdown. - Do not store the tool and battery cartridge in locations where the temperature may reach or exceed 50 C (122 F).
- Do not incinerate the battery cartridge even if it is severely damaged or is completely worn out. The battery cartridge can explode in a fire.
- Be careful not to drop or strike the battery.
- Do not use a damaged battery.
- Follow your local regulations relating to the disposal of batteries.
SAVE THESE INSTRUCTIONS.
Tips for maintaining maximum battery life
- Charge the battery cartridge before completely discharged. Always stop tool operation and charge the battery cartridge when you notice less tool power.
- Never recharge a fully charged battery cartridge. Overcharging shortens the battery service life.
- Charge the battery cartridge at room temperature at 10 C – 40 C (50 F – 104 F). Let a hot battery cartridge cool down before charging it.
- Charge the battery cartridge once every six months if you do not use it for a long period of time.
FUNCTIONAL DESCRIPTION
CAUTION:
• Always be sure that the tool is switched off and the battery cartridge is removed before adjusting or checking the function of the tool.
Installing or removing the battery cartridge
1. Red indicator
2. Button
3. Battery cartridge
CAUTION:
- Always switch off the tool before installing or removing of the battery cartridge.
- Hold the tool and the battery cartridge firmly when installing or removing the battery cartridge. Failure to hold the tool and the battery cartridge firmly may cause them to slip off your hands and result in damage to the tool and battery cartridge and a personal injury.
Tor emoves the battery cartridge and slides it from the tool while sliding the button on the front of the cartridge.
To install the battery cartridge, a Littleton gueonthe battery cartridge with the groove in the housing and slip it into place. Insert it all the way until it locks in place with a little click. If you can see the red indicator on the upper side of the button, it is not locked completely.
CAUTION:
- Always install the battery cartridge fully until the red indicator cannot be seen. If not, it may accidentally fall out of the tool, causing injury to you or someone around you.
- Do not install the battery cartridge forcibly. If the cartridge does not slide in easily, it is not being inserted correctly.
NOTE:
- The tool does not work with only one battery cartridge.
Tool/ battery protection system
The tool is equipped with a tool/battery protection system. This system automatically cuts off power to the motor to extend tool and battery life. The tool will automatically stop during operation if the tool or battery is placed under one of the following conditions. In some conditions, the indicators light up.
Overload protection
When the tool is operated in a manner that causes it to draw an abnormally high current, the tool automatically stops without any indication. In this situation, turn the tool off and stop the application that caused the tool to become overloaded. Then turn the tool on to restart.
Overheat protection for tool/ battery
When the tool/ battery is overheated, the tool stops automatically without any indication. The tool does not start even if pulling the switch trigger. In this situation, let the tool/ battery cool before turning the tool on again.
NOTE:
The battery overheats protection works only with a battery cartridge with a star marking. 
1. Star marking
Over-discharge protection
1. Battery indicator
When the remaining battery capacity gets low, the battery indicator blinks on the applicable battery side. By further use, the tool stops and the battery indicator lights up about 10 seconds. In this situation, charge the battery cartridge.
Handle mounting positions
CAUTION:
- Always make sure that the handle is locked in the desired position before operation.

- Knob
- Housing
Depending on the operations, you can set the angle of the handle either 45°or 90°position on left or right. To turn the handle, pull the knob and turn the handle as shown in the figure. The handle is locked in 45°position. To turn the handle to 90 ° position, pull the knob again and turn the handle more.
Switch action
CAUTION:
• Before inserting the battery cartridge into the tool, always check to see that the switch trigger actuates properly and returns to the “OFF” position when released. 
1. Switch trigger B
2. Switch trigger A
3. Lock-off button
For your safety, this tool has a dual switching system. To tur non, the tool, press the lock-off button and press the switch trigger A and B. To turn off the switch, release
either one of the switch triggers. The tool only starts when pulling both switch triggers.
Speed change 
1. Adjusting the dial
The strokes per minute can be adjusted just by turning the adjusting dial. This can be done even while the tool is running. The dial is marked 1 (lowest speed) to 6 (full speed).
Refer to the table below for the relationship between the number settings on the adjusting dial and the strokes per minute.
| The number on adjusting the dial | Strokes per minute (min’) |
| 6 | 1,800 |
| 5 | 1,750 |
| 4 | 1,650 |
| 3 | 1,500 |
| 2 | 1,300 |
| 1 | 1,000 |
CAUTION:
- The speed adjusting dial can be turned only as far as 6 and back to 1. Do not force it past 6 or 1, or the speed adjusting function may no longer work.
- The strokes per minute vary by the conditions of the battery cartridge and shear blades.
OPERATION
CAUTION:
- Be careful not to accidentally contact a metal fence or other hard objects while trimming. The blade will break and may cause serious injury.
- Overreaching with a hedge trimmer, particularly from a ladder, is extremely dangerous. Do not work from anything wobbly or infirm.

Do not attempt to cut branches thicker than 10 mm in diameter with this trimmer. These should first be cut with shears down to the hedge trimming level.
CAUTION:
• Do not cut off dead trees or similarly hard objects. Failure to do so may damage the tool. 
Hold the trimmer with both hands and pull the switch trigger A or B and then move it in front of your body. 
- Trimming direction
- Hedge surface to be trimmed
- Tilt the blades.
As a basic operation, tilt the blades towards the trimming direction and move it calmly and slowly at the speed rate of 3 – 4 seconds per meter. 
To curate get openly, ithelpstotie astringent the desired hedge height and to trim along it, using it as a reference line. 
Attaching the chip receiver (optional accessory) to the tool when trimming the hedge straight can avoid cut-off leaves being thrown away. 
Rotate the handle for your easy handling before operation. Refer to the section titled “Handle mounting position”.
To cut a hedge side evenly, it helps to cut from the bottom upwards. 
Trim boxwood or rhododendron from the base toward the top for a nice appearance and good job. Installing or removing chip receiver (optional accessory)
CAUTION:
- Always be sure that the tool is switched off and the battery cartridge is removed before installing or removing the chip receiver.
NOTE:
- When replacing the chip receiver, always wear gloves so that hands and face do not directly contact the blade. Failure to do so may cause personal injury.
- Always be sure to remove the blade cover before installing the chip receiver.
- The chip receiver receives cut-off leaves and alleviates collecting thrown-away leaves. This can be installed on either side of the tool.

- Press
- Chip receiver
- Nut
- Shear blade
Press the chip receiver on the shear blades so that its slits overlap with the nuts on the shear blades. At this time, make sure that the chip receiver does not contact the branch catcher at the top of the shear blades. 
- Nut
- Branch catcher
At this time, the chip receiver needs to be installed so that its hooks fit into grooves in the shear blade unit. 
- Hooks
- Fit the hooks into the groove
- Grooves
To remove the chip receiver, press its lever on both sides so that the hooks are unlocked. 
- Press the levers on both sides
- Unlock the hooks
CAUTION:
- The blade cover cannot be installed on the tool with the chip receiver being installed. Before carrying or storing, uninstall the chip receiver and then install the blade cover to avoid blade exposure.
NOTE:
- Check the chip receiver for secure installment before use.
- Never try to uninstall the chip receiver by an excessive force with its hooks locked in the blade unit grooves. Using excessive force may damage it.
MAINTENANCE
CAUTION:
- Always be sure that the tool is switched off and the battery cartridge is removed before attempting to perform inspection or maintenance.
- Never use gasoline, benzene, thinner, alcohol or the like. Discoloration, deformation or cracks may result.
Cleaning the tool
Clean out the tool by wiping off dust with a dry or soap-dipped rag.
Blade maintenance
Smear the blade before and once per hour during operation using machine oil or similars.
NOTE:
- Before smearing the blade, remove the chip receiver.
After the operation, remove dust from both sides of the blade with a wired brush, wipe it off with a rag and then apply enough low-viscosity oil, such as machine oil etc., and spray-type lubricating oil.
CAUTION:
- Do not wash the blades in the water. Failure to do so may cause rust or damage to the tool. Removing or installing the shear blade
CAUTION:
- Before removing or installing the shear blade, always be sure that the tool is switched off and the battery cartridge is removed.
- When replacing the shear blade, always wear gloves without removing the blade cover so that hands and face do not directly contact the blade. Failure to do so may cause personal injury.
NOTE:
- Do not wipe off grease from the gear and crank. Failure to do so may cause damage to the tool.
- For the specific ways of removing and installing shear blades refer to the reverse of a package for accessory shear blades.
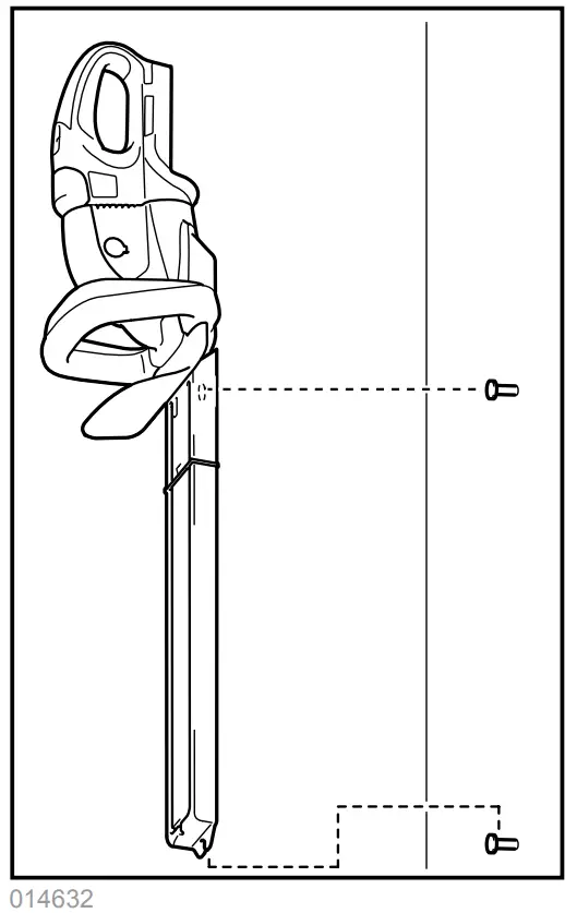
Removing the shear blades
Reverse the tool and loosen four screws.
- Blade cover
- Screws
NOTE:
• Be careful not to get your hands dirty as grease is applied in the shear blade driving area.
Remove the undercover.
- Undercover
- Blade cover
- Screws
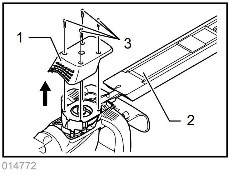
Remove the plate. 
1. Plate
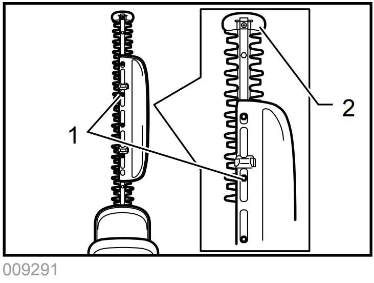
Set the crank at the angle as shown in the figure with a slotted screwdriver. 
1. Crank
Remove two screws from the shear blades and the shear blade unit will be taken out.
1. Screws
2. Shear blade
CAUTION:
• Return the gear to the original position in such a manner as it was installed if it should be taken away by mistake.
Installing the shear blades
Prepare 4 removed screws (For under cover), 2 screws (For shear blade), plate, undercover, and new shear blades. Adjust the crank position as shown in the figure. At this time, apply some grease provided with new shear blades to the periphery of the crank. 
1. Crank
Overlap the oval hole in the upper blade with that in the lower one.

1. Oval hole of shear blade
Take out the blade cover from the old shear blades and fit it onto the new ones for easy handling during the replacement of blades. 
Place the new shear blades on the tool so that the oval holes in the shear blades fit onto the crank. Overlap the holes in the shear blades with the screw holes in the tool and then secure them with two screws. 
- Oval hole of shear blade
- Crank
- Screws
Check the crank for a smooth turn with a slotted screwdriver. 
1. Crank
Install the plate, undercover on the tool. Tighten the screw firmly.
NOTE:
- There is no distinction between the top and bottom of the plate.
Remove the blade cover and then turn on the tool to check it for proper movement.
NOTE:
- When the shear blades do not operate properly, there is a poor fit between the blades and crank.
Redo from the beginning.
Replacing carbon brushes
1. Limit mark
Remove and check the carbon brushes regularly. Replace when they wear down to the limit mark. Keep the carbon brushes clean and free to slip in the holders. Both carbon brushes should be replaced at the same time. Use only identical carbon brushes. 
1. Holder cap cover
2. Slotted screwdriver
Insert the top end of the slotted screwdriver into the notch in the tool and remove the holder cap cover by lifting it up. 
1. Brush holder cap
2. Slotted screwdriver
Use a slotted screwdriver to remove the brush holder caps. Take out the worn carbon brushes, insert the new ones, and secure the brush holder caps.
Reinstall the holder cap cover on the tool.
Storage
The hook hole in the bottom of the blade cover is convenient for hanging the tool from a nail or screw on the wall. 
Remove the battery cartridge and put the blade cover on the shear blades so that the blades are not exposed. Store the tool out of the reach of children carefully. Store the tool in a place not exposed to water and rain. To maintain product SAFETY and RELIABILITY, repairs, and any other maintenance or adjustment should be performed by Makita Authorized or Factory Service Centers, always using Makita replacement parts.
OPTIONAL ACCESSORIES
CAUTION:
These accessories or attachments are recommended for use with your Makita tool specified in this manual. The use of any other accessories or attachments might present a risk of injury to persons. Only use accessory or attachment for its stated purpose.
If you need any assistance with more details regarding these accessories, ask your local Makita Service Center.
- Blade cover
- Shear blade assembly
- Makita genuine battery and charger
- Chip receiver
NOTE:
- Some items in the list may be included in the tool package as standard accessories. They may differ from country to country.
MAKITA LIMITED ONE-YEAR WARRANTY
Warranty Policy
Every Makita tool is thoroughly inspected and tested before leaving the factory. It is warranted to be free of defects from workmanship and materials for the period of ONE YEAR from the date of original purchase. Should any trouble develop during this one-year period, return the COMPLETE tool, freight prepaid, to one of Makita’s Factory or Authorized Service Centers. If inspection shows the trouble is caused by defective workmanship or material, Makita will repair (or at our option, replace) without charge.
This Warranty does not apply where:
- repairs have been made or attempted by others:
- repairs are required because of normal wear and tear:
- the tool has been abused, misused, or improperly maintained:
- and alterations have been made to the tool.
IN NO EVENT SHALL MAKITA BE LIABLE FOR ANY INDIRECT, INCIDENTAL, OR CONSEQUENTIAL DAMAGES FROM THE SALE OR USE OF THE PRODUCT. THIS DISCLAIMER APPLIES BOTH DURING AND AFTER THE TERM OF THIS WARRANTY.
MAKITA DISCLAIMS LIABILITY FOR ANY IMPLIED WARRANTIES, INCLUDING IMPLIED WARRANTIES OF “MERCHANTABILITY” AND “FITNESS FOR SPECIFIC PURPOSE,” AFTER THE ONE-YEAR TERM OF THIS WARRANTY.
This Warranty gives you specific legal rights, and you may also have other rights which vary from state to state. Some states do not allow the exclusion or limitation of incidental or consequential damages, so the above limitation or exclusion may not apply to you. Some states do not allow limitations on how long an implied warranty lasts, so the above limitation may not apply to you.
885336-979
Makita Corporation
Anjo, Aichi, Japan
www.ma64kita.com



















