INSTRUCTION MANUAL
Cordless Hedge Trimmer
ENGLISH: Original instructions
UH004G UH005G UH006G
UH007G UH008G UH009G
Read before use.
SPECIFICATIONS
| Model: | UH004G | UH005G | UH006G |
| Blade length | 600 mm | 750 mm | 600 mm |
| Strokes per minute | 2,000 / | 3,600 / 5,000 mind | 2,000 / 3,000 4,000 min”‘ |
| Overall length | 1,120 mm | I 1,263 mm | 1,123 mm |
| Rated voltage | D.C. 36 V – 40 V max | ||
| Net weight | 4.3 – 4.9 kg | I 4.5 – 5.1 kg | 4.4 – 5.0 kg |
| Protection degree | IPX4 | ||
| Model: | UH007G | UH008G | UH009G |
| Blade length | 750 mm | 600 mm | 750 mm |
| Strokes per minute | 2,000 / 3,000 4,000 min”‘ | 2,000 / 3,600 / 5,000 mind | |
| Overall length | 1,274 mm | 1,120 mm | 1,262 mm |
| Rated voltage | D.C. 36 V – 40 V max | ||
| Net weight | 4.6 – 5.2 kg | I 4.3 – 4.9 kg | 4.4 – 5.0 kg |
| Protection degree | IPX4 | ||
- Due to our continuing program of research and development, the specifications herein are subject to change without notice.
- Specifications may differ from country to country.
- The weight may differ depending on the attachment(s), including the battery cartridge. The lightest and heaviest combinations, according to EPTA-Procedure 01/2014, are shown in the table.
Applicable battery cartridge and charger
| Battery | BL4020* / BL4025* / BL4040* / BL4050F *: Recommended battery |
| Charger | DC40RA / DC40RB / DC40RC |
• Some of the battery cartridges and chargers listed above may not be available depending on your region of residence.
WARNING: Only use the battery cartridges and chargers listed above. Use of any other battery cartridges and chargers may cause injury and/or fire.
Recommended portable power pack
| Portable power pack | PDC1200 / PDC01 |
- The portable power pack(s) listed above may not be available depending on your region of residence.
- Before using the portable power pack, read the instructions and cautionary markings on the portable power pack.
Symbols
The followings show the symbols which may be used for the equipment. Be sure that you understand their meaning before use.
| Read the instruction manual. | |
| Wear eye protection. | |
| DANGER – Keep hands away from the blade. | |
| Only for EU countries Due to the presence of hazardous components in the equipment, waste electrical and electronic equipment, accumulators and batteries may have a negative impact on the environment and human health. Do not dispose of electrical and electronic appliances or batteries with household waste! In accordance with the European Directive on waste electrical and electronic equipment and on accumulators and batteries and waste accumulators and batteries, as well as their adaptation to national law, waste electrical equipment, batteries, and accumulators should be stored separately and delivered to a separate collection point for municipal waste, operating in accordance with the regulations on environmental protection. This is indicated by the symbol of the crossed-out wheeled bin placed on the equipment. |
Intended use
The tool is intended for trimming hedges.
Noise
Applicable standard: EN62841-4-2
| Sound pressure level | Sound power level | |||
| Model | ||||
| LpA(dB(A)) | Uncertainty K (dB(A)) | L(dB(A)) | Uncertainty K (dB(A)) | |
| UH004G | 85 | 3 | 96 | 3 |
| UH005G | 86 | 3 | 97 | 3 |
| UH006G | 81 | 3 | 92 | 3 |
| UH007G | 81 | 3 | 92 | 3 |
| UH008G | 82 | 3 | 93 | 3 |
| UH009G | 83 | 3 | 94 | 3 A |
NOTE: The declared noise emission value(s) has been measured in accordance with a standard test method and may be used for comparing one tool with another.
NOTE: The declared noise emission value(s) may also be used in a preliminary assessment of exposure.
WARNING: Wear ear protection.
WARNING: The noise emission during the actual use of the power tool can differ from the declared value(s) depending on the ways in which the tool is used especially what kind of workpiece is processed.
WARNING: Be sure to identify safety measures to protect the operator that is based on an estimation of exposure in the actual conditions of use (taking account of all parts of the operating cycle such as the times when the tool is switched off and when it is running idle in addition to the trigger time).
Vibration
The vibration total value (tri-axial vector sum) determined according to EN62841-4-2:
| Model | Front handle | Rear handle | ||
| ah (m/s2) | Uncertainty K (m/s2) | ah (m/s2) | Uncertainty K (m/s2) | |
| UH004G | 3. | 2. | 2.5 or less | 2. |
| UH005G | 3. | 2. | 3. | 2. |
| UH006G | 3.0 | 2. | 2.5 or less | 2. |
| UH007G | 3. | 2. | 3. | 2. |
| UH008G | 3. | 2. | 2.5 or less | 2. |
| UH009G | 3. | 2. | 3. | 2. |
NOTE: The declared vibration total value(s) has been measured in accordance with a standard test method and may be used for comparing one tool with another.
NOTE: The declared vibration total value(s) may also be used in a preliminary assessment of exposure.
WARNING: The vibration emission during actual use of the power tool can differ from the declared value(s) depending on the ways in which the tool is used especially what kind of workpiece is processed.
WARNING: Be sure to identify safety measures to protect the operator that is based on an estimation of exposure in the actual conditions of use (taking account of all parts of the operating cycle such as the times when the tool is switched off and when it is running idle in addition to the trigger time).
EC Declaration of Conformity
For European countries only
The EC declaration of conformity is included as Annex A to this instruction manual.
SAFETY WARNINGS
General power tool safety warnings
WARNING: Read all safety warnings, instructions, illustrations, and specifications provided with this power tool. Failure to follow all instructions listed below may result in electric shock, fire, and/or serious injury.
Save all warnings and instructions for future reference.
The term “power tool” in the warnings refers to your mains-operated (corded) power tool or battery-operated (cordless) power tool.
Work area safety
- Keep the work area clean and well-lit. Cluttered or dark areas invite accidents.
- Do not operate power tools in explosive atmospheres, such as in the presence of flammable liquids, gases, or dust. Power tools create sparks that may ignite dust or fumes.
- Keep children and bystanders away while operating a power tool. Distractions can cause you to lose control.
Electrical safety
- Power tool plugs must match the outlet. Never modify the plug in any way. Do not use any adapter plugs with earthed (grounded) power tools. Unmodified plugs and matching outlets will reduce the risk of electric shock.
- Avoid body contact with earthed or grounded surfaces, such as pipes, radiators, ranges, and refrigerators. There is an increased risk of electric shock if your body is earthed or grounded.
- Do not expose power tools to rain or wet conditions. Water entering a power tool will increase the risk of electric shock.
- Do not abuse the cord. Never use the cord for carrying, pulling, or unplugging the power tool. Keep the cord away from heat, oil, sharp edges, or moving parts. Damaged or entangled cords increase the risk of electric shock.
- When operating a power tool outdoors, use an extension cord suitable for outdoor use. The use of a cord suitable for outdoor use reduces the risk of electric shock
- If operating a power tool in a damp location is unavoidable, use a residual current device (RCD) protected supply. The use of an RCD reduces the risk of electric shock.
- Power tools can produce electromagnetic fields (EMF) that are not harmful to the user. However, users of pacemakers and other similar medical devices should contact the maker of their device and/ or doctor for advice before operating this power tool.
Personal safety
- Stay alert, watch what you are doing, and use common sense when operating a power tool. Do not use a power tool while you are tired or under the influence of drugs, alcohol, or medication. A moment of inattention while operating power tools may result in serious personal injury.
- Use personal protective equipment. Always wear eye protection. Protective equipment such as a dust mask, non-skid safety shoes, hard hats, or hearing protection used for appropriate conditions will reduce personal injuries.
- Prevent unintentional starting. Ensure the switch is in the off-position before connecting to a power source and/or battery pack, picking up, or carrying the tool. Carrying power tools with your finger on the switch or energizing power tools that have the switch on invites accidents.
- Remove any adjusting key or wrench before turning the power tool on. A wrench or a key left attached to a rotating part of the power tool may result in personal injury.
- Do not overreach. Keep proper footing and balance at all times. This enables better control of the power tool in unexpected situations.
- Dress properly. Do not wear loose clothing or jewelry. Keep your hair and clothing away from moving parts. Loose clothes, jewelry, or long hair can be caught in moving parts.
- If devices are provided for the connection of dust extraction and collection facilities, ensure these are connected and properly used. The use of dust collection can reduce dust-related hazards.
- Do not let familiarity gained from the frequent use of tools allow you to become complacent and ignore tool safety principles. A careless action can cause severe injury within a fraction of a second.
- Always wear protective goggles to protect your eyes from injury when using power tools. The goggles must comply with ANSI Z87.1 in the USA, EN 166 in Europe, or AS/NZS 1336 in Australia/New Zealand. In Australia/New Zealand, it is legally required to wear a face shield to protect your face, too.

It is an employer’s responsibility to enforce the use of appropriate safety protective equipment by the tool operators and by other persons in the immediate working area.
Power tool use and care
- Do not force the power tool. Use the correct power tool for your application. The correct power tool will do the job better and safer at the rate for which it was designed.
- Do not use the power tool if the switch does not turn it on and off. Any power tool that cannot be controlled with the switch is dangerous and must be repaired.
- Disconnect the plug from the power source and/or remove the battery pack, if detachable, from the power tool before making any adjustments, changing accessories, or storing power tools. Such preventive safety measures reduce the risk of starting the power tool accidentally.
- Store idle power tools out of the reach of children and do not allow persons unfamiliar with the power tool or these instructions to operate the power tool. Power tools are dangerous in the hands of untrained users.
- Maintain power tools and accessories. Check for misalignment or binding of moving parts, breakage of parts, and any other condition that may affect the power tool’s operation. If damaged, have the power tool repaired before use. Many accidents are caused by poorly maintained power tools.
- Keep cutting tools sharp and clean. Properly maintained cutting tools with sharp cutting edges are less likely to bind and are easier to control.
- Use the power tool, accessories and tool bits, etc. in accordance with these instructions, taking into account the working conditions and the work to be performed. Use of the power tool for operations different from those intended could result in a hazardous situation.
- Keep handles and grasping surfaces dry, clean, and free from oil and grease. Slippery handles and grasping surfaces do not allow for safe handling and control of the tool in unexpected situations.
- When using the tool, do not wear cloth work gloves which may be entangled. The entanglement of cloth work gloves in the moving parts may result in personal injury.
Battery tool use and care
- Recharge only with the charger specified by the manufacturer. A charger that is suitable for one type of battery pack may create a risk of fire when used with another battery pack.
- Use power tools only with specifically designated battery packs. Use of any other battery packs may create a risk of injury and fire.
- When the battery pack is not in use, keep it away from other metal objects, like paper clips, coins, keys, nails, screws, or other small metal objects, that can make a connection from one terminal to another. Shorting the battery terminals together may cause burns or a fire.
- Under abusive conditions, liquid may be ejected from the battery; avoid contact. If contact accidentally occurs, flush with water. If liquid contacts the eyes, additionally seek medical help. Liquid ejected from the battery may cause irritation or burns.
- Do not use a battery pack or tool that is damaged or modified. Damaged or modified batteries may exhibit unpredictable behavior resulting in fire, explosion, or risk of injury.
- Do not expose a battery pack or tool to fire or excessive temperature. Exposure to fire or temperature above 130 °C may cause an explosion.
- Follow all charging instructions and do not charge the battery pack or tool outside the temperature range specified in the instructions. Charging improperly or at temperatures outside the specified range may damage the battery and increase the risk of fire.
Service
- Have your power tool serviced by a qualified repair person using only identical replacement parts. This will ensure that the safety of the power tool is maintained.
- Never service damaged battery packs. Service of battery packs should only be performed by the manufacturer or authorized service providers.
- Follow instructions for lubricating and changing accessories.
Cordless Hedge Trimmer Safety Warnings
- Keep all parts of the body away from the blade. Do not remove cut material or hold material to be cut when blades are moving. Blades continue to move after the switch is turned off. A moment of inattention while operating the hedge trimmer may result in serious personal injury.
- Carry the hedge trimmer by the handle with the blade stopped and take care not to operate any power switch. Proper carrying of the hedge trimmer will decrease the risk of inadvertent starting and resultant personal injury from the blades.
- When transporting or storing the hedge trimmer, always fit the blade cover. Proper handling of the hedge trimmer will decrease the risk of personal injury from the blades.
- When clearing jammed material or servicing the unit, make sure all power switches are off and the battery pack is removed or disconnected. Unexpected actuation of the hedge trimmer while clearing jammed material or servicing may result in serious personal injury.
- Hold the hedge trimmer by insulated gripping surfaces only, because the blade may contact hidden wiring. Blades contacting a “live” wire may make exposed metal parts of the hedge trimmer “live” and could give the operator an electric shock.
- Keep all power cords and cables away from the cutting area. Power cords or cables may be hidden in hedges or bushes and can be accidentally cut by the blade.
- Do not use the hedge trimmer in bad weather conditions, especially when there is a risk of lightning. This decreases the risk of being struck by lightning.
Additional Safety Instructions
Preparation
- Check the hedges and bushes for foreign objects, such as wire fences or hidden wiring before operating the tool.
- The tool must not be used by children or young persons under 18 years of age. Young persons over 16 years of age may be exempted from this restriction if they are undergoing training under the supervision of an expert.
- First-time users should have an experienced user show them how to use the tool.
- Use the tool only if you are in good physical condition. If you are tired, your attention will be reduced. Be especially careful at the end of a working day. Perform all work calmly and carefully. The user is responsible for all damages to third parties.
- Never use the tool when under the influence of alcohol, drugs, or medication.
- Work gloves of stout leather are part of the basic equipment of the tool and must always be worn when working with it. Also, wear sturdy shoes with anti-skid soles.
- Before starting work check to make sure that the tool is in good and safe working order. Ensure guards are fitted properly. The tool must not be used unless fully assembled.
Operation
- Hold the tool firmly with both hands when using the tool.
- The tool is intended to be used by the operator at ground level. Do not use the tool on ladders or any other unstable support. 3. DANGER – Keep hands away from the blade. Contact with a blade will result in serious personal injury.
- Do not use the tool in the rain or in wet or very damp conditions. The electric motor is not waterproof.
- Make sure you have a secure footing before starting the operation.
- Do not operate the tool at no-load unnecessarily.
- Immediately switch off the tool and remove the battery cartridge if the shear blades should come into contact with a fence or other hard object. Check the blades for damage, and if damaged, replace the blades immediately.
- Before checking the shear blades, taking care of faults, or removing material caught in the shear blades, always switch off the tool and remove the battery cartridge.
- Never point the shear blades at yourself or others.
- If the blades stop moving due to the stuck of foreign objects between the blades during operation, switch off the tool and remove the battery cartridge, and then remove the foreign objects using tools such as pliers. Removing the foreign objects by hand may cause an injury for the reason that the blades may move in reaction to removing the foreign objects.
- Avoid dangerous environments. Don’t use the tool in damp or wet locations or expose it to rain. Water entering the tool will increase the risk of electric shock.
- When you use the tool on muddy ground, wet slopes, or slippery places, pay attention to your footing.
- Avoid working in a poor environment where increased user fatigue is expected.
- Do not use the tool in bad weather where visibility is limited. Failure to do so may cause a fall or incorrect operation due to low visibility.
- Do not submerge the tool in a puddle.
- Do not leave the tool unattended outdoors in the rain.
- When wet leaves or dirt adhere to the suction mouth (ventilation window) due to rain, remove them.
- Do not use the tool in the snow.
Electrical and battery safety
- Avoid dangerous environments. Don’t use the tool in damp or wet locations or expose it to rain. Water entering the tool will increase the risk of electric shock.
- Do not dispose of the battery(ies) in a fire. The cell may explode. Check with local codes for possible special disposal instructions.
- Do not open or mutilate the battery(ies). Released electrolyte is corrosive and may cause damage to the eyes or skin. It may be toxic if swallowed.
- Do not charge the battery in rain, or in wet locations.
- Do not charge the battery outdoors.
- Do not handle chargers, including charger plugs, and charger terminals with wet hands.
- Do not replace the battery with wet hands. 8. Do not replace the battery in the rain.
- Do not wet the terminal of the battery with a liquid such as water, or submerge the battery. Do not leave the battery in the rain, nor charge, use, or store the battery in a damp or wet place. If the terminal gets wet or liquid enters inside the battery, the battery may be short-circuited and there is a risk of overheating, fire, or explosion.
- After removing the battery from the tool or charger, be sure to attach the battery cover to the battery and store it in a dry place.
- If the battery cartridge gets wet, drain the water inside and then wipe it with a dry cloth. Dry the battery cartridge completely in a dry place before use.
Maintenance and storage
- Switch off the tool and remove the battery cartridge before doing any maintenance work.
- When moving the tool to another location, including during work, always remove the battery cartridge and put the blade cover on the shear blades. Never carry or transport the tool with the blades running. Never grasp the blades with your hands.
- Clean the tool and especially the shear blades after use, and before putting the tool into storage for extended periods. Lightly oil the blades and put them on the blade cover.
- Store the tool with the blade cover on, in a dry room. Keep it out of reach of children. Never store the tool outdoors.
- Do not dispose of the battery(ies) in a fire. The cell may explode. Check with local codes for possible special disposal instructions.
- Do not open or mutilate the battery(ies). Released electrolyte is corrosive and may cause damage to the eyes or skin. It may be toxic if swallowed.
- Do not charge the battery in rain, or in wet locations.
- Do not wash the tool with high-pressure water.
- When washing the tool, do not let water enter the electrical mechanism such as the battery, motor, and terminals.
- Perform inspection or maintenance in a place where rain can be avoided.
- After using the tool, remove the adhered dirt and dry the tool completely before storing it. Depending on the season or the area, there is a risk of malfunction due to freezing.
- When storing the tool, avoid direct sunlight and rain, and store it in a place where it does not get hot or humid.
SAVE THESE INSTRUCTIONS.
WARNING: DO NOT let comfort or familiarity with the product (gained from repeated use) replace strict adherence to safety rules for the subject product. MISUSE or failure to follow the safety rules stated in this instruction manual may cause serious personal injury.
Important safety instructions for battery cartridge
- Before using the battery cartridge, read all instructions and cautionary markings on (1) the battery charger, (2) the battery, and (3) the product using the battery.
- Do not disassemble or amper the battery cartridge. It may result in a fire, excessive heat, or explosion.
- If the operating time has become excessively shorter, stop operating immediately. It may result in a risk of overheating, possible burns, and even an explosion.
- If electrolyte gets into your eyes, rinse them out with clear water and seek medical attention right away. It may result in loss of your eyesight.
- Do not short the battery cartridge: (1) Do not touch the terminals with any conductive material. (2) Avoid storing battery cartridges in a container with other metal objects such as nails, coins, etc. (3) Do not expose battery cartridges to water or rain. A battery short can cause a large current flow, overheating, possible burns, and even a breakdown.
- Do not store and use the tool and battery cartridge in locations where the temperature may reach or exceed 50 °C (122 °F).
- Do not incinerate the battery cartridge even if it is severely damaged or completely worn out. The battery cartridge can explode in a fire.
- Do not nail, cut, crush, throw, drop the battery cartridge, or hit a hard object to the battery cartridge. Such conduct may result in a fire, excessive heat, or explosion.
- Do not use a damaged battery.
- The contained lithium-ion batteries are subject to the Dangerous Goods Legislation requirements. For commercial transports e.g. by third parties and forwarding agents, the special requirements on packaging and labeling must be observed. For the preparation of the item being shipped, consulting an expert for hazardous material is required. Please also observe possibly more detailed national regulations. Tape or mask off open contacts and pack up the battery in such a manner that it cannot move around in the packaging.
- When disposing of the battery cartridge, remove it from the tool and dispose of it in a safe place. Follow your local regulations relating to the disposal of batteries.
- Use the batteries only with the products specified by Makita. Installing the batteries to non-compliant products may result in a fire, excessive heat, explosion, or leak of electrolyte.
- If the tool is not used for a long period of time, the battery must be removed from the tool.
- During and after use, the battery cartridge may take on heat which can cause burns or low-temperature burns. Pay attention to the handling of hot battery cartridges.
- Do not touch the terminal of the tool immediately after use as it may get hot enough to cause burns.
- Do not allow chips, dust, or soil to stick into the terminals, holes, and grooves of the battery cartridge. It may result in poor performance or breakdown of the tool or battery cartridge.
- Unless the tool supports the use near high-voltage electrical power lines, do not use the battery cartridge near high-voltage electrical power lines. It may result in a malfunction or breakdown of the tool or battery cartridge.
- Keep the battery away from children.
SAVE THESE INSTRUCTIONS.
CAUTION: Only use genuine Makita batteries. Use of non-genuine Makita batteries, or batteries that have been altered, may result in the battery bursting causing fires, personal injury, and damage. It will also void the Makita warranty for the Makita tool and charger.
Tips for maintaining maximum battery life
- Charge the battery cartridge before completely discharged. Always stop tool operation and charge the battery cartridge when you notice less tool power.
- Never recharge a fully charged battery cartridge. Overcharging shortens the battery service life.
- Charge the battery cartridge at room temperature 10 °C – 40 °C (50 °F – 104 °F). Let a hot battery cartridge cool down before charging it.
- When not using the battery cartridge, remove it from the tool or the charger.
- Charge the battery cartridge if you do not use it for a long period (more than six months).
FUNCTIONAL DESCRIPTION
CAUTION: Always be sure that the tool is switched off and the battery cartridge is removed before adjusting or checking the function of the tool.
Installing or removing the battery cartridge
CAUTION: Always switch off the tool before installing or removing the battery cartridge.
CAUTION: Hold the tool and the battery cartridge firmly when installing or removing the battery cartridge. Failure to hold the tool and the battery cartridge firmly may cause them to slip off your hands and result in damage to the tool and battery cartridge and a personal injury.
► 1. Red indicator 2. Button 3. Battery cartridge
To remove the battery cartridge, slide it from the tool while sliding the button on the front of the cartridge.
To install the battery cartridge, align the tongue n the battery cartridge with the groove in the housing and slip it into place. Insert it all the way until it locks in place with a little click. If you can see the red indicator as shown in the figure, it is not locked completely.
CAUTION: Always install the battery cartridge fully until the red indicator cannot be seen. If not, it may accidentally fall out of the tool, causing injury to you or someone around you.
CAUTION: Do not install the battery cartridge forcibly. If the cartridge does not slide in easily, it is not being inserted correctly.
Indicating the remaining battery capacity
Press the check button on the battery cartridge to indicate the remaining battery capacity. The indicator lamps light up for a few seconds. 
| Indicator lamps | Remaining capacity | ||
|
|
| |
| 75% to 100% | |||
| 50% to 75% | |||
| 25% to 50% | |||
| 0% to 25% | |||
| Charge the battery. | |||
![]() | The battery may have malfunctioned. | ||
NOTE: Depending on the conditions of use and the ambient temperature, the indication may differ slightly from the actual capacity.
NOTE: The first (far left) indicator lamp will blink when the battery protection system works.
Tool/battery protection system
The tool is equipped with a tool/battery protection system. This system automatically cuts off power to the motor to extend tool and battery life. The tool will automatically stop during operation if the tool is placed under one of the following conditions:
| Caution lamp | Status | ||
| Color | |||
| Green | Overload | ||
| Red | Overheat | ||
| Red | Over discharge | ||
Overload protection
If the tool or battery is overloaded by entangled branches or other debris, the tool automatically stops and the caution lamp starts blinking green. In this situation, turn the tool off and stop the application that caused the tool to become overloaded. Then turn the tool on to restart.
NOTICE: Depending on the usage conditions, the tool is automatically turned off without any indication if the tool is overloaded by entangled branches or debris. In this case, switch off the tool and remove the battery cartridge, and then remove entangled branches or debris using tools such as pliers. After removing the branches or debris, install the battery cartridge and turn on the tool again.
Overheat protection for tool or battery
If the tool or battery cartridge is overheated, the tool stops automatically. When the tool is overheated, the caution lamp lights up in red. When the battery cartridge is overheated, the caution lamp blinks in red. Let the tool and/or battery cool down before turning the tool on again. Over-discharge protection
When the battery capacity becomes low, the tool stops automatically and the caution lamp starts blinking red. If the tool does not operate even when the switches are operated, remove the battery cartridge from the tool and charge it.
Angle setting of the handle
CAUTION: Always make sure that the handle is locked in the desired position before operation.
CAUTION: Do not pull down the lever to unlock the handle while pulling the switch trigger. Do not pull the switch trigger while pulling down the lever and turning the handle. Failure to do so may cause a malfunction of the tool.
You can set the angle of the handle to 0°, 45°, or 90° to the left or right. To change the angle of the handle, turn the handle while pulling down the lever, and then release the lever.
Power switch action
WARNING: For your safety, this tool is equipped with a lock-off lever which prevents the tool from unintended starting. NEVER use the tool if it runs when you simply press the switch lever and pull the switch trigger without pressing the lock-off lever. Return the tool to our authorized service center for proper repairs BEFORE further usage.
WARNING: NEVER tape down or defeat put- the pose and function of the lock-off lever.
WARNING: Before installing the battery cartridge on the tool, always check to see that the switch trigger and switch lever actuate properly and return to the “OFF” position when released. Operating a tool with a switch that does not actuate properly can lead to loss of control and serious personal injury.
CAUTION: Never put your finger on the switch when carrying. The tool may start unintentionally and cause injury.
NOTICE: Do not pull the switch trigger hard without pressing the lock-off lever. This can cause switch breakage.
Press the main power button to turn on the tool. To turn off the tool, press and hold the main power button until the speed indicators go off.
NOTE: The caution lamp brinks if the switch trigger is pulled under inoperable conditions. The caution lamp blinks if you turn on the main power switch while holding down the lock-off lever and the switch trigger.
NOTE: This tool employs the auto power-off function. To avoid unintentional start-up, the main power switch will automatically shut down when the switch trigger is not pulled for a certain period after the main power switch is turned on.
To prevent the switch trigger from being accidentally pulled, a lock-off lever is provided. To start the tool, depress the lock-off lever, and then press the switch lever and pull the switch trigger. Release the switch trigger to stop.
Speed adjusting
You can select the tool speed by tapping the main power button. Each time you tap the main power button, the level of speed will change.
For UH004G/UH005G/UH008G/UH009G
| Indicator | Mode | Stroke speed |
| High | 5,000 mind | |
| Medium | 3,600 min”‘ | |
| Low | 2,000 min”‘ |
For UH006G/UH007G
| Indicator | Mode | Stroke speed |
| High | 4,000 min”‘ | |
| Medium | 3,000 min’ | |
| Low | 2,000 min”‘ |
Reverse button for debris removal
WARNING: If the entangled branches or debris cannot be removed by the reverse function, switch off the tool and remove the battery cartridge, and then remove the entangled branches or debris using tools such as pliers. Failure to switch off the tool and remove the battery cartridge may result in serious personal injury from the accidental start-up. Removing the entangled branches or debris by hand may cause an injury, since the shear blades may move in reaction to removing them.
This tool has a reverse button to change the direction of the shear blade’s movement. It is only for removing branches and debris entangled in the tool. To reverse the shear blade movement, tap the reverse button when the shear blades have stopped, then press the switch lever and pull the switch trigger while pressing the lock-off lever. The speed indicators start blinking, and the shear blades move in the reverse direction. To return to regular movement, release the trigger and wait until the shear blades stop.
NOTE: If the entangled branches or debris cannot be removed, release and pull the switch trigger until they are removed.
NOTE: If you tap the reverse button while the shear blades are still moving, the tool comes to stop and is ready for reverse movement.
Electronic function
The tool is equipped with electronic functions for easy operation.
- Constant speed control
The speed control function provides a constant rotation speed regardless of load conditions. - Electric brake
This tool is equipped with an electric brake. If the tool consistently fails to quickly stop the shear blades after releasing the switch trigger, have the tool serviced at Makita Authorized Service Center - Accidental re-start preventive function
Even if you install the battery cartridge while pulling the switch trigger, the tool does not start. To start the tool, first, release the switch trigger, and then pull the switch trigger.
ASSEMBLY
CAUTION: Always be sure that the tool is switched off and the battery cartridge is removed before carrying out any work on the tool.
CAUTION: When replacing the shear blades, always wear gloves so that your hands do not directly contact the blades.
NOTICE: When replacing the shear blades, do not wipe off grease from the gear and crank.
Installing or removing the shear blades
CAUTION: Attach the blade cover before removing or installing the shear blades.
You can install 600 mm or 750 mm shear blades to your tool.
- Place the tool upside down, and then remove 6 bolts.

- Remove the cover and the plate.

NOTE: The plate may remain on the cover. - Remove the rod and the bearing.

NOTE: The rod may remain on the cover. - Remove 2 bolts, the felt pad, and the sleeves, and then remove the shear blades.

- Remove the blade cover.
- Attach the blade cover to the new shear blades.
- Adjust the crank so that 2 holes are lined up on the alignment line.

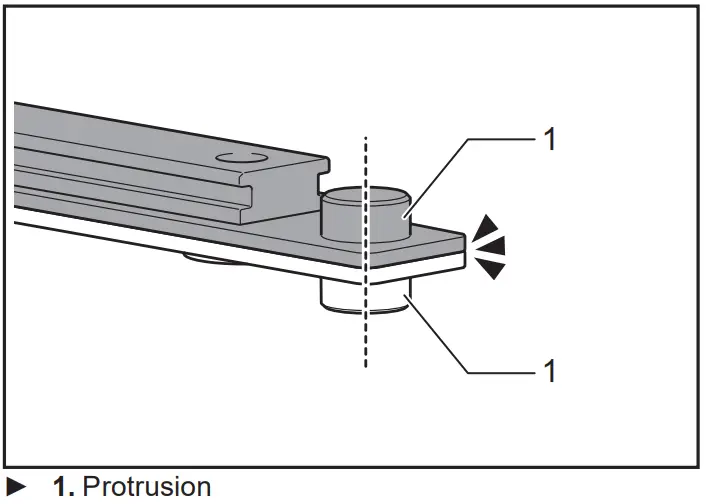
- Align the protrusions on the shear blades vertically at the same position.

- Attach the felt pad to the shear blades.

- Insert the protrusion on the shear blades to the small hole on the rod, then align the position of the felt pad with the holes on the tool, and then attach new sleeves.

NOTICE: Apply a small amount of grease to the inner periphery of the hole of the rod.
NOTICE: Be careful not to lose the sleeves. - Align the holes on the shear blades with the holes on the tool, and then tighten 2 bolts to fix the shear blades.

- Attach the bearing and the rod.
NOTICE: Apply a small amount of grease to the inner periphery of the small hole of the rod.
NOTICE: Make sure that the protrusion on the shear blades fits in the small hole on the rod. - Attach the plate.

NOTICE: Make sure that the protrusion on the shear blades fits in the hole on the plate. - Attach the cover, and then tighten 6 bolts.

NOTICE: If the shear blades do not move smoothly, the shear blades are not engaged with the rods properly. Install the shear blades again.
NOTICE: If the parts other than the shear blades such as the rods are worn out, ask Makita Authorized Service Centers for parts replacement or repairs.
Installing or removing the chip receiver
Optional accessory
CAUTION: When installing or removing the chip receiver, always wear gloves so that your hands do not directly contact the shear blades.
NOTICE:
For UH004G/UH005G/UH006G/UH007G The blade cover cannot be installed if the chip receiver is installed on the tool. Before carrying or storing the tool, uninstall the chip receiver, and then install the blade cover to avoid blade exposure.
NOTICE:
For UH004G/UH005G/UH006G/UH007G Be sure to remove the blade cover before installing the chip receiver.
The chip receiver gathers discarded leaves and makes clean-up afterward much easier. It can be installed on either side of the tool.
- Hook the claws of the chip receiver to the shear blades.

- Align the holes on the chip receiver with the screws on the shear blades, and then attach the chip receiver to the shear blades securely.
NOTICE: Make sure that the chip receiver does not overlap the branch catcher.
To remove the chip receiver, press the levers to release the hooks.

NOTICE: Never try to remove the chip receiver by excessive force with its hooks locked to the shear blades.
OPERATION
WARNING: Keep hands away from shear blades.
CAUTION: Avoid operating the tool in very hot weather as much as practicable. When operating the tool, be careful of your physical condition.
CAUTION: Be careful not to accidentally contact a metal fence or other hard objects while trimming. The shear blades may break and cause an injury.
CAUTION: Be careful not to allow the shear blades to contact the ground. The tool may recoil and cause an injury.
CAUTION: Overreaching with a hedge trimmer, particularly from a ladder, is extremely dangerous. Do not work while standing on anything wobbly or infirm.
NOTICE: Do not attempt to cut branches thicker than 10 mm in diameter with the tool. Cut branches to 10 cm lower than the cutting height using branch cutters before using the tool.
NOTICE: Do not cut down dead trees or similarly hard objects. Doing so may damage the tool.
NOTICE: Do not trim the grass or weeds while using the shear blades. The shear blades may become tangled in the grass or weeds.
Hold the tool with both hands, press the switch lever and pull the switch trigger while pressing the lock-off lever, and then move it forward.
For basic operation, tilt the shear blades toward the trimming direction and move them calmly and slowly at a speed rate of 3 to 4 seconds per meter.
To cut a hedge top evenly, tie a string at the desired height and trim along it.
If the chip receiver is attached to the shear blades, it gathers discarded leaves and makes clean-up afterward much easier.
To cut a hedge side evenly, cut from the bottom to the top.
When trimming to make a round shape (trimming boxwood or rhododendron, etc.), trim from the root to the top for a beautiful finish.
MAINTENANCE
CAUTION: Always be sure that the tool is switched off and the battery cartridge is removed before attempting to perform inspection or maintenance.
To maintain product SAFETY and RELIABILITY, repairs, and any other maintenance or adjustment should be performed by Makita Authorized or Factory Service Centers, always using Makita replacement parts.
Cleaning the tool
Clean the tool by wiping off dust with a dry cloth or one dipped in soapy water and wrung out.
NOTICE: Never use gasoline, benzene, thinner, alcohol, or the like. Discoloration, deformation, or cracks may result.
Shear blade maintenance
Before the operation or once per hour during the operation, apply low-viscosity oil (machine oil, or spray-type lubricating oil) to the shear blades.
After the operation, remove dust from both sides of the shear blades with a wired brush, wipe it off with a cloth and then apply low-viscosity oil (machine oil, or spray-type lubricating oil) to the shear blades.
NOTICE: Do not wash the shear blades in the water. Doing so may cause rust or damage to the tool.
NOTICE: Dirt and corrosion cause excessive blade friction and shorten the operating time per battery charge.
Storage
The hook hole in the tool bottom is convenient for hanging the tool from a nail or screw on the wall.
Attach the blade cover to the shear blades so that the blades are not exposed. Store the tool out of the reach of children. Store the tool in a place not exposed to moisture or rain.
Grinding the shear blades
NOTICE: If the shear blades have considerably deformed by grinding, replace the shear blades with new ones.
- Install the battery cartridge on the tool.
- Turn on and start the tool so that the upper blade and lower blade are positioned alternately.

- Turn off the tool and remove the battery cartridge from the tool.
- Remove the screw, and then remove the branch catcher.

- Set the angle of a file to 45° (for UH004G/ UH005G/UH008G/UH009G) or 50° (for UH006G/ UH007G), and grind the upper blade from 3 directions with the file.

CAUTION: Before grinding the shear blades, make sure that the tool is switched off and the battery cartridge is removed from the tool - Place the tool upside down, and then remove the burrs from the shear blades with the dressing stone.

- Set the angle of the file to 45° (for UH004G/UH005G/UH008G/UH009G) or 50° (for UH006G/ UH007G), and grind the lower blade from 3 directions with the file.
- Return the tool to its normal position, and then remove the burrs from the shear blades with the dressing stone.
- Attach the branch catcher by tightening the screw.
Grease lubrication
Interval of lubrication: Every 50 operating hours
- Remove the bolt from the hole for lubrication.

- Remove the cap from the greased vessel. Align the outlet of the greased vessel with the hole on the cover, and then press the outlet of the greased vessel onto the hole.

- Apply the grease to the tool (Approximately 5 g as a guide).
- Remove the greased vessel.
- Tighten the bolt.
TROUBLESHOOTING
Before asking for repairs, conduct your own inspection first. If you find a problem that is not explained in the manual, do not attempt to dismantle the tool. Instead, ask Makita Authorized Service Centers, always using Makita replacement parts for repairs.
| State of abnormality | Probable cause (malfunction) | Remedy |
| The motor does not run. | The battery cartridge is not installed. | Install the battery cartridge. |
| Battery problem (under voltage) | Recharge the battery. If recharging is not effective, replace the battery. | |
| The drive system does not work correctly. | Ask your local authorized service center for repair. | |
| Motor stops running after a little use. | The battery’s charge level is low. | Recharge the battery. If recharging is not effective, replace the battery. |
| Overheating. | Stop using of tool to allow it to cool down. | |
| The tool does not reach maximum RPM. | The battery is installed improperly. | Install the battery cartridge as described in this manual. |
| Battery power is dropping. | Recharge the battery. If recharging is not effective, replace the battery. | |
| The drive system does not work correctly. | Ask your local authorized service center for repair. | |
| Shear blades do not move: c> stop the machine immediately! | Foreign objects are caught between the shear blades. | 1. Use the reverse button. 2. Switch off the tool and remove the battery cartridge, and then remove the foreign objects using tools such as pliers. |
| The drive system does not work correctly. | Ask your local authorized service center for repair. | |
| Abnormal vibration: 1=> stop the machine immediately! | Shear blades are broken, bent, or worn. | Replace the shear blades. |
| The drive system does not work correctly. | Ask your local authorized service center for repair. | |
| Shear blades and motor cannot stop: 1=:> Remove the battery immediately! | Electric malfunction. | Remove the battery and ask your local authorized service center for repair. |
OPTIONAL ACCESSORIES
CAUTION: These accessories or attachments are recommended for use with your Makita tool specified in this manual. The use of any other accessories or attachments might present a risk of injury to persons. Only use accessory or attachment for its stated purpose.
If you need any assistance with more details regarding these accessories, ask your local Makita Service Center.
- Shear blade assembly
- Shear blade cover
- Chip receiver
- Grease vessel
- Makita genuine battery and charger
NOTE: Some items in the list may be included in the tool package as standard accessories. They may differ from country to country.
Makita Europe N.V.
Jan-Baptist Vinkstraat 2,
3070 Kortenberg, Belgium
Makita Corporation
3-11-8, Sumiyoshi-cho,
Anjo, Aichi 446-8502 Japan
www.makita.com










NOTICE: Apply a small amount of grease to the inner periphery of the small hole of the rod.


NOTICE: Make sure that the chip receiver does not overlap the branch catcher.
To remove the chip receiver, press the levers to release the hooks.
























