makita DUH507 Cordless Hedge Trimmer

Cordless Hedge Trimmer
Product Information
The Cordless Hedge Trimmer comes in two models:
- Model: DUH507
- Model: DUH607
The specifications of the product are as follows:
| Specification | DUH507 | DUH607 |
|---|---|---|
| Blade length | 500 mm | 600 mm |
| Strokes per minute | 2,700 min-1 | 2,700 min-1 |
| Overall length (Without battery) | 872 mm | 976 mm |
| Rated voltage | D.C. 18 V | D.C. 18 V |
| Net weight | 2.7 – 3.0 kg | 2.8 – 3.1 kg |
The applicable battery cartridge and charger for the product are as follows:
- Battery cartridge: BL1815N / BL1820B / BL1830B / BL1840B /BL1850B / BL1860B
- Charger: DC18RC / DC18RD / DC18RE / DC18SD / DC18SE / DC18SF /DC18SH / DC18WC
The product is intended for trimming hedges and has a guaranteed sound power level according to EU Outdoor Noise Directive and Sound power level according to Australia NSW Noise Control Regulation. The declared noise emission value(s) has been measured in accordance with a standard test method and may be used for comparing one tool with another. The declared noise emission value(s) may also be used in a preliminary assessment of exposure.
The noise emission during actual use of the power tool can differ from the declared value(s) depending on the ways in which the tool is used especially what kind of workpiece is processed.
Product Usage Instructions
Before using the Cordless Hedge Trimmer, be sure to read the instruction manual carefully and understand the meaning of the symbols used for the equipment.
- Read instruction manual.
- Wear eye protection.
- DANGER – Keep hands away from blade.
- Do not expose to moisture.
- Ni-MH Li-ion.
- WARNING: Wear ear protection.
When using the product, follow these instructions:
- Insert the applicable battery cartridge into the Hedge Trimmer.
- Turn on the Hedge Trimmer by pressing the trigger switch.
- Hold the Hedge Trimmer firmly with both hands, making sure to keep your hands away from the blade.
- Move the Hedge Trimmer along the hedge, cutting the branches and leaves as needed.
- Turn off the Hedge Trimmer by releasing the trigger switch.
- Remove the battery cartridge from the Hedge Trimmer and store it in a cool and dry place.
When finished using the product, be sure to clean it and store it in a safe place out of reach of children and pets.

SPECIFICATIONS
| Model: | DUH507 | DUH607 |
| Blade length | 500 mm | 600 mm |
| Strokes per minute | 2,700 min-1 | |
| Overall length (Without battery) | 872 mm | 976 mm |
| Rated voltage | D.C. 18 V | |
| Net weight | 2.7 – 3.0 kg | 2.8 – 3.1 kg |
- Due to our continuing program of research and development, the specifications herein are subject to change without notice.
- Specifications may differ from country to country.
- The weight may differ depending on the attachment(s), including the battery cartridge. The lightest and heavi-est combination, according to EPTA-Procedure 01/2014, are shown in the table.
Applicable battery cartridge and charger
| Battery cartridge | BL1815N / BL1820B / BL1830B / BL1840B / BL1850B / BL1860B |
| Charger | DC18RC / DC18RD / DC18RE / DC18SD / DC18SE / DC18SF / DC18SH / DC18WC |
- Some of the battery cartridges and chargers listed above may not be available depending on your region of residence.
WARNING: Only use the battery cartridges and chargers listed above. Use of any other battery cartridges and chargers may cause injury and/or fire.
Recommended cord connected power source
| Portable power pack | PDC01 |
- The cord connected power source(s) listed above may not be available depending on your region of residence.
- Before using the cord connected power source, read instruction and cautionary markings on them.
Symbols
The followings show the symbols which may be used for the equipment. Be sure that you understand their meaning before use.
Read instruction manual.
Wear eye protection.
DANGER – Keep hands away from blade.
Do not expose to moisture.
Only for EU countries
Due to the presence of hazardous components in the equipment, waste electrical and electronic equipment, accumulators and batteries may have a negative impact on the environment and human health. Do not dispose of electrical and electronic appliances or batteries with household waste!
In accordance with the European Directive on waste electrical and electronic equip-ment and on accumulators and batteries and waste accumulators and batteries, as well as their adaptation to national law, waste electrical equipment, batteries and accumulators should be stored separately and delivered to a separate collection point for municipal waste, operating in accordance with the regulations on environmental protection.
This is indicated by the symbol of the crossed-out wheeled bin placed on the equipment.
Guaranteed sound power level according to EU Outdoor Noise Directive.
Sound power level according to Australia NSW Noise Control Regulation.
Intended use
The tool is intended for trimming hedges.
Noise
| Model | Sound pressure level | Sound power level | ||
| LpA(dB(A)) | Uncertainty K (dB(A)) | LWA(dB(A)) | Uncertainty K (dB(A)) | |
| DUH507 | 74 | 3 | 85 | 3 |
| DUH607 | 73 | 3 | 84 | 3 |
NOTE: The declared noise emission value(s) has been measured in accordance with a standard test method and may be used for comparing one tool with another.
NOTE: The declared noise emission value(s) may also be used in a preliminary assessment of exposure.
WARNING: Wear ear protection.
WARNING: The noise emission during actual use of the power tool can differ from the declared value(s) depending on the ways in which the tool is used especially what kind of workpiece is processed.
WARNING: Be sure to identify safety measures to protect the operator that are based on an estimation of exposure in the actual conditions of use (taking account of all parts of the operating cycle such as the times when the tool is switched off and when it is running idle in addition to the trigger time).
Vibration
The vibration total value (tri-axial vector sum) determined according to EN62841-4-2:
| Model | Front handle | Rear handle | ||
| ah (m/s2) | Uncertainty K (m/s2) | ah (m/s2) | Uncertainty K (m/s2) | |
| DUH507 | 2.5 m/s2 or less | 1.5 | 2.5 m/s2 or less | 1.5 |
| DUH607 | 2.5 m/s2 or less | 1.5 | 2.5 m/s2 or less | 1.5 |
NOTE: The declared vibration total value(s) has been measured in accordance with a standard test method and may be used for comparing one tool with another.
NOTE: The declared vibration total value(s) may also be used in a preliminary assessment of exposure.
WARNING: The vibration emission during actual use of the power tool can differ from the declared value(s) depending on the ways in which the tool is used especially what kind of workpiece is processed.
WARNING: Be sure to identify safety measures to protect the operator that are based on an estimation of exposure in the actual conditions of use (taking account of all parts of the operating cycle such as the times when the tool is switched off and when it is running idle in addition to the trigger time).
EC Declaration of Conformity
- For European countries only
The EC declaration of conformity is included as Annex A to this instruction manual.
SAFETY WARNINGS
General power tool safety warnings
WARNING: Read all safety warnings, instructions, illustrations and specifications provided with this power tool. Failure to follow all instructions listed below may result in electric shock, fire and/or serious injury.
Save all warnings and instructions for future reference.
The term “power tool” in the warnings refers to your mains-operated (corded) power tool or battery-operated (cordless) power tool.
Cordless Hedge Trimmer Safety Warnings
- Keep all parts of the body away from the blade. Do not remove cut material or hold material to be cut when blades are moving. Blades continue to move after the switch is turned off. A moment of inattention while operating the hedge trimmer may result in serious personal injury.
- Carry the hedge trimmer by the handle with the blade stopped and taking care not to operate any power switch. Proper carrying of the hedge trimmer will decrease the risk of inadvertent starting and resultant personal injury from the blades.
- When transporting or storing the hedge trimmer, always fit the blade cover. Proper handling of the hedge trimmer will decrease the risk of personal injury from the blades.
- When clearing jammed material or servicing the unit, make sure all power switches are off and the battery pack is removed or disconnected. Unexpected actuation of the hedge trimmer while clearing jammed material or servicing may result in serious personal injury.
- Hold the hedge trimmer by insulated gripping surfaces only, because the blade may contact hidden wiring. Blades contacting a “live” wire may make exposed metal parts of the hedge trimmer “live” and could give the operator an electric shock.
- Keep all power cords and cables away from cutting area. Power cords or cables may be hid-den in hedges or bushes and can be accidentally cut by the blade.
- Do not use the hedge trimmer in bad weather conditions, especially when there is a risk of lightning. This decreases the risk of being struck by lightning.
- When handing the hedge trimmer to other person, once put the hedge trimmer on the ground and pick up the hedge trimmer after you completely take your hand off. Passing the hedge trimmer by hand causes holding both the front handle and the rear handle at the same time, and then the hedge trimmer starts unintentionally. Unintentional starting may causes serious injury.
Additional Safety Instructions
Preparation
- Check the hedges and bushes for foreign objects, such as wire fences or hidden wiring before operating the tool.
- The tool must not be used by children or young persons under 18 years of age. Young persons over 16 years of age may be exempted from this restriction if they are undergoing training under the supervision of an expert.
- First-time users should have an experienced user show them how to use the tool.
- Use the tool only if you are in good physical condition. If you are tired, your attention will be reduced. Be especially careful at the end of a working day. Perform all work calmly and carefully. The user is responsible for all damages to third parties.
- Never use the tool when under the influence of alcohol, drugs or medication.
- Work gloves of stout leather are part of the basic equipment of the tool and must always be worn when working with it. Also wear sturdy shoes with anti-skid soles.
- Before starting work check to make sure that the tool is in good and safe working order. Ensure guards are fitted properly. The tool must not be used unless fully assembled.
Operation
- Hold the tool firmly with both hands when using the tool.
- The tool is intended to be used by the operator at ground level. Do not use the tool on ladders or any other unstable support.
- DANGER – Keep hands away from blade. Contact with blade will result in serious personal injury.
- Do not use the tool in the rain or in wet or very damp conditions. The electric motor is not waterproof.
- Make sure you have a secure footing before starting operation.
- Do not operate the tool at no-load unnecessarily.
- Immediately switch off the tool and remove the battery cartridge if the shear blades should come into contact with a fence or other hard object. Check the blades for damage, and if damaged, replace the blades immediately.
- Before checking the shear blades, taking care of faults, or removing material caught in the shear blades, always switch off the tool and remove the battery cartridge.
- Never point the shear blades to yourself or others.
- If the blades stop moving due to the stuck of foreign objects between the blades during operation, switch off the tool and remove the battery cartridge, and then remove the foreign objects using tools such as pliers. Removing the foreign objects by hand may cause an injury for the reason that the blades may move in reaction to removing the foreign objects.
Electrical and battery safety
- Avoid dangerous environment. Don’t use the tool in dump or wet locations or expose it to rain. Water entering the tool will increase the risk of electric shock.
- Do not dispose of the battery(ies) in a fire. The cell may explode. Check with local codes for possible special disposal instructions.
- Do not open or mutilate the battery(ies). Released electrolyte is corrosive and may cause damage to the eyes or skin. It may be toxic if swallowed.
- Do not charge battery in rain, or in wet locations.
- Do not charge the battery outdoors.
- Do not handle charger, including charger plug, and charger terminals with wet hands.
Maintenance and storage
- Switch off the tool and remove the battery cartridge before doing any maintenance work.
- When moving the tool to another location, including during work, always remove the battery cartridge and put the blade cover on the shear blades. Never carry or transport the tool with the blades running. Never grasp the blades with your hands.
- Clean the tool and especially the shear blades after use, and before putting the tool into stor-age for extended periods. Lightly oil the blades and put on the blade cover.
- Store the tool with the blade cover on, in a dry room. Keep it out of reach of children. Never store the tool outdoors.
- Do not dispose of the battery(ies) in a fire. The cell may explode. Check with local codes for possible special disposal instructions.
- Do not open or mutilate the battery(ies). Released electrolyte is corrosive and may cause damage to the eyes or skin. It may be toxic if swallowed.
- Do not charge battery in rain, or in wet locations.
SAVE THESE INSTRUCTIONS.
WARNING: DO NOT let comfort or familiarity with product (gained from repeated use) replace strict adherence to safety rules for the subject product. MISUSE or failure to follow the safety rules stated in this instruction manual may cause serious personal injury.
Important safety instructions for battery cartridge
- Before using battery cartridge, read all instructions and cautionary markings on (1) battery charger, (2) battery, and (3) product using battery.
- Do not disassemble or tamper with the battery cartridge. It may result in a fire, excessive heat, or explosion.
- If operating time has become excessively shorter, stop operating immediately. It may result in a risk of overheating, possible burns and even an explosion.
- If electrolyte gets into your eyes, rinse them out with clear water and seek medical attention right away. It may result in loss of your eyesight.
- Do not short the battery cartridge:
- Do not touch the terminals with any conductive material.
- Avoid storing battery cartridge in a container with other metal objects such as nails, coins, etc.
- Do not expose battery cartridge to water or rain.
A battery short can cause a large current flow, overheating, possible burns and even a breakdown.
- Do not store and use the tool and battery car-tridge in locations where the temperature may reach or exceed 50 °C (122 °F).
- Do not incinerate the battery cartridge even if it is severely damaged or is completely worn out. The battery cartridge can explode in a fire.
- Do not nail, cut, crush, throw, drop the battery cartridge, or hit against a hard object to the battery cartridge. Such conduct may result in a fire, excessive heat, or explosion.
- Do not use a damaged battery.
- The contained lithium-ion batteries are subject to the Dangerous Goods Legislation requirements.
For commercial transports e.g. by third parties, forwarding agents, special requirement on pack-aging and labeling must be observed.
For preparation of the item being shipped, consult-ing an expert for hazardous material is required. Please also observe possibly more detailed national regulations.
Tape or mask off open contacts and pack up the battery in such a manner that it cannot move around in the packaging. - When disposing the battery cartridge, remove it from the tool and dispose of it in a safe place. Follow your local regulations relating to disposal of battery.
- Use the batteries only with the products specified by Makita. Installing the batteries to non-compliant products may result in a fire, excessive heat, explosion, or leak of electrolyte.
- If the tool is not used for a long period of time, the battery must be removed from the tool.
- During and after use, the battery cartridge may take on heat which can cause burns or low temperature burns. Pay attention to the handling of hot battery cartridges.
- Do not touch the terminal of the tool immediately after use as it may get hot enough to cause burns.
- Do not allow chips, dust, or soil stuck into the terminals, holes, and grooves of the battery cartridge. It may cause heating, catching fire, burst and malfunction of the tool or battery cartridge, resulting in burns or personal injury.
- Unless the tool supports the use near
high-voltage electrical power lines, do not use the battery cartridge near high-voltage electrical power lines. It may result in a malfunction or breakdown of the tool or battery cartridge. - Keep the battery away from children.
SAVE THESE INSTRUCTIONS.
CAUTION: Only use genuine Makita batteries. Use of non-genuine Makita batteries, or batteries that have been altered, may result in the battery bursting causing fires, personal injury and damage. It will also void the Makita warranty for the Makita tool and charger.
Tips for maintaining maximum battery life
- Charge the battery cartridge before completely discharged. Always stop tool operation and charge the battery cartridge when you notice less tool power.
- Never recharge a fully charged battery cartridge. Overcharging shortens the battery service life.
- Charge the battery cartridge with room temperature at 10 °C – 40 °C (50 °F – 104 °F). Let a hot battery cartridge cool down before charging it.
- When not using the battery cartridge, remove it from the tool or the charger.
- Charge the battery cartridge if you do not use it for a long period (more than six months).
FUNCTIONAL DESCRIPTION
CAUTION: Always be sure that the tool is switched off and the battery cartridge is removed before adjusting or checking function on the tool.
Installing or removing battery cartridge
- CAUTION: Always switch off the tool before installing or removing of the battery cartridge.
- CAUTION: Hold the tool and the battery car-tridge firmly when installing or removing battery cartridge. Failure to hold the tool and the battery cartridge firmly may cause them to slip off your hands and result in damage to the tool and battery cartridge and a personal injury.
Fig.1:
- Red indicator
- Button
- Battery cartridge

To remove the battery cartridge, slide it from the tool while sliding the button on the front of the cartridge.
To install the battery cartridge, align the tongue on the battery cartridge with the groove in the housing and slip it into place. Insert it all the way until it locks in place with a little click. If you can see the red indicator as shown in the figure, it is not locked completely.
CAUTION: Always install the battery cartridge fully until the red indicator cannot be seen. If not, it may accidentally fall out of the tool, causing injury to you or someone around you.
CAUTION: Do not install the battery cartridge forcibly. If the cartridge does not slide in easily, it is not being inserted correctly.
Indicating the remaining battery capacity
Only for battery cartridges with the indicator
Fig.2:

- Indicator lamps
- Check button
Press the check button on the battery cartridge to indi-cate the remaining battery capacity. The indicator lamps light up for a few seconds.

NOTE: Depending on the conditions of use and the ambient temperature, the indication may differ slightly from the actual capacity.
NOTE: The first (far left) indicator lamp will blink when the battery protection system works.
Tool / battery protection system
NOTICE: Depending on the usage conditions, the tool automatically stops without any indication if the branches or debris are entangled in the tool. In this case, switch off the tool and remove the battery cartridge, and then remove entangled branches or debris using tools such as pliers. After removing the branches or debris, install the battery cartridge and turn on the tool again.
The tool is equipped with a tool/battery protection sys-tem. This system automatically cuts off power to the motor to extend tool and battery life. The tool will auto-matically stop during operation if the tool or battery is placed under one of the following conditions:
Overload protection
When the tool or battery is operated in a manner that causes it to draw an abnormally high current, the tool automatically stops. In this situation, turn the tool off and stop the application that caused the tool to become overloaded. Then turn the tool on to restart.
Overheat protection
When the tool or battery is overheated, the tool stops automatically. In this case, let the tool and battery cool before turning the tool on again.
Overdischarge protection
When the battery capacity is not enough, the tool stops automatically. In this case, remove the battery from the tool and charge the battery.
Protections against other causes
Protection system is also designed for other causes that could damage the tool and allows the tool to stop automatically. Take all the following steps to clear the causes, when the tool has been brought to a temporary halt or stop in operation.
- Turn the tool off, and then turn it on again to restart.
- Charge the battery(ies) or replace it/them with recharged battery(ies).
- Let the machine and battery(ies) cool down.
If no improvement can be found by restoring protection system, then contact your local Makita Service Center.
NOTICE: If the tool stops due to a cause not described above, refer to the section for troubleshooting.
Switch action
WARNING: NEVER use the tool if it runs when you simply pull the switch trigger or the switch lever. Return the tool to our authorized service center for proper repairs BEFORE further usage.
WARNING: NEVER tape down or defeat purpose and function of switch lever.
WARNING: Before installing the battery cartridge on the tool, always check to see that the switch trigger and switch lever actuate properly and return to the “OFF” position when released. Operating a tool with a switch that does not actuate properly can lead to loss of control and serious per-sonal injury.
CAUTION: Never put your finger on the switch trigger when carrying. The tool may start unintentionally and cause injury.
For your safety, this tool is equipped with a dual switch-ing system which prevents the tool from unintended starting.
To start the tool, hold the front handle while pressing the switch lever and pull the switch trigger. To stop the tool, release either the switch trigger or the switch lever. The sequence of switching is unimportant as the tool only starts when both switches are activated.
Fig.3:

- Front handle
- Switch lever
- Switch trigger
Indication lamp
Fig.4:

- Indication lamp
The indication lamp blinks or lights up when the battery becomes low or the tool is overloaded. Refer to the following table for the status and action to be taken.
| Indication lamp | Status | Action to be taken |
| The lamp blinks | The remaining | Recharge the |
| in red. | battery is low. | battery, or replace |
| the battery with a | ||
| charged one. | ||
| The lamp lights up | The remaining | Recharge the |
| in red. | battery is empty. | battery, or replace |
| the battery with a | ||
| charged one. | ||
| The tool has | Turn off the tool, | |
| stopped due to | and remove the | |
| overload. | cause of overload. | |
| The tool has | Turn off the tool, | |
| stopped due to | and cool down the | |
| overheat. | tool and battery. |
NOTE: The time at which the indication lamp blinks or lights up varies by the temperature around the work area and the battery cartridge conditions.
Electronic function
The tool is equipped with the electronic functions for easy operation.
- Electric brake
This tool is equipped with an electric brake. If the tool consistently fails to quickly stop the shear blades after releasing the switch trigger or the switch lever, have the tool serviced at Makita Authorized Service Center.
ASSEMBLY
CAUTION: Always be sure that the tool is switched off and the battery cartridge is removed before carrying out any work on the tool.
CAUTION: When replacing the shear blades, always wear gloves so that your hands do not directly contact the shear blades.
NOTICE: When replacing the shear blades, do not wipe off grease from the gear.
Installing or removing the shear blades
CAUTION: Attach the blade cover before removing or installing the shear blades.
You can install 500 mm or 600 mm shear blades to your tool.
- Attach the blade cover to the shear blades.
Fig.5: 1. Blade cover
- Place the tool upside down.
Remove 6 screws, and then remove the cover.
Fig.6:- Screw
- Cover

- Remove the bolts and the shear blades from the tool. Then remove the dust guard, the metal sleeves and the flat washer from the shear blades.
Fig.7:- Bolt
- Shear blades
- Dust guard
- Metal sleeve
- Flat washer
NOTICE: Be careful not to lose the bolts, the dust guard, the metal sleeves, and the flat washer. These parts are needed again when installing new shear blades.
- Check if the resin sleeve remains on the machine, and if so, remove the resin sleeve.
Fig.8: 1. Resin sleeve
NOTE: Old resin sleeves are not need to be stored. The new shear blades include the new resin sleeves. - Remove the blade cover, and then attach it to the new shear blades.
Fig.9:- Blade cover

- Blade cover
- Adjust the hole positions by turning the gear as illustrated.
Fig.10:- Gear

- Gear
- Make sure the resin sleeves are attached on the shear blades.
Fig.11:- Resin sleeve

- Resin sleeve
- Apply some grease provided with the new shear blades as illustrated.
Fig.12:- Grease

- Grease
- Hold the guide bar, and then slide out the shear blades as shown in the figure.
Fig.13:- Guide bar
- Shear blades

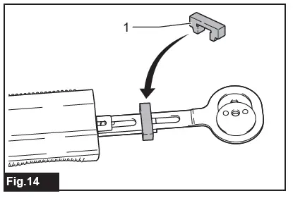
- Attach the dust guard to the shear blades.
Fig.14:- Dust guard

- Dust guard
- Place the new shear blades on the tool so that the resin sleeves fit in the holes in the gear. If the resin sleeves on the pins come off mistakenly, put them into the holes in the gear beforehand.
Fig.15:- Shear blades
- Resin sleeve
- Hole

- Slide the guide bar as shown in the figure.
Fig.16
- Place the metal sleeves and the flat washer, then tighten the bolts.
Fig.17:- Metal sleeve
- Flat washer
- Bolt

- Attach the cover, and then tighten 6 screws.
Fig.18:- Screw
- Cover

Installing or removing the chip receiver
Optional accessory
CAUTION: When installing or removing the chip receiver, always wear gloves so that your hands do not directly contact the shear blades.
NOTICE: The blade cover cannot be installed if the chip receiver is installed on the tool. Before carrying or storing the tool, uninstall the chip receiver, and then install the blade cover to avoid exposure of the shear blades.
NOTICE: Be sure to remove the blade cover before installing the chip receiver.
The chip receiver gathers discarded leaves and makes clean-up afterward much easier. It can be installed on either side of the tool.
- Align the holes on the chip receiver with the screws on the shear blades.
Fig.19:- Screw

- Screw
- Hook the claws of the chip receiver to the groove on the shear blades.
Fig.20:- Claw
- Groove

- Press the levers on the chip receiver, and then hook the claws on the other side to the groove on the shear blades.
Make sure that all the claws are hocked in the groove of the guide bar firmly.
Fig.21:- Lever
- Claw
To remove the chip receiver, press the levers to release the claws.
Fig.22:
- Lever
NOTICE: Never try to remove the chip receiver by an excessive force with its hooks locked to the shear blades.
OPERATION
WARNING: Keep hands away from shear blades.
CAUTION: Avoid operating the tool in very hot weather as much as practicable. When operat-ing the tool, be careful of your physical condition.
CAUTION: Be careful not to accidentally contact a metal fence or other hard objects while trimming. The shear blades may break and cause an injury.
CAUTION: Be careful not to allow the shear blades to contact the ground. The tool may recoil and cause an injury.
CAUTION: Overreaching with a hedge trim-mer, particularly from a ladder, is extremely dangerous. Do not work while standing on anything wobbly or infirm.
NOTICE: Do not attempt to cut branches thicker than 10 mm in diameter with the tool. Cut branches to 10 cm lower than the cutting height using branch cutters before using the tool.
Fig.23:

- Cutting height
- 10 cm
NOTICE: Do not cut down dead trees or similar hard objects. Doing so may damage the tool.
NOTICE: Do not trim the grass or weeds while using the shear blades. The shear blades may become tangled in the grass or weeds.
Hold the tool with both hands, hold the front handle while pressing the switch lever and pull the switch trigger, and then move the tool forward.
- Fig.24

For basic operation, tilt the shear blades toward the trimming direction and move it calmly and slowly at the speed rate of 3 to 4 seconds per meter.
- Fig.25

To cut a hedge top evenly, tie a string at the desired height and trim along it.
- Fig.26

If the chip receiver is attached to the shear blades, it gathers discarded leaves and makes clean-up after-ward much easier.
- Fig.27

To cut a hedge side evenly, cut from the bottom to top.
- Fig.28

When trimming to make a round shape (trimming box-wood or rhododendron, etc.), trim from the root to the top for a beautiful finish.
- Fig.29

MAINTENANCE
CAUTION: Always be sure that the tool is switched off and the battery cartridge is removed before attempting to perform inspection or maintenance.
To maintain product SAFETY and RELIABILITY, repairs, any other maintenance or adjustment should be performed by Makita Authorized or Factory Service Centers, always using Makita replacement parts.
Cleaning the tool
Clean the tool by wiping off dust with a dry cloth or one dipped in soapy water and wrung out.
NOTICE: Never use gasoline, benzine, thinner, alcohol or the like. Discoloration, deformation or cracks may result.
Shear blade maintenance
Before the operation or once per hour during operation, apply low-viscosity oil (machine oil, or spray-type lubricating oil) to the shear blades.
- Fig.30

After operation, remove dust from both sides of the shear blades with a wired brush, wipe it off with a cloth and then apply low-viscosity oil (machine oil, or spray-type lubricating oil) to the shear blades.
- Fig.31

NOTICE: Do not wash the shear blades in water. Doing so may cause rust or damage to the tool.
NOTICE: Dirt and corrosion cause excessive friction of the shear blades and shorten the operating time per battery charge.
TROUBLESHOOTING
Before asking for repairs, conduct your own inspection first. If you find a problem that is not explained in the manual, do not attempt to dismantle the tool. Instead, ask Makita Authorized Service Centers, always using Makita replacement parts for repairs.
| State of abnormality | Probable cause (malfunction) | Remedy |
| Motor does not run. | Battery cartridge is not installed. | Install the battery cartridge. |
| Battery problem (under voltage) | Recharge the battery. If recharging is not effective, replace battery. | |
| The drive system does not work correctly. | Ask your local authorized service center for repair. | |
| Motor stops running after a little use. | Battery’s charge level is low. | Recharge the battery. If recharging is not effective, replace battery. |
| Overheating. | Stop using of tool to allow it to cool down. | |
| Tool does not reach maximum RPM. | Battery is installed improperly. | Install the battery cartridge as described in this manual. |
| Battery power is dropping. | Recharge the battery. If recharging is not effective, replace battery. | |
| The drive system does not work correctly. | Ask your local authorized service center for repair. | |
| Shear blades do not move: Stop the machine immediately! | Foreign objects are caught between the shear blades. | Switch off the tool and remove the battery cartridge, and then remove the foreign objects using tools such as pliers. |
| The drive system does not work correctly. | Ask your local authorized service center for repair. | |
| Abnormal vibration: Stop the machine immediately! | Shear blades are broken, bent or worn. | Replace the shear blades. |
| The drive system does not work correctly. | Ask your local authorized service center for repair. | |
| Shear blades and motor cannot stop: Remove the battery immediately! | Electric malfunction. | Remove the battery and ask your local authorized service center for repair. |
OPTIONAL ACCESSORIES
CAUTION: These accessories or attachments are recommended for use with your Makita tool specified in this manual. The use of any other accessories or attachments might present a risk of injury to persons. Only use accessory or attachment for its stated purpose.
If you need any assistance for more details regarding these accessories, ask your local Makita Service Center.
- Shear blade assembly
- Blade cover
- Chip receiver
- Makita genuine battery and charger
NOTE: Some items in the list may be included in the tool package as standard accessories. They may differ from country to country.
Makita Europe N.V.
Jan-Baptist Vinkstraat 2,
3070 Kortenberg, Belgium
Makita Corporation
3-11-8, Sumiyoshi-cho,
Anjo, Aichi 446-8502 Japan

Guaranteed sound power level according to EU Outdoor Noise Directive.
Sound power level according to Australia NSW Noise Control Regulation.

NOTICE: Be careful not to lose the bolts, the dust guard, the metal sleeves, and the flat washer. These parts are needed again when installing new shear blades.












To remove the chip receiver, press the levers to release the claws.



















