
Cordless Hedge Trimmer INSTRUCTION MANUAL
| DUH501 DUH601 DUH751 DUH502 ![]() DUH602 DUH752 |

























(Original instructions)
SPECIFICATIONS
| Model: | DUH501 | DUH601 | DUH751 |
| Blade length | 500 mm | 600 mm | 750 mm |
| Strokes per minute | 0 – 2,000 / 0 – 3,600 / 0 – 4,400 min-1 | ||
| Overall length | 1,016 mm | 1,121 mm | 1,261 mm |
| Rated voltage | D.C. 18 V | ||
| Net weight | 3.8 – 4.5 kg | ||
| Model: | DUH502 | DUH602 | DUH752 |
| Blade length | 500 mm | 600 mm | 750 mm |
| Strokes per minute | 0 – 2,000 / 0 – 3,600 / 0 – 4,400 min-1 | ||
| Overall length | 1,016 mm | 1,121 mm | 1,261 mm |
| Rated voltage | D.C. 18 V | ||
| Net weight | 3.8 – 4.5 kg | ||
- Due to our continuing program of research and development, the specifications herein are subject to change without notice.
- Specifications may differ from country to country.
- The weight may differ depending on the attachment(s), including the battery cartridge. The lightest and heaviest combination, according to EPTA-Procedure 01/2014, are shown in the table.
Applicable battery cartridge
BL1815N / BL1820 / BL1820B / BL1830 / BL1830B / BL1840 / BL1840B / BL1850 / BL1850B / BL1860B
- Some of the battery cartridges listed above may not be available depending on your region of residence.
Symbols
The followings show the symbols used for the equipment. Be sure that you understand their meaning before use.
| Read instruction manual. | |
| Do not expose to moisture. | |
Ni-MHLi-ion | Only for EU countries Do not dispose of electric equipment or battery pack together with household waste material! In observance of the European Directives, on Waste Electric and Electronic Equipment and Batteries and Accumulators and Waste Batteries and Accumulators and their implementation in accordance with national laws, electric equipment and batteries and battery pack(s) that have reached the end of their life must be collected separately and returned to an environmentally compatible recycling facility. |
Intended use
The tool is intended for trimming hedges.
Noise
Applicable standard : EN60745-2-15
| Model | Sound pressure level | Sound power level | ||
| LPA(dB(A)) | Uncertainty K (dB(A)) | LPA(dB(A)) | Uncertainty K (dB(A)) | |
| DUH501 | 84 | 3 | 97 | 3 |
| DUH601 | 82 | 3 | 95 | 3 |
| DUH751 | 84 | 3 | 97 | 3 |
| DUH502 | 81.3 | 3 | 86.8 | 3 |
| DUH602 | 82.1 | 3 | 87.4 | 3 |
| DUH752 | 80.5 | 3 | 87.8 | 3 |
| NOTE: The declared noise emission value(s) has been measured in accordance with a standard test method and may be used for comparing one tool with another. NOTE: The declared noise emission value(s) may also be used in a preliminary assessment of exposure. |
|
Vibration
The vibration total value (tri-axial vector sum) determined according to EN60745-2-15:
Model DUH501
Vibration emission (ah) : 2.5 m/s²
Uncertainty (K) : 1.5 m/s²
Model DUH601
Vibration emission (ah) : 2.5 m/s² or less
Uncertainty (K) : 1.5 m/s²
Model DUH751
Vibration emission (ah) : 2.5 m/s²
Uncertainty (K) : 1.5 m/s²
Model DUH502
Vibration emission (ah) : 2.5 m/s²
Uncertainty (K) : 1.5 m/s²
Model DUH602
Vibration emission (ah) : 2.5 m/s² or less
Uncertainty (K) : 1.5 m/s²
Model DUH752
Vibration emission (ah) : 2.5 m/s² or less
Uncertainty (K) : 1.5 m/s²
| NOTE: The declared vibration total value(s) has been measured in accordance with a standard test method and may be used for comparing one tool with another. NOTE: The declared vibration total value(s) may also be used in a preliminary assessment of exposure. |
|
EC Declaration of Conformity
For European countries only
The EC declaration of conformity is included as Annex A to this instruction manual.
SAFETY WARNINGS
General power tool safety warnings
Save all warnings and instructions for future reference.
The term “power tool” in the warnings refers to your mains-operated (corded) power tool or battery-operated (cordless) power tool.
Cordless Hedge Trimmer Safety Warnings
- Keep all parts of the body away from the cutter blade. Do not remove cut material or hold material to be cut when blades are moving. Make sure the switch is off when clearing jammed material. A moment of inattention while operating the hedge trimmer may result in serious personal injury.
- Carry the hedge trimmer by the handle with the cutter blade stopped. When transporting or storing the hedge trimmer always fit the cutting device cover. Proper handling of the hedge trimmer will reduce possible personal injury from the cutter blades.
- Hold the power tool by insulated gripping surfaces only, because the cutter blade may contact hidden wiring. Cutter blades contacting a “live” wire may make exposed metal parts of the power tool “live” and could give the operator an electric shock.
- DANGER – Keep hands away from blade. Contact with blade will result in serious personal injury.
- Do not use the hedge trimmer in the rain or in wet or very damp conditions. The electric motor is not waterproof.
- First-time users should have an experienced hedge trimmer user show them how to use the trimmer.
- The hedge trimmer must not be used by children or young persons under 18 years of age. Young persons over 16 years of age may be exempted from this restriction if they are undergoing training under the supervision of an expert.
- Use the hedge trimmer only if you are in good physical condition. If you are tired, your attention will be reduced. Be especially careful at the end of a working day. Perform all work calmly and carefully. The user is responsible for all damages to third parties.
- Never use the trimmer when under the influence of alcohol, drugs or medication.
- Work gloves of stout leather are part of the basic equipment of the hedge trimmer and must always be worn when working with it. Also wear sturdy shoes with anti-skid soles.
- Before starting work check to make sure that the trimmer is in good and safe working order. Ensure guards are fitted properly. The hedge trimmer must not be used unless fully assembled.
- Make sure you have a secure footing before starting operation.
- Hold the tool firmly when using the tool.
- Do not operate the tool at no-load unnecessarily.
- Immediately switch off the motor and remove the battery cartridge if the cutter should come into contact with a fence or other hard object. Check the cutter for damage, and if damaged repair immediately.
- Before checking the cutter, taking care of faults, or removing material caught in the cutter, always switch off the trimmer and remove the battery cartridge.
- Switch off the trimmer and remove the battery cartridge before doing any maintenance work.
- When moving the hedge trimmer to another location, including during work, always remove the battery cartridge and put the blade cover on the cutter blades. Never carry or transport the trimmer with the cutter running. Never grasp the cutter with your hands.
- Clean the hedge trimmer and especially the cutter after use, and before putting the trimmer into storage for extended periods. Lightly oil the cutter and put on the cover. The cover supplied with the unit can be hung on the wall, providing a safe and practical way to store the hedge trimmer.
- Store the hedge trimmer with the cover on, in a dry room. Keep it out of reach of children. Never store the trimmer outdoors.
- Never point the shear blades to yourself or others.
- If the blades stop moving due to the stuck of foreign objects between the blades during operation, switch off the tool and remove the battery cartridge, and then remove the foreign objects using tools such as pliers. Removing the foreign objects by hand may cause an injury for the reason that the blades may move in reaction to removing the foreign objects.
- Avoid dangerous environment. Don’t use the tool in damp or wet locations or expose it to rain. Water entering the tool will increase the risk of electric shock.
- Do not dispose of the battery(ies) in a fire. The cell may explode. Check with local codes for possible special disposal instructions.
- Do not open or mutilate the battery(ies). Released electrolyte is corrosive and may cause damage to the eyes or skin. It may be toxic if swallowed.
- Do not charge battery in rain, or in wet locations.
- Check the hedges and bushes for foreign objects, such as wire fences or hidden wiring before operating the tool.
SAVE THESE INSTRUCTIONS.
Important safety instructions for battery cartridge
- Before using battery cartridge, read all instructions and cautionary markings on (1) battery charger, (2) battery, and (3) product using battery.
- Do not disassemble battery cartridge.
- If operating time has become excessively shorter, stop operating immediately. It may result in a risk of overheating, possible burns and even an explosion.
- If electrolyte gets into your eyes, rinse them out with clear water and seek medical attention right away. It may result in loss of your eyesight.
- Do not short the battery cartridge:
(1) Do not touch the terminals with any conductive material.
(2) Avoid storing battery cartridge in a container with other metal objects such as nails, coins, etc.
(3) Do not expose battery cartridge to water or rain.
A battery short can cause a large current flow, overheating, possible burns and even a breakdown. - Do not store the tool and battery cartridge in locations where the temperature may reach or exceed 50 °C (122 °F).
- Do not incinerate the battery cartridge even if it is severely damaged or is completely worn out. The battery cartridge can explode in a fire.
- Be careful not to drop or strike battery.
- Do not use a damaged battery.
- The contained lithium-ion batteries are subject to the Dangerous Goods Legislation requirements.
For commercial transports e.g. by third parties, forwarding agents, special requirement on packaging and labeling must be observed.
For preparation of the item being shipped, consulting an expert for hazardous material is required. Please also observe possibly more detailed national regulations. Tape or mask off open contacts and pack up the battery in such a manner that it cannot move around in the packaging. - Follow your local regulations relating to disposal of battery.
- Use the batteries only with the products specified by Makita. Installing the batteries to non-compliant products may result in a fire, excessive heat, explosion, or leak of electrolyte.
SAVE THESE INSTRUCTIONS.
Tips for maintaining maximum battery life
- Charge the battery cartridge before completely discharged. Always stop tool operation and charge the battery cartridge when you notice less tool power.
- Never recharge a fully charged battery cartridge. Overcharging shortens the battery service life.
- Charge the battery cartridge with room temperature at 10 °C – 40 °C (50 °F – 104 °F). Let a hot battery cartridge cool down before charging it.
- Charge the battery cartridge if you do not use it for a long period (more than six months).
FUNCTIONAL DESCRIPTION
Installing or removing battery cartridge
|
► Fig.1: 1. Red indicator 2. Button 3. Battery cartridge
To remove the battery cartridge, slide it from the tool while sliding the button on the front of the cartridge.
To install the battery cartridge, align the tongue on the battery cartridge with the groove in the housing and slip it into place. Insert it all the way until it locks in place with a little click. If you can see the red indicator on the upper side of the button, it is not locked completely.
|
Indicating the remaining battery capacity
Only for battery cartridges with the indicator
► Fig.2: 1. Indicator lamps 2. Check button
Press the check button on the battery cartridge to indicate the remaining battery capacity. The indicator lamps light up for a few seconds.
| Indicator lamps | Remaining capacity | ||
Lighted | Off | Blinking | |
| 75% to 100% | |||
| 50% to 75% | |||
| 25% to 50% | |||
| 0% to 25% | |||
| Charge the battery. | |||
↑↓
| The battery may have malfunctioned. | ||
| NOTE: Depending on the conditions of use and the ambient temperature, the indication may differ slightly from the actual capacity. |
Tool / battery protection system
The tool is equipped with a tool/battery protection system. This system automatically cuts off power to the motor to extend tool and battery life. The tool will automatically stop during operation if the tool or battery is placed under one of the following conditions:
| Status | Indicator lamps | ||
| Overload | ![]() | ||
| Overheat | ![]() | ||
| Over discharge | ![]() | ||
Overload protection
If the tool is overloaded by entangled branches or other debris,
and the middle indicators start blinking and the tool automatically stops.
In this situation, turn the tool off and stop the application that caused the tool to become overloaded. Then turn the tool on to restart.
| NOTICE: Depending on the usage conditions, the tool is automatically turned off without any indication if the tool is overloaded by entangled branches or debris. In this case, switch off the tool and remove the battery cartridge, and then remove entangled branches or debris using tools such as pliers. After removing the branches or debris, install the battery cartridge and turn on the tool again. |
Overheat protection for tool or battery
There are two types of overheating; tool overheating and battery overheating. When the tool over heating occurs, all speed indicators blink. When the battery over heating occurs,
indicator blinks.
If the overheating occurs, the tool stops automatically. Let the tool and/or battery cool down before turning the tool on again.
Overdischarge protection
When the battery capacity becomes low, the tool stops automatically and
indicator blinks.
If the tool does not operate even when the switches are operated, remove the battery from the tool and charge the battery.
Angle setting of the handle
|
You can set the angle of the handle to 0°, 45°, or 90° to the left or right. To change the angle of the handle, turn the handle while pulling down the lever, and then release the lever.
► Fig.3: 1. Lever
Power switch action
|
| NOTICE: Do not pull the switch trigger hard without pressing the lock-off lever. This can cause switch breakage. |
Press and hold the main power button to turn on the tool. The power lamp lights up when the tool is turned on. To turn off the tool, press and hold the main power button again. The power lamp goes off when the tool is turned off.
► Fig.4: 1. Power lamp 2. Main power button
| NOTE: The tool is automatically turned off if the tool is not operated for a certain period. |
To prevent the switch trigger from being accidentally pulled, a lock-off lever is provided. To start the tool, depress the lock-off lever, and then press the switch lever and pull the switch trigger. The tool speed increases by increasing pressure on the switch trigger. Release the switch trigger to stop.
► Fig.5: 1. Switch lever 2. Lock-off lever 3. Switch trigger
Speed adjusting
You can adjust the tool speed by tapping the main power button.
Each time you tap the main power button, the level of speed will change.
► Fig.6: 1. Power lamp 2. Main power button
| Indicator | Mode | Stroke speed |
![]() | High | 4,400 min-1 |
![]() | Medium | 3,600 min-1 |
![]() | Low | 2,000 min-1 |
This tool has a reverse button to change the direction of shear blades movement. It is only for removing branches and debris entangled in the tool.
To reverse the shear blades movement, tap the reverse button when the shear blades have stopped, then press the switch lever and pull the switch trigger while pressing the lock-off lever. The power lamp starts blinking, and the shear blades move in reverse direction.
When entangled branches and debris are removed, the tool returns to the regular movement and the power lamp stops blinking and lights up.
► Fig.7: 1. Reverse button
| NOTE: If the entangled branches or debris cannot be removed, release and pull the switch trigger until they are removed. NOTE: If you tap the reverse button while the shear blades are still moving, the tool comes to stop and to be ready for reverse movement. |
ASSEMBLY
|
| NOTICE: When replacing the shear blades, do not wipe off grease from the gear and crank. |
Installing or removing the shear blades
You can install 500 mm, 600 mm, or 750 mm shear blades to your tool.
1. Place the tool upside down, and then remove 6 screws.
► Fig.8: 1. Screw
2. Remove the cover and the plate.
► Fig.9: 1. Cover 2. Plate
| NOTE: The plate may remain on the cover. |
3. Remove the rod.
► Fig.10: 1. Rod
| NOTE: The rod may remain on the cover. |
4. Remove 2 screws, the felt pad, the washers, and the sleeves, and then remove the shear blades.
► Fig.11: 1. Felt pad 2. Screw 3. Washer 4. Sleeve 5. Shear blades
5. Remove the blade cover.
6. Attach the blade cover to the new shear blades.
7. Adjust the crank so that 2 holes are lined up on the alignment line.
► Fig.12: 1. Hole 2. Alignment line
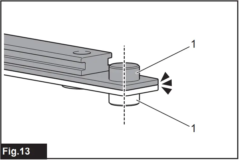
8. Align the protrusions on the shear blades vertically at the same position.
► Fig.13: 1. Protrusion
9. Attach the felt pad to the shear blades.
► Fig.14: 1. Felt pad
10. Insert the protrusion on the shear blades to the hole on the rod, then align the position of the felt pad with the holes on the tool, and then attach new sleeves and washers.
► Fig.15: 1. Protrusion 2. Hole 3. Felt pad 4. Washer 5. Sleeve
| NOTICE: Apply a small amount of grease to the inner periphery of the hole of the rod. NOTICE: Be careful not to lose the washers and the sleeves. |
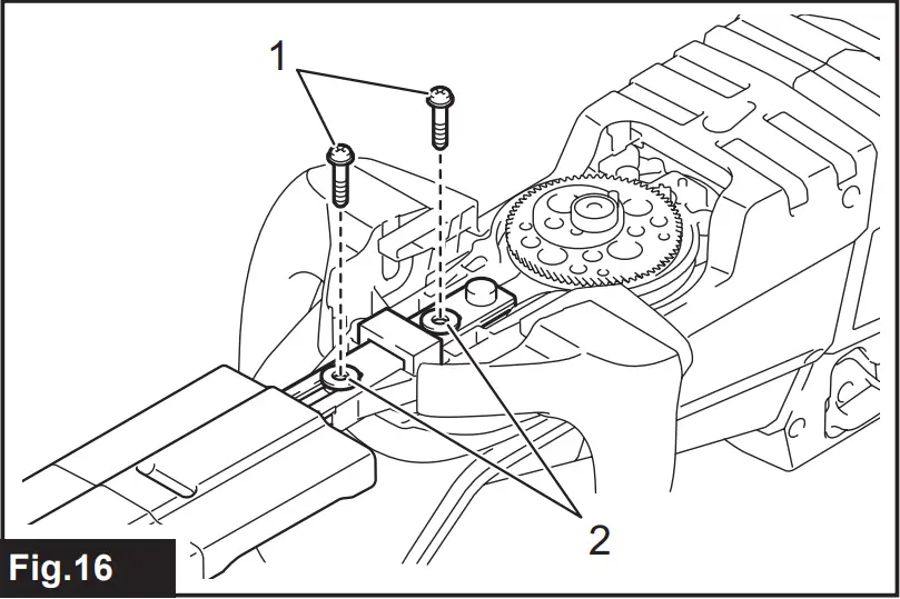
11. Align the holes on the shear blades with the holes on the tool, and then tighten 2 screws to fix the shear blades.
► Fig.16: 1. Screw 2. Hole
12. Attach the rod.
► Fig.17: 1. Rod 2. Small hole
| NOTICE: Apply a small amount of grease to the inner periphery of the small hole of the rod. NOTICE: Make sure that the protrusion on the shear blades fits in the small hole on the rod. |
13. Attach the plate.
► Fig.18: 1. Protrusion 2. Plate
| NOTICE: Make sure that the protrusion on the shear blades fits in the hole on the plate. |
14. Attach the cover, and then tighten 6 screws.
► Fig.19: 1. Cover 2. Screw
| NOTICE: Be sure to attach 2 long screws to the center holes. NOTICE: If the shear blades do not move smoothly, the shear blades are not engaged with the rods properly. Install the shear blades again. NOTICE: If the parts other than the shear blades such as the rods are worn out, ask Makita Authorized Service Centers for parts replacement or repairs. |
Installing or removing the chip receiver
Optional accessory
| NOTICE: The blade cover cannot be installed if the chip receiver is installed on the tool. Before carrying or storing the tool, uninstall the chip receiver, and then install the blade cover to avoid blade exposure. NOTICE: Be sure to remove the blade cover before installing the chip receiver. |
The chip receiver gathers discarded leaves and makes clean-up afterward much easier. It can be installed on either side of the tool.
To install the chip receiver, align the hooks of the chip receiver with the arrow marks on the shear blades, and then press the chip receiver against the shear blades so that the hooks fit into the grooves on the shear blades.
► Fig.20: 1. Hook 2. Arrow mark
► Fig.21: 1. Hook
| NOTICE: Make sure that the chip receiver does not overlap the branch catcher. |
► Fig.22: 1. Branch catcher
To remove the chip receiver, press the levers on both sides to release the hooks.
► Fig.23: 1. Lever
| NOTICE: Never try to remove the chip receiver by an excessive force with its hooks locked in the grooves of the shear blades. |
OPERATION
|
| NOTICE: Do not attempt to cut branches thicker than 10 mm in diameter with the tool. Cut branches to 10 cm lower than the cutting height using branch cutters before using the tool. |
► Fig.24: (1) Cutting height (2) 10 cm
| NOTICE: Do not cut down dead trees or similar hard objects. Doing so may damage the tool. NOTICE: Do not trim the grass or weeds while using the shear blades. The shear blades may become tangled in the grass or weeds. |
Hold the tool with both hands, press the switch lever and pull the switch trigger while pressing the lock-off lever, and then move it forward.
► Fig.25
For basic operation, tilt the shear blades toward the trimming direction and move it calmly and slowly at the speed rate of 3 to 4 seconds per meter.
► Fig.26
To cut a hedge top evenly, tie a string at the desired height and trim along it.
► Fig.27
If the chip receiver is attached to the shear blades, it gathers discarded leaves and makes clean-up afterward much easier.
► Fig.28
To cut a hedge side evenly, cut from the bottom to top.
► Fig.29
When trimming to make a round shape (trimming boxwood or rhododendron, etc.), trim from the root to the top for a beautiful finish.
► Fig.30
MAINTENANCE
To maintain product SAFETY and RELIABILITY, repairs, any other maintenance or adjustment should be performed by Makita Authorized or Factory Service Centers, always using Makita replacement parts.
Cleaning the tool
Clean the tool by wiping off dust with a dry cloth or one dipped in soapy water and wrung out.
| NOTICE: Never use gasoline, benzine, thinner, alcohol or the like. Discoloration, deformation or cracks may result. |
Shear blade maintenance
Before the operation or once per hour during operation, apply low-viscosity oil (machine oil, or spray-type lubricating oil) to the shear blades.
► Fig.31
After operation, remove dust from both sides of the shear blades with a wired brush, wipe it off with a cloth and then apply low-viscosity oil (machine oil, or spray-type lubricating oil) to the shear blades.
► Fig.32
| NOTICE: Do not wash the shear blades in water. Doing so may cause rust or damage to the tool. NOTICE: Dirt and corrosion cause excessive blade friction and shorten the operating time per battery charge. |
Storage
The hook hole in the tool bottom is convenient for hanging the tool from a nail or screw on the wall.
Attach the blade cover to the shear blades so that the blades are not exposed. Store the tool out of the reach of children. Store the tool in a place not exposed to moisture or rain.
► Fig.33: 1. Hole
Grinding the shear blades
| NOTICE: If the shear blades have considerably deformed by grinding, replace the shear blades with new ones. |
1. Install the battery cartridge to the tool.
2. Turn on and start the tool so that the upper blade and lower blade are positioned alternately.
► Fig.34
3. Turn off the tool and remove the battery cartridge from the tool.
4. Remove the screw, and then remove the branch catcher.
► Fig.35: 1. Screw 2. Branch catcher
5. Set the angle of a file to 45°, and grind the upper blade from 3 directions with the file.
► Fig.36: (1) File (2) 45°
6. Place the tool upside down, and then remove the burrs from the shear blades with the file.
► Fig.37: 1. File
7. Set the angle of the file to 45°, and grind the lower blade from 3 directions with the file.
8. Return the tool to normal position, and then remove the burrs from the shear blades with the file.
9. Attach the branch catcher by tightening the screw.
Grease lubrication
Interval of lubrication: Every 100 operating hours
1. Remove 3 screws, and then remove the bottom cover.
► Fig.38: 1. Screw 2. Bottom cover
2. Remove the cap from the grease vessel, and then attach the grease vessel to the hole on the cover by turning the grease vessel.
► Fig.39: 1. Cover 2. Grease vessel
3. Apply the grease to the tool (Approximately 5 g as a guide).
4. Remove the grease vessel.
5. Attach the bottom cover, and then tighten 3 screws.
OPTIONAL ACCESSORIES
If you need any assistance for more details regarding these accessories, ask your local Makita Service Center.
- Shear blade assembly
- Shear blade cover
- Chip receiver
- Grease vessel
- Makita genuine battery and charger
| NOTE: Some items in the list may be included in the tool package as standard accessories. They may differ from country to country. |
Makita Europe N.V.
Jan-Baptist Vinkstraat 2,
3070 Kortenberg, Belgium
Makita Corporation
3-11-8, Sumiyoshi-cho,
Anjo, Aichi 446-8502 Japan
885633A997
EN, FR, DE, IT, NL,
ES, PT, DA, EL, TR
20181022

Ni-MH
























