Aqara Motion Sensor P1 User Guide

Product Introduction
Motion Sensor P1 detects body motion and the state of ambient light.
If there are any people moving or any change in the ambient light state in the areas under detection, the motion sensor will send notice to the Aqara Home app through the connected Aqara Zigbee 3.0 Hub or link to other devices.
*An Aqara Zigbee 3.0 Hub or device with the function of Zigbee 3.0 Hub is required for use.
*If using with Apple HomeKit, an Apple Home Hub is required. Please visit www.aqara.com/support for more details.

Quick Setup
- Before activating the accessory, please make sure you have the Aqara Home app downloaded and an Aqara Zigbee 3.0 hub installed.
- Remove the insulating pull tab. Pull the tab out from under the battery contact to the direction of the arrow to activate the product.
- Please open the app, tap “Home” and then tap “+” in the top right corner to enter the “Add Device (Accessory)” page. Select “Motion Sensor P1” and add it according to instructions in the Aqara Home app.
- Please see www.aqara.com/support for additional information. *If adding fails, please move the product closer to the hub and try again.
Installation and Usage
Please confirm that communication between the motion sensor and the Aqara Zigbee 3.0 Hub works normally, and then install and fix it in position.
⚠ Installation Instructions:
- Please do not install on tile, glass, marble, or other smooth and easy-to-moisten objects to avoid the sticker from loosening.
- Please do not install on the surface of a lighting tube or other high-temperature and heating objects to avoid the sticker from loosening.
- Please do not install on the surface of wall coverings and other rough and uneven objects to avoid the sticker from loosening.
- Please do not face it against electrical appliances and other heating sources to prevent infrared jamming from causing a false trigger.


*Recommended installation height is 1.2-2 m. The detection scope gets smaller if it is lower than 1.2 m. There will be a blind zone at the bottom of the motion sensor if it is installed higher than 2 m.
Direct Installation
- Choose an appropriate installation position and make sure the installation surface is clean and flat.
- Put the sticker on the bottom of the battery cover, determine the detection direction, stick it to the desired installation position, and press hard and evenly for 30 s to make sure it sticks firmly.

Installation with Holder
- Choose an appropriate installation position and make sure installation surface is clean and flat.
- Stick the sensor to the installation pedestal, and press hard and evenly for 30 s to make sure it sticks firmly.

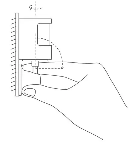
- Stick holder pedestal in the required area, and press hard and evenly for 30 s to make sure it sticks firmly. In the case of installing on a wall surface, it is recommended that the holder gap faces upward to facilitate adjusting detection direction.

Battery Replacement
- Take off the battery cover from its gap with screw driver, and stretch the screw driver into battery compartment lever opening and take off the battery compartment.

- Install two brand-new CR2450 button batteries into the battery compartment, with one firmly sticking the compartment top on the polar front and the other firmly sticking to the compartment bottom on the polar front.

- Align to and install the battery compartment based on arrow directions, and then put on the battery cover.

Product Specifications
Model: MS-S02
Battery: CR2450
Wireless Protocols: Zigbee 3.0
Dimensions: 33.1×33.1×41.6 mm
Operating Temperature: -10°C ~ 55°C (14°F ~ 131°F )
Operating Humidity: 0 ~ 95%RH, no condensation
Zigbee Operation Frequency: 2405-2480 MHz
Zigbee Maximum Output Power ≤ 13 dBm
What is in the Box: Motion Sensor P1 × 1, Holder × 1, Sticker
× 1, User Manual × 1
Online Customer Service: www.aqara.com/support Manufacturer: Lumi United Technology Co., Ltd. Address: Room 801-804, Building 1, Chongwen Park, Nanshan iPark, No. 3370, Liuxian Avenue, Fuguang Community, Taoyuan Residential District, Nanshan District, ShenzhenChina.
Warnings
- This product is not a toy, please keep children away from this product.
- This product is designed for indoor use only. Do NOT use in humid environments or outdoors.
- Beware of moisture, do NOT spill water or other liquids onto the product.
- Do not place this product near a heat source.
- Do not attempt to repair the product by yourself. All repairs should be performed by authorized personnel. 6.This product is designed only for improving the convenience of household life, and for status notifications. If the user violates the product instructions and this warning, the manufacturer is not responsible for any risks and property losses caused thereby.
Under normal use of condition, this equipment should be kept a separation distance of at least 20cm between the antenna and the body of the user.
EU Declaration of Conformity
Hereby, [Lumi United Technology Co., Ltd] declares that the radio equipment type [Motion Sensor P1,MS-S02] is in compliance with Directive 2014/53/EU. The full text of the EU declaration of conformity is available at the following internet address: https://www.aqara.com/DoC/
UK Declaration of Conformity
Hereby, [Lumi United Technology Co., Ltd] declares that the radio equipment type [Motion Sensor P1,MS-S02] is in compliance with Directive 2017 (SI 2017 No. 1206, as amended by SI 2019 No. 696). The full text of the UK declaration of conformity is available at the following internet address: http://www.aqara.com/DoC/.
WEEE Disposal and Recycling Information
All products bearing this symbol are waste electrical and electronic equipment (WEEE as in directive 2012/19/EU) which should not be mixed with unsorted household waste. Instead, you should protect human health and the environment by handing over your waste equipment to a designated collection point for the recycling of waste electrical and electronic equipment, appointed by the government or local authorities. Correct disposal and recycling will help prevent potential negative consequences to the environment and human health. Please contact the installer or local authorities for more information about the location as well as terms and conditions of such collection points.
FCC ID:2AKIT-MSS02
Federal Communications Commission (FCC) compliance statement: 1.This device complies with part 15 of the FCC Rules. Operation is subject to the following two conditions: (1) This device may not cause harmful interference, and (2) this device must accept any interference received, including interference that may cause undesired operation. 2.Changes or modifications not expressly approved by the party responsible for compliance could void the user’s authority to operate the equipment. Note: This equipment has been tested and found to comply with the limits for a Class B digital device, pursuant to part 15 of the FCC Rules. These limits are designed to provide reasonable protection against harmful interference in a residential installation. This equipment generates, uses and can radiate radio frequency energy and, if not installed and used in accordance with the instructions, may cause harmful interference to radio communications. However, there is no guarantee that interference will not occur in a particular installation. If this equipment does cause harmful interference to radio or television reception, which can be determined by turning the equipment off and on, the user is encouraged to try to correct the interference by one or more of the following measures:
–Reorient or relocate the receiving antenna.
–Increase the separation between the equipment and receiver.
–Connect the equipment into an outlet on a circuit different from that to which the receiver is connected.
–Consult the dealer or an experienced radio/TV technician for help. RF Exposure statement: This equipment complies with FCC radiation exposure limits set forth for an uncontrolled environment. This equipment should be installed and operated with minimum distance of 20 cm between the radiator and your body. This transmitter must not be co-located or operating in conjunction with any other antenna or transmitter.
IC:22635-MSS02
IC NOTICE TO CANADIAN USERS This device contains licence-exempt transmitter(s)/receiver(s) that comply with Innovation, Science and Economic Development Canada’s licence-exempt RSS(s). Operation is subject to the following two conditions: (1) This device may not cause interference.
(2) This device must accept any interference, including interference that may cause undesired operation of the device. This Class B digital apparatus complies with Canadian ICES003. This device complies with RSS247 of Industry Canada. Operation is subject to the condition that this device does not cause harmful interference. This equipment complies with IC radiation exposure limits set forth for an uncontrolled environment. This equipment should be installed and operated with minimum distance of 20 cm between the radiator and your body. This transmitter must not be co-located or operating in conjunction with any other antenna or transmitter.
Scan to get the Zigbee 3.0 Install Code on the last page of the manual.
*Please read this manual carefully and keep it in a safe place.
*If necessary, the contents of this manual will be modified or adjusted without special notice.



















