Landi 59892.01 Wall Lamp with Sensor Instruction Manual
Safety directions / Please read this information carefully before installing or using this product. Please keep this user manual for further reference.
- The manufacturer does not accept any responsibility for injuries or damage resulting from improper use of the light.
- Use only the individual parts supplied, otherwise all warranty claims will be void.
- Maintenance of the product is limited to its surfaces. Moisture must not get into connection compartments or parts carrying mains voltage.
- The product has a protection rating of IP65 and is water jet proof. It is intended exclusively for use in private households.
- Do not cover the product with any objects. Excessive heat generation may cause fire.
- Do not hang objects on the light and do not pull the product.
- The light source of this luminaire is not replaceable. When the light source reaches its end of life, the entire product must be replaced.
- Do not look directly into the light source (bulb, LED, etc.). Do not look at the LED with an optical instrument (e.g. magnifying glass).
- Colour deviations of LEDs of different batches are possible. The light colour and luminosity of LEDs may also change depending on the service life.
- Batteries or rechargeable batteries must not be disposed of with household waste. They must be disposed of as hazardous waste in accordance with the regulations of the responsible authorities. Use the available collection points for this purpose.
- Only use batteries of the type specified under “Technical data”.
The symbol of the crossed-out garbage can on the product or the packaging means that the product must not be disposed with ordinary household waste. At the end of its useful life, the product must be returned to a point of acceptance for the recycling of electric and electronic device. Please ask your local municipality for the point of acceptance.
Assembly
Remove the product from the packaging. If you open the packaging carelessly with a sharp knife or other pointed objects, the product can be damaged quickly. Be very careful when opening it.
When installing the mounting bracket, make sure that the mounting material is suitable for the substrate and that the substrate has appropriate loadbearing capacity. The manufacturer cannot accept any liability for improper installation of the product to the respective substrate.
Attention! Before drilling the mounting holes, make sure that no gas, water or power lines can be damaged at the drilling location. Before starting the installation work, disconnect the power supply line from the mains – switch off the automatic circuit breaker or unscrew the fuse. Switch to “OFF”
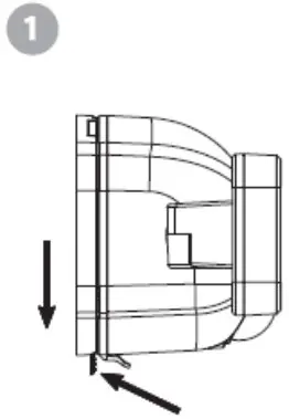
- Remove the mounting bracket at the back of the product by loosening it as shown in the figure (❶) and pulling it downwards from the lamp (❷).


- Unscrew the screws at the back of the lamp in counterclockwise direction (❸).

- Open the cover of the battery compartment (❹) at the back of the lamp.

- Insert the batteries into the battery compartment by observing the polarity marking (+/-) (❺). Only use fresh batteries of the type specified under “Technical data”.

- Set the desired operating mode by moving the switch to the appropriate position (❻). The operating modes are explained in more detail in the “Operation” section.

- Close the cover of the battery compartment (❼).

- Insert the screws and tighten them clockwise (❽) to close the battery compartment securely.

- Mark the drill holes using the holes provided for the screws in the mounting bracket. Drill the mounting holes. Make sure that no cables are damaged. Insert dowels into the drill holes, if necessary. Fasten the mounting bracket with the supplied screws (❾).

- Attach the lamp to the mounting bracket by sliding it from above into the provided holding fixtures (❿).

Operation
The light is equipped with a dusk and motion sensor and can be operated in four different modes. The desired operating mode can be set via the switch on the back of the lamp (see Assembly, 5.). The dusk sensor ensures that the light is activated in dark environments.
Description of operating modes:
- AUTO: When motion is detected, the light switches on at full brightness for approx. 20 seconds and then switches off automatically. If motion is detected again during light up time, the light duration is extended accordingly.
- EXTEND: When motion is detected, the light switches on at full brightness for approx. 20 seconds. Immediately afterwards, the light intensity is automatically reduced to approx. 25% of the maximum brightness for a period of approx. 100 seconds. After this total period of approx. 120 seconds, the light switches off automatically. If movement is detected again up to approx. 20 seconds before the end of automatic switch-off, the total lighting time will not be extended. However, if motion is detected within the last approx. 20 seconds before switching off, the light switches to maximum brightness for approx. 20 seconds and then switches off automatically
- ALERT: If motion is detected, the light flashes three times, then remains on for approx. 20 seconds at full brightness, after which it switches off automatically. If motion is detected again during this time, the light duration is extended accordingly.
- ECO: The light switches on at a dimming level of approx. 60% of the maximum brightness for approx. 20 seconds and then switches off automatically. If motion is detected again during this time, the light duration is extended accordingly.
Alternatively, the lamp can be controlled with the enclosed remote control. It does not matter where the switch on the lamp is positioned. The buttons on the remote control determine the selection of the operating mode.
In addition to the direct selection of the operating modes already described above, the following functions can be selected by remote control:
- ON: The light switches on for approx. 30 minutes (even in bright surroundings). Afterwards, the light automatically switches to AUTO mode.
- OFF: The light switches off for approx. 4 hours. After that, it automatically switches to AUTO mode

The lamp heads can be flexibly aligned. In addition, the reflectors can be removed if desired.
Technical data
Product number: 59892.01 / 89501
Light source: 2 x LED, not replaceable
Protection class: III
Protection rating: IP65
Operating voltage: 9V DC
Battery (lamp): 6 x 1.5V D battery (not included)
Battery (remote control): 1 x 3V CR2025 lithium button cell
Manufactured for:
Schulriederstrasse 5 Einsteinallee 9 1-3, rue F.W. Raiffeisen www.landi.ch
The symbol of the crossed-out garbage can on the product or the packaging means that the product must not be disposed with ordinary household waste. At the end of its useful life, the product must be returned to a point of acceptance for the recycling of electric and electronic device. Please ask your local municipality for the point of acceptance.




























