TOOLCRAFT 2475770 Magnifying Lamp 127mm Instruction Manual
Intended Use
This product is intended for magnifying the view of objects. It can be clamped to a surface (e.g.table, work bench), has an LED ring lamp located around the lens and is powered via mains adaptor. Warm and cold lighting both have 6 brightness levels. It is intended for indoor use only. Do not use it outdoors. Contact with moisture, e.g. in bathrooms, must be avoided under all circumstances. For safety and approval purposes, you must not rebuild and/or modify this product. If you use the product for purposes other than those described above, the product may be damaged. In addition, improper use can result in short circuits, fires, electric shocks or other hazards. Read the instructions carefully and store them in a safe place. Make this product available to third parties only together with its operating instructions. This product complies with the statutory national and European requirements. All company names and product names are trademarks of their respective owners. All rights reserved.
Delivery Content
- Lamp
- Clamp
- Power adaptor
- Operating instructions
Up-to-date Operating Instructions
Download the latest operating instructions at www.conrad.com/downloads or scan the QR code shown. Follow the instructions on the website.
Explanation of Symbols
The symbol with the lightning in the triangle is used if there is a risk to your health, e.g. due to an electric shock.
The symbol with the exclamation mark in the triangle is used to indicate important information in these operating instructions. Always read this information carefully.
The arrow symbol indicates special information and advice on operation.
Safety Instructions
![]()
Read the operating instructions carefully and especially observe the safety information. If you do not follow the safety instructions and information on proper handling in this manual, we assume no liability for any resulting personal injury or damage to property. Such cases will invalidate the warranty/ guarantee.
a) General
- The device is not a toy. Keep it out of the reach of children and pets.
- Do not leave packaging material lying around carelessly. This may become dangerous playing material for children.
- Protect the device from extreme temperatures, direct sunlight, strong jolts, high humidity, moisture, flammable gases, steam and solvents.
- Do not place the product under any mechanical stress.
- If it is no longer possible to operate the product safely, take it out of operation and protect it from any accidental use. Safe operation can no longer be guaranteed if the product:
- is visibly damaged,
- is no longer working properly,
- has been stored for extended periods in poor ambient conditions or
- has been subjected to any serious transport-related stresses.
- Please handle the product carefully. Jolts, impacts or a fall even from a low height can damage the product.
- Consult an expert when in doubt about the operation, safety or connection of the device.
- Maintenance, modifications and repairs must only be completed by a technician or an authorised repair centre.
- If you have questions which remain unanswered by these operating instructions, contact our technical support service or other technical personnel.
- Attention, LED light:
- Do not look directly into the LED light!
- Do not look into the beam directly or with optical instruments!
b) Power Adapter
- The power supply must be located near to the device and be easily accessible.
- The mains outlet must be located near to the device and be easily accessible.
- As power supply, only use the supplied mains adaptor.
- Only connect the power adaptor to a normal mains socket connected to the public supply. Before plugging in the power adaptor, check whether the voltage stated on the power adaptor complies with the voltage of your electricity supplier.
- Never connect or disconnect power adaptors if your hands are wet.
- Never unplug the power adaptor from the mains socket by pulling on the cable; always use the grips on the plug.
- When setting up the product, make sure that the cable is not pinched, kinked or damaged by sharp edges.
- Always lay the cables so that nobody can trip over or become entangled in them. This poses a risk of injury.
- For safety reasons, disconnect the power adaptor from the mains socket during storms.
c) Product
- Never use the device immediately after it has been brought from a cold room into a warm one. The condensation generated could destroy the product. Allow the
device to reach room temperature before connecting and using it. This may take several hours. - Always cover the lens with the hinged lens cover when not in use. Otherwise there is a risk of fire during direct sunlight since the lens acts like a burning glass.
- Do not touch the lens with your fingers or sharp/pointed objects.
- Never use the lens to stare directly into bright light sources. There is a risk of eye damage!
- Never pour liquids above or near the product.
- Attach the clamp bracket to a horizontal, flat, and stable surface only. Do not attach any objects (e.g. decorative material) to the product.
- Never mount the product in the vicinity of easily flammable materials (i.e. curtains, fabrics, etc.). Make sure no object (e.g. curtain) can touch or come near the lamp head, for example due to a draught. Otherwise there is a risk of fire!
- For installations in industrial facilities, follow the accident prevention regulations for electrical systems and equipment of the government safety organization or the corresponding authority for your country.
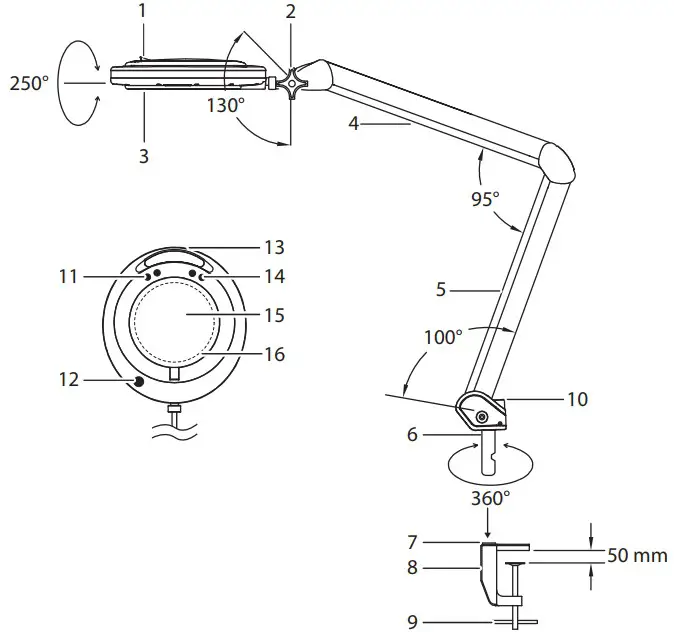
Operating Elements

- Lens cover
- Lamp head adjust lock
- LED ring light
- Upper arm
- Lower arm
- Lamp attachment plug
- Clamp socket
- Base clamp
- Clamp screw
- DC input jack
- Cold light setting button
- ON/OFF switch
- Lamp head adjust handle
- Warm light setting button
- Magnifying lens
- Lens lock
Installation
The lamp arms are spring loaded, open carefully when removing from packaging.
a) Attach Clamp
Do not use force to over tighten the clamp screw (9) as this may damage the base clamp (8) and surface it is attached to. The maximum clamp range is approximately 50 mm. Always make sure the lamp is securely held in place before letting go. The base clamp (8) may leave marks or scratch sensitive surfaces. Attach the base clamp (8) to a suitable horizontal surface (e.g. table, work bench).
- Loosen the clamp screw (9).
- Slide the clamp onto the horizontal surface.
- Tighten the clamp screw (9).
b) Connect Lamp to Base
- Insert the lamp attachment plug (6) into the clamp socket (7).
- Gently check to make sure the connection is secure before letting go.
Operation
The upper arm (4) and lower arm (5) are spring loaded and can be adjusted within the specified ranges. Over adjusting or using excessive force may cause damage. Please hold the base clamp (8) while making adjustments to prevent the lamp from falling over. Do not use force or adjust beyond the specified adjustment angles.
- Connect the power adaptor cable to the DC input jack (10) and the other end to a mains power supply.
- Adjust the lamp head to the desired position.
- Flip the lens cover (1) open.
- Press the ON/OFF switch (12) to turn the LED ring light (3) on or off.
- Close the lens (1) cover after use.
a) Colour Temperature / Brightness Levels Adjust - They can be adjusted at the same time for a combination of cool and warm lighting.
- There are 6 brightness levels for each colour temperature.
- Tap to increase or decrease brightness.
Icon Description 
Cold light setting button (11)
(decrease / increase) brightness.
Warm light setting button (14)
(increase / decrease) brightness.
Remove / Replace Lens
Always disconnect the lamp from the power supply before attempting to remove / replace the lens.
To prevent damage, always make sure the lens lock (16) is secured and the magnifying lens (15) is held in place.
- Flip the lens hood (1) open.
- Turn the lens lock (16) counterclockwise to release the magnifying lens (15).
- Carefully remove / replace the magnifying lens (15).
- Turn the lens lock (16) clockwise to fix the magnifying lens (15) in place.
Care and Cleaning
- Disconnect the product from the power supply before cleaning.
- Under no circumstances use aggressive cleanings agents, cleaning alcohol or other chemical solutions since these can penetrate the housing or impair functionality.
- The product does not require any maintenance, do not disassemble it.
- Clean the product with a dry, fibre-free cloth.
- Use a lens cleaning cloth for cleaning the lens. Alternatively, use a dry, clean, soft and lintfree cloth or a dust brush. If necessary, you can moisten the cloth with a small amount of lukewarm water.
- When cleaning the lens with a cleaning agent, make sure not to directly apply the cleaner on the lens. Always apply the cleaning agent to the cloth first.
- When cleaning, do not apply too much force on the lens or housing in order to avoid scratching.
- The LEDs are built-in and cannot be replaced.
Disposal
This symbol must appear on any electrical and electronic equipment placed on the EU market. This symbol indicates that this device should not be disposed of as unsorted municipal waste at the end of its service life. Owners of WEEE (Waste from Electrical and Electronic Equipment) shall dispose of it separately from unsorted municipal waste. Spent batteries and accumulators which are not enclosed by the WEEE, as well as lamps that can be removed from the WEEE in a non-destructive manner, must be removed by end users from the WEEE in a non-destructive manner before it is handed over to a collection point.
Distributors of electrical and electronic equipment are legally obliged to provide free take-back of waste. Conrad provides the following return options free of charge (more details on our website):
- in our Conrad offices
- at the Conrad collection points
- at the collection points of public waste management authorities or the collection points set up by manufacturers or distributors within the meaning of the ElektroG
End users are responsible for deleting personal data from the WEEE to be disposed of. It should be noted that different obligations about the return or recycling of WEEE may apply in countries outside of Germany
Technical Data
a) General
Input 20 V/DC
Power consumption max. 10 W
LED 30 pcs SMD (warm) 30 pcs SMD (cold)
Dimming 6 levels
Colour temperature 3500 – 6500 K
Luminous flux 0 – 800 lm
Lens Ø 127 mm
Magnification factor 1.75x
Lens material Glass
Clamp range Approx. 50 mm
Operating / storage conditions -5 to +40 °C, ≤ 95 % RH
Dimensions (L x W x D) 650 x 230 x 820 mm
Weight 2260 g (lamp) 296 g (clamp)
b) AC Adapter
Input 200 – 240 V/AC, 50 – 60 Hz
Output 20 V/DC, 500 mA, max. 10 W
Weight 75 g (adaptor)
This is a publication by Conrad Electronic SE, Klaus-Conrad-Str. 1, D-92240 Hirschau (www.conrad.com). All rights including translation reserved. Reproduction by any method, e.g. photocopy, microfilming, or the capture in electronic data processing systems require the prior written approval by the editor. Reprinting, also in part, is prohibited. This publication represents the technical status at the time of printing.


















