S P EDM-80L Interior Bathroom Extractor

Product Information
- The EDM-80L is a ventilation appliance designed for use in bathrooms, toilets, showers and similar areas. It is suitable for use in countries with warm and damp climates, as specified in IEC 60721-2-1. The appliance is available in two models; the EDM 80 L/LZ and the EDM 80 LR/LRZ.
- The EDM 80 LR/LRZ model is fitted with an adjustable timer that allows the extractor to continue running for a specified time after the switch has been turned off. The appliance has a power consumption of 13 W and operates at 230 V / 50 Hz. It has a low noise level and unique advantages in the market due to its air displacement capacity and exhaust pressure.
Product Usage Instructions
- This appliance can be used by children aged 8 years and above, and individuals with reduced physical, sensory, or mental capabilities. However, they must be given supervision or instructions on the safe use of the appliance and understand the hazards involved. Children should not play with the appliance. Cleaning and user maintenance should not be made by children without supervision.
- Before installation, check that the unit is in perfect condition as any defect of manufacturing is covered by the S&P guarantee.
- Switch off the power supply before installing and making electrical connections.
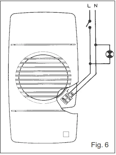
- The connection may be made in such a way that the fan comes into operation when the light is switched on or alternatively, an independent switch may be used.
- Do not try to remove any parts other than those mentioned, as any tampering will automatically cancel the S&P guarantee.
- At the end of its serviceable life, the appliance should be taken to the nearest Waste Management Plant for recycling.
User instruction
This appliance can be used by children aged from 8 years and above and persons with redu-ced physical, sensory or mental capabilities or lack of experience and knowledge if they have been given supervision or instruction concer-ning use of the appliance in a safe way and un-derstand the hazards involved. Children shall not play with the appliance. Cleaning and user maintenance shall not be made by children wi-thout supervision.
Please check that your unit is in per-fect conditions when unpackaging it, as any defect of manufacturing is co-vered by the S&P guarantee.
INSTALLATION
Important: be sure to switch off the power supply before installing and making the electrical connections.
- The EDM-80 L is particularly suitable for ventilation of bathrooms, toilets, showers, etc. either discharging to outside, or through individual ducts and ducting systems, and has been specially designed for fi tting in the same location asa standard builders wall vent.
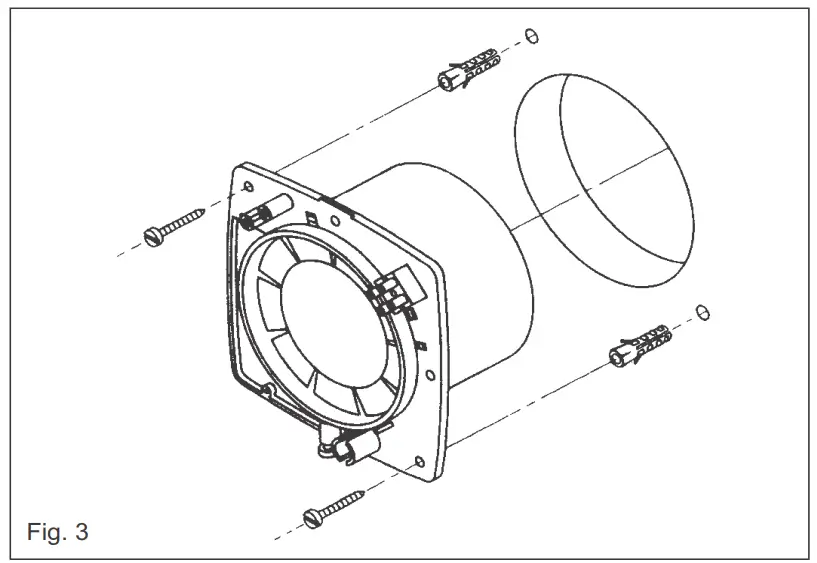
- Before installation, remove the front grille by loosening the fi xing screw (Fig. 1).
- A circular hole approximately 100 mmØ diameter must be made in the wall or ceiling and the fan spigot in-serted into the hole, fi xing the fan ca-sing by means of the wall plugs and screws supplied. Ensure that there are no obstructions to the airfl ow is discharge is to outside or into a com-munal ventilation system.
- When individual outlet ducting is used, standard 100 mm Ø diameter should be used.



WIRING
- This appliance is conside-red to be suitable for use in countries having a warm damp equable climate as specifi ed in IEC 60721-2-1. It may also be used in other countries.
- The EDM-80 L is suitable for connec-tion toa single phase supply at the voltage and frecuency indicated on the rating plate. This appliance has double (Class II) electrical insulation and therefore does not require ear-thing.
- Connection terminals are situated under the front cover.
- There should bea double pole isola-ting switch in the installation (witha contacting opening of at least 3 mm). For surface wiring pass the cable through cable gland as shown in Fig. 5b (not as Fig. 5a) then under the ca-ble anchorage secure.
- For recessed wiring, open membrane in fan back plate, pass cable through and secure with cable anchorage.

EDM-80 L / LZ
The connection may be made in such a way that fan comes into operation when the light is switched on (Fig. 6), alternatively an independent switch may be used (Fig. 7).


EDM-80 LR / LRZ
- Model fi tted with an adjustable timer (1-30 min.) enables the extractor to continue running during the time delay, after the switch has been swit-ched off (Fig. 8).
- We recommend you not to try and re-move any more parts than those men-tioned as any tampering would auto-matically cancel the S&P guarantee.

PUTTING OUT OF SERVICE AND RECYCLING
EEC legislation and our consideration of future generations mean that we should always recycle materials where possible; please do not forget to deposit all packaging in the appropriate recycling bins. If your device is also labeled with this symbol, please take it to the nearest Waste Management Plant at the end of its servicable life.
ABOUT COMPANY
- C. Llevant, 4
- Polígono Industrial Llevant
- 08150 Parets del Vallès
- Barcelona – España
- Tel. +34 93 571 93 00
- www.solerpalau.com























