ASSA ABLOY HS-HD Aluminum Continuous Hinges

Applies to the following product

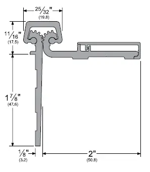
Half Surface – Standard/Heavy Duty
- Tested and certified with the best warranty in the industry.
- No restrictions on frame gauge and wall conditions.
- No restriction on cutting hinges in field.
- No special cutting instructions or voided warranties.
- No special door and frame preps up to and including 90 minute doors.
Testing/Ratings
- Aluminum continuous hinge for use on swinging type fire doors of the hollow metal, tin-clad, sheet metal and steel covered composite type rated up to 3 hours, wood covered composite type rated up to and including 1-1/2 hours. Also wood core rated up to and including 20 minutes without hose stream. Meet criteria of UBC 7.2 for positive pressure.
Installation Instructions
Half Surface units are designed mainly for retrofit work, and are applied to the exposed surface of the door and frame, with clearances as shown below in Figures A & B (below).
- Open the PemkoHinge® leafs and position the frame leaf portion against the frame rabbet. Be sure the leaf alignment flange is tight against the face of the frame. Allow 1/8” between the frame header and the top of the hinge leaf, for door clearance.
- Mark and drill for #12-24 x 7/16” thread forming screws, per Drill Size Chart (below), and attach frame leaf to frame. (Use wax or soap on screws to aid installation.)
- Position the door in the opening; shim to adjust for proper clearance (See Figures A and B).
- Install the six (6) #12-24 x 3/4” self drill/tapping screws in the six (6) 7/32” holes located in the door leaf portion of the hinge.
- Remove shims and open the door. Check for proper swing and clearances. Adjust if required.
- Close the door. Mark the centers of the remaining holes. Drill holes all the way through the door using a 1/4” diameter drill.
- Open the door. Enlarge the 1/4” holes on the inside face of the door using a 3/8” dia. drill. Finish attaching door leaf portion of PemkoHinge® to the face of the door using the four (4) thru-bolts and shoulder bolts. Thru-bolts attach from inside face; shoulder bolts attach from the outside of face.
- To complete the installation, secure the cover by hooking the edge away from hinge gears under the door leaf and then snap the other edge over using a rubber mallet on far side, working from top to bottom. Adjust so top of cover is flush with top of hinge (See Figure 1).

Shortening the Hinge
- If the hinge must be shortened, cut the bottom only using a chop saw. This will allow metal chips to work out after the installation. Although it is not handed, the hinge becomes handed after cutting and the cut edge must be installed at the bottom of the opening.
DRILL SIZE CHART
FIGURE A

FIGURE B

- Allow extra clearance as required per astragal manufacturer. Certain door and frame conditions may require an extra 1/32″-1/16″ clearance. Excessive clearance on fire rated assemblies may violate the requirements of NFPA 80.
Tools Required

SECTION 08710 DOOR HARDWARE (CONTINUOUS GEARED DOOR HINGES)
PART 1 GENERAL
SUMMARY A.Section Includes: Continuous Geared Door Hinges. Specifier Note: Revise paragraph below to suit project requirements. If a reader of this section could reasonably expect to find a product or component specified in this section, but it is actually specified elsewhere, then the related section number(s) should be listed in the paragraph below. Add section numbers and titles per CSI MasterFormat and specifier’s practice. In the absence of related sections, delete paragraph below.
Related Sections
- Division 6 Section(s): Wood Frames.
- Division 8 Section(s): Steel Doors, Wood Doors, Sound Control Doors, Aluminum Frame Storefront Doors.
- Division 10 Section(s): Compartments and Cubicles, Partitions.
- Division 13 Section(s): Special Facilities, Integrated Construction, Special Structures, Special Purpose Rooms.
Specifier Note: Article below may be omitted when specifying manufacturer’s proprietary products and recommended installation. Retain References Article when specifying products and installation by an industry reference standard. If retained, list standard(s) referenced in this section. Indicate issuing authority name, acronym, standard designation and title. Establish policy for indicating edition date of standard referenced. Conditions of the Contract or Division 1 References Section may establish the edition date of standards. This article does not require compliance with standard. It is a listing of all references used in this section.
REFERENCES
- ASTM International:
- ASTM E2074 Standard Test Method for Fire Tests of Door Assemblies, Including Positive
- Pressure Testing of Side-Hinged and Pivoted Swinging Door Assemblies.
- B.American National Standards Institute/Builders Hardware Manufacturers Association (ANSI/BHMA):
- ANSI/BHMA A156.18 Materials and Finishes.
- ANSI/BHMA A156.26 Standards for Continuous Hinges.
- American National Standards Institute/Steel Door Institute (ANSI/SDI):
- ANSI A250.8/SDI-100 Recommended Specifications for Standard Steel Doors and Frames.
- American National Standards Institute/Window and Door Manufacturers Association (ANSI/WDMA):
- ANSI/WDMA I.S.1-A Architectural Wood Flush Doors.
- Federal Government:
- U.S. Architectural & Transportation Barriers Compliance Board. Americans with Disabilities Act (ADA), Accessibility Guidelines for Buildings and Facilities (ADAAG), 1992.
- Federal Standard FED-STD-795-1988 (Revised 1989) Uniform Federal Accessibility Standards.
- Underwriters Laboratories, Inc. (UL):
- UL 10B Fire Tests of Door Assemblies.
- UL 10C Fire Tests of Door Assemblies.
- UL 752 Bullet Resistant Equipment.
- International Code Council (ICC):
- UBC 7-2 Fire Test of Door Assemblies (Positive Pressure).
- International Building Code (IBC) Code 2000 (Positive Pressure).
- ICC/ANSI A117.1 Accessible and Usable Buildings and Facilities.
- British Standards (BS):
- BS 476 Fire Tests on Building Materials and Structures.
- National Fire Protection Association (NFPA):
- NFPA 1 Fire Prevention Code.
Specifier Note: Article below should be restricted to statements describing design or performance requirements and functional (not dimensional) tolerances of a complete system. Limit descriptions to composite and operational properties required to link components of a system together and to interface with other systems.
SYSTEM DESCRIPTION
Design Requirements: Provide continuous geared door hinges which have been manufactured, fabricated and installed to meet the following design criteria
- Continuous geared configuration, designed to distribute loads uniformly.
- Identical operation in each leaf, designed to reduce door opening effort.
- UL labeled for 3 hour fire classification.
- Durability tested to ANSI/BHMA A156.26 Grade 1, 2, 3.
Specifier Note: Article below includes submittal of relevant data to be furnished by Contractor before, during or after construction. Coordinate this article with Architect’s and Contractor’s duties and responsibilities in Conditions of the Contract and Division 1 Submittal Procedures Section.
SUBMITTALS
- A.General: Submit listed submittals in accordance with Conditions of the Contract and Division 1 Submittal Procedures Section.
- B.Product Data: Submit manufacturer’s product data and installation instructions.
- C.Shop Drawings: Provide drawings indicating required component locations, installation interface with adjacent materials, anchorage, fastening and similar information.
- D.Samples: Submit one each of manufacturer’s standard selection samples.
- E.Quality Assurance/Control Submittals: Submit the following:
- Test Reports: Upon request, submit [Fire] [And] [Durability] test reports from recognized testing laboratory.
- Certificates: Submit manufacturer’s certificate that products meet or exceed specified requirements.
Closeout Submittals: Submit the following
- Warranty documents specified herein.
Specifier Note: Article below should include statements of prerequisites, standards, limitations and criteria that establish an overall level of quality for products and workmanship for this section. Coordinate article below with Division 1 Quality Assurance Section.
QUALITY ASSURANCE
- A. Installer Qualifications: Utilize an installer having demonstrated experience on projects of similar size and complexity.
Specifier Note: Paragraph below should list obligations for compliance with specific code requirements particular to this section and authority having jurisdiction. General statements to comply with a particular code are typically addressed in Conditions of the Contract and Division 1 Regulatory Requirements Section. Repetitive statements should be avoided. - B.Regulatory Requirements and Approvals: [Specify applicable requirements of regulatory agencies.].
[Code agency name].
- A. [Report or approval number].
- C.Certifications: [Specify requirement for certifications.].
- D.Field Samples: [Specify requirement for field samples.].
- E.Mock-Ups: [Specify requirements for mock-up.].
- Subject to acceptance by owner, mock-up may be retained as part of finish work.
- If mock-up is not retained, remove and properly dispose of mock-up.
Specifier Note: Retain paragraph below if preinstallation meeting is required. F. Preinstallation Meetings: [Specify requirements for meeting.]. Specifier Note: Article below should include specific protection and environmental conditions required during storage. Coordinate article below with Division 1 Product Requirements Section.
ELIVERY, STORAGE & HANDLING
- A.General: Comply with Division 1 Product Requirement Section.
- B.Delivery: Deliver materials in manufacturer’s original, unopened, undamaged containers with identification labels intact.
- C.Storage and Protection: Store materials protected from exposure to harmful environmental conditions and at temperature and humidity conditions recommended by the manufacturer.
- Specifier Note: Coordinate article below with Conditions of the Contract and with Division 1 Closeout Submittals (Warranty) Section. Use this article to require special or extended warranty or bond covering the work of this section.
WARRANTY
- A.Project Warranty: Refer to Conditions of the Contract for project warranty provisions.
- B.Manufacturer’s Warranty: Submit, for Owner’s acceptance, manufacturer’s standard warranty document executed by authorized company official. Manufacturer’s warranty is in addition to, and not a limitation of, other rights Owner may have under contract documents.
- Specifier Note: Coordinate subparagraph below with manufacturer’s warranty requirements.
- Warranty Period: Warranty for life of door opening, beginning with date of substantial completion.
PART 2 PRODUCTS
Specifier Note: Retain article below for proprietary method specification. Add product attributes, performance characteristics, material standards and descriptions as applicable. Use of such phrases as “or equal” or “or approved equal” or similar phrases may cause ambiguity in specifications. Such phrases require verification (procedural, legal and regulatory) and assignment of responsibility for determining “or equal” products.
CONTINUOUS GEARED DOOR HINGES
Specifier Note: Paragraph below is an addition to CSI SectionFormat and a supplement to MANU-SPEC. Retain, edit or delete paragraph below to suit project requirements and specifier practice.
- Manufacturer: Pemko Manufacturing Company.
- Contact: PO Box 3780, 4226 Transport Street, Ventura, CA 93003; Telephone: (800) 283-9988,
- (805) 642-2600; Fax: (805) 642-4109; E-mail: [email protected]; website: www.pemko.com.
- B.Proprietary Products/Systems: Continuous Geared Door Hinges, including the following:
- Continuous Geared PemkoHinges:
- Material: Extruded tempered aluminum.
- Material Standard: 6063-T6 alloy.
- Configuration: Three interlocking extrusions in pinless assembly, installed to full height of door frame.
- Finish (ANSI/BHMA A156.18): [Clear anodized] [Dark anodized] [Gold anodized].
- Type: [Full mortise] [Full surface] [Half surface] [Full mortise residential: 1 3/4 inches (45 mm)] [Full mortise residential: 1 3/8 inches (35 mm)] [Special full mortise] [Wide throw full mortise].
- Length: [79 inches (2007 mm)] [83 inches (2108 mm)] [85 inches (2159 mm)] [95 inches (2413 mm)] [120 inches (3048 mm)].
- Hinge Options: [Safety] [Short leaf flush] [Short leaf inset] [Standard] [Safety short leaf inset] [Center pivot].
- Electrical Modifications: [Specify electrical modifications.].
- Strength: [Standard Duty: 14 bearings each leaf for 83 inch (2108 mm) hinge, minimum door weight 280 lb (127 kg)] [Heavy Duty: 27 bearings each leaf for 83 inch (2108 mm) hinge, minimum door weight 540 lb (245 kg)].
- Mortise Fasteners: TEK, #12 × 3/4 inch, FHUC, Phillips head screws.
- Fire Label Certification: Comply with ASTM E2074, NFPA 1, UBC 7-2, BS 476, UL 10B, UL 10C, [90 minutes for wood doors] [3 hours for hollow metal doors].
- Testing Standard: Tested according to ANSI/BHMA A156.26.
Specifier Note: Edit Article below to suit project requirements. If substitutions are permitted, edit text below. Add text to refer to Division 1 Project Requirements (Product Substitutions Procedures) Section.
- PRODUCT SUBSTITUTIONS
- A.Substitutions: No substitutions permitted.
PART 3 EXECUTION
Specifier Note: Article below is an addition to the CSI SectionFormat and a supplement to MANU-SPEC. Revise article below to suit project requirements and specifier’s practice.
MANUFACTURER’S INSTRUCTIONS
- A.Comply with the instructions and recommendations of the continuous geared door hinge manufacturer. Specifier Note: Specify actions to physically determine that conditions are acceptable to receive primary products of the section.
EXAMINATION - Site Verification of Conditions:
- Verify that site conditions are acceptable for installation of continuous geared door hinges.
- Examine doors and frames for compliance with requirements for installation tolerances, labeled fire door assembly construction, wall and floor construction and other conditions affecting performance.
- Ensure frame is square and plumb before installation.
- Examine roughing-in for electrical wiring connections.
- Do not proceed with installation of continuous geared door hinges until unacceptable conditions are corrected.
PREPARATION
- A.Wood Door Preparation: Comply with ANSI/WDMA I.S.1-A.
- B.Steel Door and Frame Preparation: Drill doors and frames for hardware per manufacturer’s installation instructions. Comply with ANSI A250.8/SDI-100.
- Specifier Note: Coordinate article below with manufacturer’s recommended installation requirements.
INSTALLATION
- A.Mounting Location: Comply with the following requirements, unless otherwise indicated:
- Steel Doors and Frames:
- Comply with ANSI A250.8/SDI-100.
- Ensure frames are properly sized, plumb and square.
- [Specify standard or specific requirements.].
- Wood Doors:
- Comply with ANSI/WDMA I.S.1-A.
- Ensure doors are properly sized, plumb and square.
- [Specify standard or specific requirements.].
- B.Adjust and reinforce attachment substrates as necessary for proper installation and operation.
- C.Space fasteners and anchors according to manufacturer’s product instructions.
Specifier Note: Specify the final actions required to prepare installed equipment or other completed work to properly function or perform.
ADJUSTING
- A.Perform adjustments required to ensure that continuous geared door hinges function in compliance with manufacturer’s performance criteria prior to acceptance by Owner.
- Adjust door control devices to compensate for final operation of HVAC system and to comply with accessibility requirements.
- Specifier Note: Specify the final actions required to clean installed equipment or other completed work to properly function or perform. Coordinate article below with
- Division 1 Execution Requirements (Cleaning) Section.
CLEANING
- A.Remove any protective films and clean components as necessary following manufacturer’s recommended procedures.
- Specifier Note: Specify provisions for protecting work after installation but prior to acceptance by Owner. Coordinate article below with Division 1 Execution Requirements Section.
PROTECTION
- A.Protect installed work from damage due to subsequent construction activity on the site.
MEMPHIS, TN USA
- P: 800 824-3018
- F: 800 243-3656
VENTURA, CA USA
- P: 800 283-9988
- F: 800 283-4050
VANCOUVER, BC CA
- P: 877 535-7888
- F: 877 535-7444
TORONTO, ON CA
- P: 877 535-7888
- F: 877 535-7444
Copyright © 2017 Pemko Manufacturing Co., an ASSA ABLOY Group company. All rights reserved. Reproduction in whole or in part without the express written permission of Pemko Manufacturing Company is prohibited.
Pemko Manufacturing Company
- 5535 Distribution Drive
- Memphis, TN 38141
- Phone: (800) 824-3018
- Fax: (800) 243-3656
- E-mail: [email protected] www.pemko.com



















