35ES 35mm Compact Camera
User Manual
HOW TO USE THIS PUBLICATION
HOW TO FIND PART ORDER NUMBERS
Parts are illustrated on exploded view drawings where each part is identified by a reference number or designator. These reference numbers appear in sequence in the parts lists where they are cross-referenced to the part numbers and descriptions.
When a part is not available separately it will be so indicated by a footnote and can be obtained by ordering the assembly containing it. The part number of that assembly may be shown immediately to the right on the same line in an “Included in Assembly” column or at the end of the parts list(s).
CAUTION
This publication is intended for use by persons having the skills and equipment needed to service the subject product(s) safely and correctly. Users are cautioned that special tools and/or test equipment may be required for proper disassembly, reassembly, alignment, or adjustment, or damage to the product may result.
WARNING
The product herein described is electrically operated. Its servicing will require extreme caution. Improper handling could result in serious or fatal personal injury and damage to the product.
Notice: Information contained herein is subject to change without notice.
HOW TO ORDER PARTS
Please furnish the model number and serial number of the product for which parts are being ordered. For each part requested, please supply the part number, description, and required quantity. Mail or phone parts orders to
| U.S.A. Vivitar Corporation Central Parts Service 2700 Pennsylvania Avenue Santa Monica, CA 90406 Tele: (213) 829-3672 or (213) 870.0181 | UNITED KINGDOM Vivitar U.K. Ltd Vivitar House Ashville Trading Estate Nuffield Way Abingdon, Oxon LX14 1RP United Kingdom Tele: (0235) 26600 |
VIVITAR 35mm COMPACT CAMERA
MODEL 35ES
GENERAL SPECIFICATIONS
Camera Type: 35mm, full-frame rangefinder camera with EE aperture control, shutter priority operation.
Film Format: 24mm x 36mm
Lens: Vivitar 40mm f1.7, 6 elements in 4 groups
Accessory Size: 49mm
Focusing Range: 0.9 m (3 ft.) to infinity
Shutter Speeds: 1/8 second to 1/500 second plus “B”
Exposure Meter: Single CdS cell located above front lens element, programs aperture selection.
EV Range: EV 4.5 (f1.7 at 1/8 second) to EV 17 (f16 at 1/500 second) with ASA 100 (DIN21) film
Film Speed Range: ASA 25 (DIN 15) to ASA 800 (DIN 30)
Viewfinder Information: Bright frame line, parallax correction mark, aperture scale, Overexposure, and Underexposure/ use Flash warning Zones
Focusing System: Superimposed rangefinder type focusing
Flash Synchronization: Built-in “X” synchronization at alt shutter speeds. “X” contacts in Hot Shoe
Film Loading: Easy-load, the multi-slotted take-up spool
Film Advance: Single-stroke, Built-in double exposure prevention
Self-Timer: Approximately 10-second delay mechanism
Battery: Single 1.35 volt mercury battery (Mallory PX 675, Eveready EPX 675, HS-C/H-C or equivalent)
Dimensions: 114 mm x 60 mm x 74 mm (4.4″ x 2.4″ x 2.9″)
Weight: 465 g (16.27 oz.)






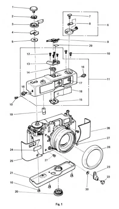
figure 1
| NUMBER | DESCRIPTION | COMMONALITY ES EF EE | PART NUMBER | QUANTITY | ||
| 1 | SCREW, WIND LEVER | x | x | 3401300 | 1 | |
| 2 | WASHER, TENSION | x | x | x | 3401301 | 1 |
| 3 | LEVER, WIND | x | x | 3401302 | 1 | |
| 4 | PLATE, WIND | x | x | 3401303 | 1 | |
| 5 | WASHER | x | x | 3401304 | 0-1 | |
| 6 | REWIND KNOB ASSEMBLY | x | x | 3401305 | 1 | |
| 7 | SCREW, REWIND KNOB | x | x | 3401306 | 1 | |
| 8 | SPRING, REWIND CRANK | x | x | 3401307 | 1 | |
| 9 | SPRING, SHOE | x | x | 3401308 | 1 | |
| 10 | SCREW, FLATHEAD M1.7 x 2.5 PAINTED) | x | x | 3401309 | 6 | |
| 11 | TOP COVER ASSEMBLY | x | x | 3401310 | 1 | |
| 12 | SCREW, SHOE FLATHEAD M1.7 x 2.5 | x | x | 3411518 | 4 | |
| 13 | SHOE, ACCESSORY | x | x | 3401311 | 1 | |
| 14 | CONTACT ASSEMBLY | x | x | 3401312 | 1 | |
| 15 | SCREW, PLATE | X | x | 3401313 | 1 | |
| 16 | EYELET, STRAP | x | x | x | 3401314 | 2 |
| 17 | NUT, EYELET | x | x | x | 3401315 | 2 |
| 18 | GLASS, IF | x | x | 3401595 | 1 | |
| 19 | RELEASE BUTTON | x | x | 3401317 | 1 | |
| 20 | BATTERY CHAMBER COVER ASSEMBLY | x | x | 3401318 | 1 | |
| 21 | BOTTOM COVER | x | 3401597 | 1 | ||
| 22 | SCREW, SELF TIMER | x | x | x | 3401320 | 1 |
| 23 | SELF-TIMER LEVER ASSEMBLY | x | x | 3401321 | 1 | |
| 24 | PLATE, NAME | x | 3401598 | 1 | ||
| 25 | LEATHERETTE, RIGHT | x | 3401599 | 1 | ||
| 26 | LEATHERETTE, LEFT | x | 3401600 | 1 | ||
| 27 | SCREW, FLATHEAD TAPPING M1.7 x 4.0 | x | 3401325 | 4 | ||
| 28 | LENS CAP, 51mm | x | x | 3050769 | 1 | |
| 29 | PLATE, RED | x | x | 3401327 | 1 | |
| 30 | WASHER | x | 3401460 | 1 | ||
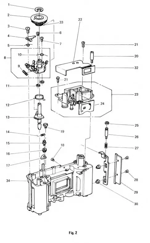
figure 2
| 1 | C-RING | x | x | x | 3401328 | 1 |
| 2 | EXPOSURE COUNTER ASSEMBLY | x | x | 3401329 | 1 | |
| 3 | SCREW, RETURN LEVER | x | x | 3401330 | 1 | |
| 4 | LEVER, RETURN | x | x | 3401331 | 1 | |
| 5 | SPRING, RETURN LEVER | x | x | x | 3401332 | 1 |
| 6 | SCREW, PANHEAD TAPPING M1.7 x 2.5 ZnCr | x | 3401585 | 1 | ||
| 7 | SCREW, PANHEAD TAPPING M1.7 x 6.0 | x | x | 3401335 | 1 | |
| 8 | WIND MECH BASE ASSEMBLY | x | x | 3401336 | 1 | |
| 9 | SPRING | x | x | x | 3401337 | 1 |
| 10 | SPRING | x | x | x | 3401338 | 1 |
| 11 | WASHER 3.0 x 1.8 x 0.2 | x | x | 3401339 | 2 | |
| 12 | SPRING, WIND LEVER RETURN | x | x | 3401340 | 1 | |
| 13 | WIND SHAFT ASSEMBLY | x | x | 3401341 | 1 | |
| 14 | SPRING, RATCHET | x | x | 3401342 | 1 |
Figure 3
| REFERENCE NUMBER | DESCRIPTION | COMMONALITY | PART NUMBER | QUANTITY | ||
| ES | EF | EE | ||||
| 15 | SCREW, SHOULDER | x | x | 3401343 | 1 | |
| 16 | COLLAR | x | x | 3401344 | 1 | |
| 17 | PAWL | x | x | 3401345 | 1 | |
| 18 | SCREW | x | x | 3401346 | 1 | |
| 19 | BEARING, SPROCKET | x | x | 3401347 | 2 | |
| 20 | STUD, SCREW | x | x | 3401348 | 1 | |
| 21 | SCREW, PANHEAD TAPPING M1.7 x 4.5 | x | x | 3401334 | 2 | |
| 22 | COVER, RANGEFINDER | x | x | 3401349 | 1 | |
| 23 | RANGEFINDER ASSEMBLY | x | 3401591 | 1 | ||
| 24 | MASK, BRIGHT FRAME | x | 3401596 | 1 | ||
| 25 | E-RING, 1.5 | x | x | 3411603 | 1 | |
| 26 | SHAFT, LATCH | x | x | 3401354 | 1 | |
| 27 | SPRING, LATCH | x | x | 3401355 | 1 | |
| 28 | SCREW. FLATHEAD M1.7 x 2.5 | x | x | 3411518 | 2 | |
| 29 | COVER, LATCH | x | x | 3401356 | 1 | |
| 30 | GUIDE, LATCH | x | x | 3401358 | 2 | |
| 31 | LATCH | x | x | 3401357 | 1 | |
| 32 | MASK, VIEWFINDER | x | x | 3401359 | 1 | |
| 33 | SPRING, COUNTER-RETURN | x | x | 3401361 | 1 | |
| 34 | BODY CASTING | x | x | 3401593 | 1 | |
| 1 | E RING, 1.5 | x | x | 3411603 | 2 | |
| 2 | LEVER. SHUTTER COCKING | x | 3401479 | 1 | ||
| 3 | SPRING | x | 3401430 | 1 | ||
| 4 | E RING, 2.0 | x | 3411605 | 1 | ||
| 5 | SHAFT | x | x | 3401364 | 1 | |
| 6 | GEAR ASSEMBLY | x | x | 3401365 | 1 | |
| 7 | SCREW | x | x | 3401366 | 1 | |
| 8 | WIND PLATE ASSEMBLY | x | x | 3401367 | 1 | |
| 9 | SPRING | x | x | 3401368 | 1 | |
| 10 | WASHER, BRASS 6.0 x 4.0 x 0.1 | x | x | 3401369 | 1 | |
| 11 | WIND CAM ASSEMBLY | x | x | 3401370 | 1 | |
| 12 | SCREW, PANHEAD TAPPING M1.7 x 2.5 | x | x | 3401585 | 3 | |
| 13 | PLATE, HOLDER | x | x | 3401371 | 1 | |
| 14 | SPRING | x | x | 3401372 | 1 | |
| 15 | SCREW, SHOULDER | x | x | 3401373 | 1 | |
| 16 | REWIND BUTTON DOWN LOCK LEVER | x | x | 3401374 | 1 | |
| 17 | GEAR, TAKE-UP SPOOL | x | x | 3401375 | 1 | |
| 18 | SPOOL, FILM TAKE-UP | x | X | x | 3401376 | 1 |
| 19 | FILM TAKES UP CLUTCH ASSEMBLY | x | x | 3401377 | 1 | |
| 20 | SPRING, BLANK EXP. PREVENTION | x | x | 3401378 | 1 | |
| 21 | GUIDE | x | x | 3401379 | 1 | |
| 22 | LEVER, WIND STOP | x | x | 3401380 | 1 | |
| 23 | SCREW, PANHEAD M1.4 x 2,2 | x | X | x | 3401381 | 1 |
| 24 | SPRING, BLANK EXP. PREVENT LOCK RLS. | x | x | 3401382 | 1 | |
| 25 | PLATE, RELEASE | x | x | 3401383 | 1 |
| 26 | SPROCKET SHAFT ASSEMBLY | x | x | 3401384 | 1 | |
| 27 | SPRING | x | x | x | 3401385 | 1 |
| 28 | BEARING, SPROCKET | x | x | 3401347 | 2 | |
| 29 | SCREW | x | x | 3401387 | 1 | |
| 30 | PAWL, ANTI-BACKUP | x | x | 3401388 | 1 | |
| 31 | SPRING | x | x | 3401389 | 2 | |
| 32 | COLLAR | x | x | 3401390 | 1 | |
| 33 | PAWL, ANTI-BACKUP | x | x | 3401391 | 1 | |
| 34 | SCREW, FLATHEAD M1.4 x 2.8 | x | x | 3401392 | 2 | |
| 35 | BATTERY HOLDER ASSEMBLY | x | x | 3401393 | 1 | |
| 36 | REWIND SHAFT ASSEMBLY | x | x | 3401394 | 1 | |
| 37 | SPROCKET, FILM DRIVE | x | x | 3401395 | 1 | |
| 38 | SCREW, SPROCKET | x | x | 3401396 | 1 | |
| 39 | PLATE, NUMBER | x | X | x | 3401397 | 1 |
| 40 | PLATE, GUIDE NUMBER | x | 3401547 | 1 | ||
| 41 | LEATHERETTE, BACKDOOR | x | x | 3401589 | 1 |
Figure 4
| 1 | RING, RETAINER | 3401431 | 1 | |
| 2 | PLATE, LENS NAME | 3401432 | 1 | |
| 3 | SCREW, FLATHEAD M1.7 x 4.5 | 3401527 | 3 | |
| 4 | METER ASSEMBLY | 3401490 | 1 | |
| 5 | LENS ASSEMBLY | 3401433 | 1 | |
| 6 | SHUTTER ASSEMBLY | 3401434 | 1 | |
| 7 | RING, SHUTTER SETTING | 3401435 | 1 | |
| 8 | RING, SHUTTER RETAINING | 3401436 | 1 | |
| 9 | HELICOID ASSEMBLY | 3401437 | 1 | |
| 10 | SCREW, FLATHEAD M1.4 x 2.2 | 3401404 | 7 | |
| 11 | CAM, FLASHMATIC | 3401438 | 1 | |
| 12 | BAFFLE, LIGHT | 3401439 | 1 |
Figure 5
| 1 | E-RING, 1.2 | x | X | 3411602 | 3 |
| 2 | SPRING | x | 3401440 | 1 | |
| 3 | FLASHMAT1C LEVER ASSEMBLY | x | 3401441 | 1 | |
| 4 | DIAPHRAGM LEVER ASSEMBLY | x | 3401442 | 1 | |
| 5 | SCREW, PANHEAD M1.7 x 2.5 | x | 3401443 | 1 | |
| 6 | PLATE, FLAP STOP | x | 3401444 | 1 | |
| 7 | GUIDE NUMBER LEVER ASSEMBLY | x | 3401445 | 1 | |
| 8 | LEVER, RELEASE | x | 3401446 | 1 | |
| 9 | SPRING | x | 3401447 | 1 | |
| 10 | SHAFT | x | 3401448 | 1 | |
| 11 | SHAFT | x | 3401449 | 1 | |
| 12 | PLATE, SHUTTER SET | x | 3401450 | 1 | |
| 13 | SPRING | x | 3401451 | 1 | |
| 14 | SHAFT | x | 3401452 | 1 | |
| 15 | LEVER, RELEASE | x | 3401453 | 1 | |
| 16 | SHAFT, SELF TIMER | x | 3401454 | 1 |
| 17 | GUIDE | x | 3401455 | 2 | |
| 18 | RELEASE PLATE ASSEMBLY | x | 3401456 | 1 | |
| 19 | SPRING | x | 3401457 | 1 | |
| 20 | SPRING | x | 3401458 | 1 | |
| 21 | SPRING | x | 3401459 | 1 | |
| 22 | WASHER, BRASS 3.5 x 1.8 x 0.3 | x | X | 3401360 | 2 |
| 23 | SELF TIMER ASSEMBLY | x | 3401461 | 1 | |
| 24 | SCREW, PANHEAD M1.7 x 3.0 | x | 3401462 | 2 |
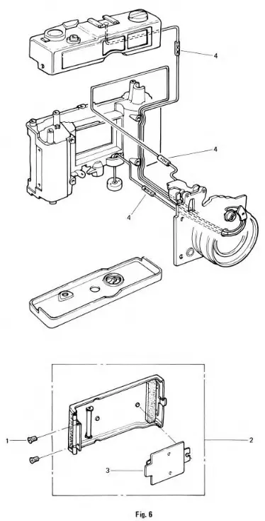
Figure 6
| 1 | SCREW, FLATHEAD TAPPING M1.7 x 2.5 | X | X | 3411518 | 2 |
| 2 | BACK DOOR ASSEMBLY | X | X | 3401422 | 1 |
| 3 | PRESSURE PLATE ASSEMBLY | X | X | 3401423 | 1 |
| 4 | SLEEVE, INSULATOR | X | X | 3401424 | 1 |

Prepared by: Technical Publications Department
Vivitar Corporation
Corporate Offices: 1630 Stewart Street, Santa Monica, Ca 90406
Printed in the U.S.A.
Vivitar is an International trademark of Vivitar Corporation
This pdf version created by boggy, on March 2ots


















