Illustrated Parts List
35mm Compact Camera
Model 35EF
Publication No. 3746090 / December 1977
Instruction Manual 
HOW TO USE THIS PUBLICATION
CAUTIONS
This publication is intended for use by persons having the skills and equipment needed to service the subject product(s) safely and correctly. Users are cautioned that special tools and/or test equipment may be required for proper disassembly, reassembly, alignment, or adjustment of the product.
SPECIAL CAUTION FOR ELECTRICAL PRODUCTS
If the product herein described is electrically operated, its servicing will require extreme caution. Improper handling could result in serious or fatal personal injury or damage to the product.
HOW TO FIND PART ORDER NUMBERS
Parts are illustrated on ”exploded” drawings where each part is identified by a reference number (having three digits or fewer) or a designator. These reference numbers appear in numerical order in the parts lists (designators appear alphabetically), where they are cross-referenced to part order numbers and descriptions.
When the initials N.A.S. appear in the “Part Number” column, that part is Not Available Separately and can be obtained only by ordering the assembly containing it. The part number of that assembly may be shown immediately to the right on the same line, in an “Included in Assembly” column, or at the end of the parts list(s).
In parts lists for optical products, quantities of each item are listed as used in the different mounts. The mounts are referred to as:
| U = Vivitar-Universal Thread Mount N = Nikon F, Nikkormat Series Mount M = Minolta SRT/SR Series Mount | C = Canon FL/FD Series Mount K = Konica Autoreflex Series Mount O = Olympus OM Series Mount |
Note that some parts are common to more than one mount. This commonality is shown in the parts lists so that service centers desiring to stock replacement parts can order economically.
HOW TO ORDER PARTS
Please furnish the model number and a serial number of the product for which parts are being ordered. For each part requested, please supply the part order number, description, and required quantity.
Mail or phone parts orders to:
Vivitar Central Parts Service 2700 Pennsylvania Avenue Santa Monica, California 90406
Telephone: (213) 829.3672 Or (213) 870.0181
VIVITAR 35mm COMPACT CAMERA MODEL 35EF
GENERAL SPECIFICATIONS
Camera Type: 35mm full-frame camera with fully programmed EE System and Built-In Electronic Flash
Film Format: 24mm x 36mm Lens: Vivitar 38mm (2Z, 4 elements in 3 groups Accessory Size: 46mm Focusing Range: 1m (3.3 ft.) to infinity Exposure Meter: Single CdS cell above front lens element Shutter/f-stop Combinations: 1/60 second at f2.8 to 1/350 second at f22 EV Range: EV 9 (1/60 second at f2.8) to EV 17 (1/350 second at f22) with ASA 100 (DIN 21) film
Film Speed Range: ASA 25 (DIN 15) to ASA 500 (DIN 28)
Viewfinder Information: Flash ready light, aperture scale, bright frame line, underexposure/use flash warning, Parallax correction mark
Focusing System: Zone Focus System plus Distance Scale
Flash System: Built-In Electronic Flashmatic System Flash Range: lm (3.3 ft.) to 4.8m 116 ft.) with ASA 100 (DIN 211 film
Number of Flashes: Approximately 250 (with fresh batteries) Flash Battery: Two, 1.5 volt “AA” alkaline batteries (Mallory MN 1500, Eveready E91, AM3 or equivalent)
Camera Battery: Single, 1.35-volt mercury battery (Mallory PX 675. Eveready EPX 675, HS-C/H-C or equivalent)
Film Loading: Easy-load, multi-slotted take-up spool Self-Timer: Approximately 10 second delay mechanism Dimensions: 135 mm x 54.5 mm x 77 mm (5.4″ x 22″ x 3.1″)
Weight: 380 g (13.4 oz.) without batteries
II 112/771 3746090/35EF





PART LIST
VIVITAR 35EF CAMERA
Figure 1
| REFERENCE NUMBER | DESCRIPTION | COMMONALITY | PART NUMBER | QUANTITY | ||
| EE | ES | EF | ||||
| 1 | BATTERY COVER ASSEMBLY | X | 3051101 | 1 | ||
| 2 | CONTACT, POLARITY | X | 3401520 | 1 | ||
| 3 | SCREW. WIND LEVER | X | 3401521 | 1 | ||
| 4 | WASHER. TENSION | X | X | X | 3401301 | 1 |
| 5 | WIND LEVER ASSEMBLY | X | 3401522 | 1 | ||
| 6 | SCREW, PANHEAD M2.0 x 4.5 | X | 3401523 | 2 | ||
| 7 | TIP, WIND LEVER | X | 3401524 | 1 | ||
| 8 | PLATE, WIND | X | 3401525 | 1 | ||
| 9 | WASHER | X | 3401526 | 1 | ||
| 10 | SCREW, PANHEAD M2.0 x 3.0 | x | X | 3401466 | 3 | |
| 11 | TOP COVER ASSEMBLY | X | 3401528 | 1 | ||
| 12 | GLASS, FRONT | X | 3401529 | 1 | ||
| 13 | NUT, EYELET | X | X | 3401315 | 2 | |
| 14 | EYELET, STRAP | X | X | 3401314 | 2 | |
| 15 | BUTTON, RELEASE | X | 3401530 | 1 | ||
| 16 | SCREW, SQUARE-HEAD | X | 3401531 | 1 | ||
| 17 | REWIND KNOB ASSEMBLY | X | 3401532 | 1 | ||
| 18 | SCREW, PANHEAD M1.4 x 1 5 | X | 3401533 | 2 | ||
| 19 | SPRING, REWIND CRANK | X | 3401534 | 1 | ||
| 20 | REWIND CRANK ASSEMBLY | X | 3401535 | 1 | ||
| 21 | SCREW, FLATHEAD, TAPPING M2.0 x 7.0 | X | 3401536 | 1 | ||
| 22 | SCREW, FLATHEAD, TAPPING M2.0 x 4.0 | X | 3401537 | 1 | ||
| 23 | SCREW, PANHEAD, TAPPING M2.0 x 4.0 | X | 3401538 | 1 | ||
| 24 | SCREW, PANHEAD, TAPPING M1.7 x 3.0 | X | 3401539 | 1 | ||
| 25 | WASHER | X | 3401540 | 1 | ||
| 26 | COVER, BOTTOM | X | 3401541 | 1 | ||
| 27 | REWIND SHAFT ASSEMBLY | X | 3401542 | 1 | ||
| 28 | SPRING. REWIND SHAFT | X | 3401543 | 1 | ||
| 29 | SCREW, SELF TIMER | X | X | X | 3401320 | 1 |
| 30 | SELF-TIMER LEVER ASSEMBLY | X | 3401544 | 1 | ||
| 31 | PLATE, NAME | X | 3401545 | 1 | ||
| 32 | LEATHERETTE, RIGHT | X | 3401546 | 1 | ||
| 33 | LEATHERETTE, LEFT | X | 3401463 | 1 | ||
| 34 | CAP, LENS, 48mm | X | X | 3050890 | 1 | |
| 35 | SCREW, FLATHEAD M2.0 x 4.5 | X | 3401506 | 4 | ||
Figure 2
| REFERENCE NUMBER | DESCRIPTION | COMMONALITY | PART NUMBER | QUANTITY |
| EF | ||||
| 1 | NEON LENS ASSEMBLY | X | 3401464 | 1 |
| 2 | SCREW, PANHEAD M2.0 x 5.0 | X | 3401465 | 1 |
| 3 | SCREW, PANHEAD M3.0 x 3.0 | X | 3401466 | 1 |
| 4 | FINDER ASSEMBLY | X | 3401467 | 1 |
| 5 | MASK, FINDER | X | 3401468 | 1 |
| 6 | FRAME, BRIGHT | X | 3401469 | 1 |
| 7 | COVER, FINDER | X | 3401425 | 1 |
| 8 | SCREW, PANHEAD M2.0 x 6.0 | X | 3401472 | 1 |
| 9 | SCREW, FLATHEAD M2.0 x 3.5 | X | 3401503 | 1 |
| 10 | FRONT COVER ASSEMBLY | X | 3401426 | 1 |
| 11 | SPRING | X | 3401427 | 1 |
| 12 | RETAINER, SPRING | X | 3401428 | 1 |
| 13 | BUTTON, FLASH-“UP” | X | 3401507 | 1 |
| 14 | SPRING | X | 3401508 | |
| 15 | BUTTON, FLASH-“ON” | X | 3401509 | 1 |
| 16 | SPRING | X | 3401510 | |
| 17 | SCREW, PANHEAD M2.0 x 2.5 | X | 3401511 | 1 |
| 18 | HOLDER, LEAD WIRE | X | 3401512 | 1 |
| 19 | SCREW, FLATHEAD, M1.7 x 4.0 | X | 3401513 | |
| 20 | COVER, FLASH | X | 3401514 | 1 |
| 21 | CASE, F LASH | X | 3401515 | 1 |
| 22 | SCREW, PANHEAD M1.7 x 3.5 | X | 3401516 | 2 |
| 23 | SCREW, PANHEAD M7.0 x 3,5 | X | 3401517 | 1 |
| 24 | BRACKET, CAPACITOR | X | 3401518 | 1 |
| 25 | CAPACITOR, MAIN | X | 3101198 | 1 |
| 26 | FLASH UNIT ASSEMBLY | X | 3401507 | 1 |
| 27 | REFLECTOR, FLASH TUBE ASSEMBLY | X | 3401500 | 1 |
| 28 | FLASH LENS | X | 3401501 | 1 |
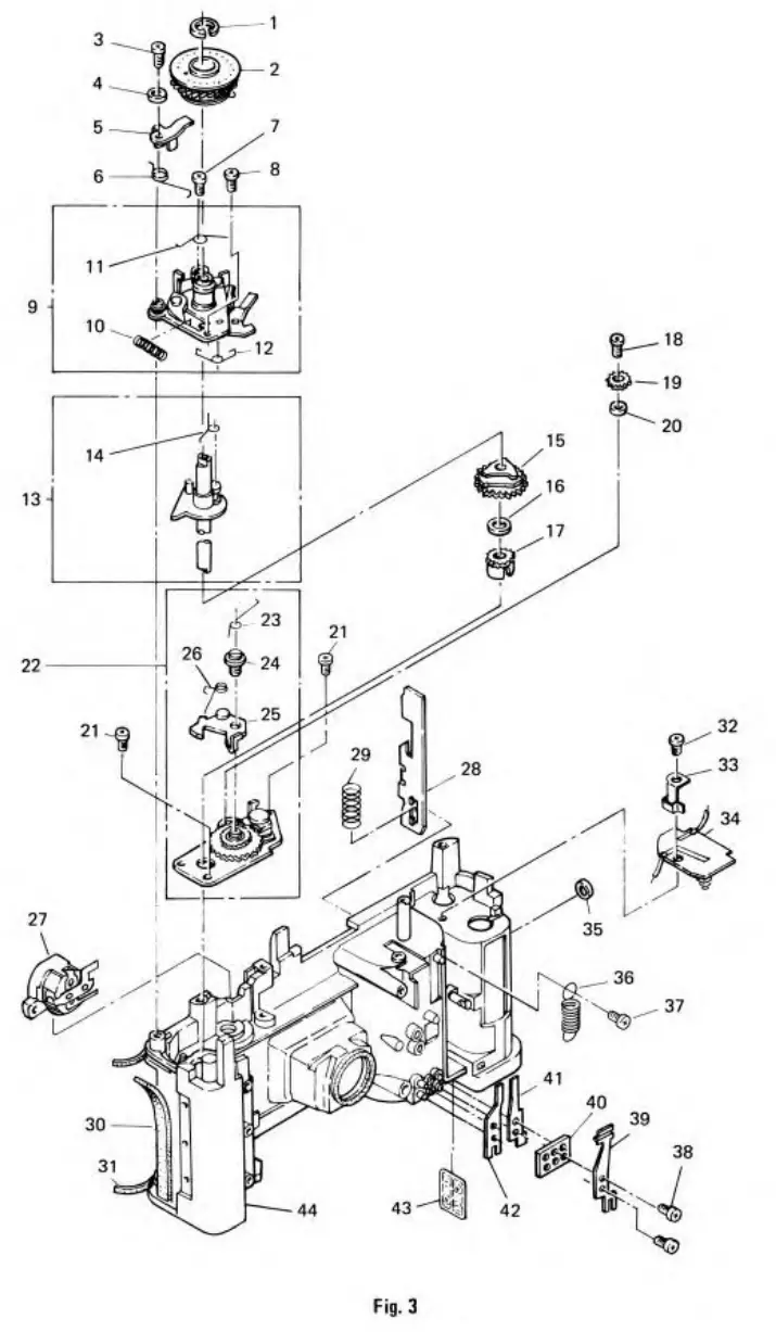
Figure 3
| REFERENCE NUMBER | DESCRIPTION | COMMONALITY | PART NUMBER | QUANTITY | ||
| EE | ES | EF | ||||
| 1 | C-RING | X | X | X | 3401328 | 1 |
| 2 | EXPOSURE COUNTER ASSEMBLY | X | 3401489 | 1 | ||
| 3 | SCREW, PANHEAD M1.7 x 7.0 | X | 3401505 | 1 | ||
| 4 | COLLAR | X | 3401548 | 1 | ||
| 5 | LEVER, RETURN | X | X | 3401331 | 1 | |
| 6 | SPRING, RETURN LEVER | X | X | 3401332 | 1 | |
| 7 | SCREW. PANHEAD M1.7 x 4.0 | X | 3401575 | 1 | ||
| 8 | SCREW. PANHEAD M2.0 x 4.0 | 3401549 | 1 | |||
| 9 | WIND MECHANISM BASE ASSEMBLY | X | 3401486 | 1 | ||
| 10 | SPRING | X | 3401337 | 1 | ||
| 11 | SPRING | 3401338 | 1 | |||
| 12 | SPRING | X | 3401550 | 1 | ||
| 13 | WIND SHAFT ASSEMBLY | X | 3401551 | 1 | ||
| 14 | SPRING | X | 3401552 | 1 | ||
| 15 | WIND CAM ASSEMBLY | 3401553 | 1 | |||
| 16 | SPACER | X | 3401554 | 1 | ||
| 17 | GEAR | 3401555 | 1 | |||
| 18 | SCREW, PANHEAD M1.4 x 2.2 | X | X | X | 3401381 | 1 |
| 19 | GEAR | 3401556 | 1 | |||
| 20 | SPACER | X | 3401557 | 1 | ||
| 21 | SCREW, PANHEAD, TAPPING M2.0 x 3.0 | 3401558 | 1 | |||
| 22 | WIND PLATE ASSEMBLY | X | 3401559 | 2 | ||
| 23 | SPRING | X | 3401560 | 1 | ||
| 24 | SCREW | X | 3401561 | 1 | ||
| 25 | WIND STOP PLATE ASSEMBLY | X | 3401562 | 1 | ||
| 26 | SPRING | X | 3401563 | 1 | ||
| 27 | BATTERY CHAMBER ASSEMBLY | X | 3401564 | 1 | ||
| 28 | LATCH | X | 3401565 | 1 | ||
| 29 | SPRING, LATCH | X | 3401566 | 1 |
| 30 | SHIELD, LIGHT | X | 3401567 | 1 |
| 31 | SHIELD, LIGHT | X | 3401568 | 1 |
| 32 | SCREW, PANHEAD M2.0 x 4.0 | X | 3401569 | 1 |
| 33 | HOLDER, LEAD WIRE | X | 3401570 | 1 |
| 34 | BATTERY CONTACT ASSEMBLY | X | 3401571 | 1 |
| 35 | BUSHING | X | 3401572 | 1 |
| 36 | SPRING | X | 3401573 | 1 |
| 37 | SCREW | X | 3401574 | 1 |
| 38 | SCREW, PANHEAD M2.0 x 3.5 | X | 3401587 | 2 |
| 39 | CONTACT, FLASH (NO. 3) | X | 3401576 | 1 |
| 40 | PLATE, INSULATOR | X | 3401577 | 1 |
| 41 | CONTACT. FLASH (NO 21 | X | 3401578 | 1 |
| 42 | CONTACT. FLASH (NO. 1) | X | 3401579 | 1 |
| 43 | LABEL. POLARITY | X | 3401580 | 1 |
| 44 | BODY CASTING | X | 3401594 |
Figure 4
| REFERENCE NUMBER | DESCRIPTION | COMMONALITY | PART NUMBER | QUANTITY | ||
| EE | ES | EF | ||||
| SCREW. PANHEAD TAPPING, M2.0 x 4.0 | 3401581 | 2 | ||||
| 2 | SOCKET, TRIPOD | 3401582 | 1 | |||
| 3 | SPROCKET SHAFT ASSEMBLY | 3401583 | 1 | |||
| 4 | SPRING | X | X | 3401385 | 1 | |
| 5 | SCREW | 3401584 | 1 | |||
| 6 | SPRING. WIND LEVER RETURN | 3401586 | 1 | |||
| 7 | RATCHET | 3401470 | 1 | |||
| 8 | SCREW, PANHEAD, TAPPING M2.0 x 3.0 | 3401558 | 2 | |||
| 9 | WIND PLATE ASSEMBLY, 2ND | 3401471 | 1 | |||
| 10 | E RING. 1 2 | X | 3411602 | 1 | ||
| 11 | CLUTCH LEVER ASSEMBLY | 3401473 | 1 | |||
| 12 | SPRING | 3401474 | 1 | |||
| 13 | SPRING | 3401475 | 1 | |||
| 14 | SPOOL, FILM TAKE-UP | X | X | 3401376 | 1 | |
| 15 | CLUTCH. TAKE-UP | 3401476 | 1 | |||
| 16 | SCREW. SPROCKET SHAFT | 3401477 | 1 | |||
| 17 | SPROCKET | 3401478 | 1 | |||
| 18 | BATTERY CHAMBER COVER ASSEMBLY | 3401479 | 1 | |||
| 19 | SCREW, FLATHEAD M2.0 x 3.5 | 3401587 | 2 | |||
| 20 | LATCH ASSEMBLY | 3401480 | 1 | |||
| 21 | SCREW, FLATHEAD TAPPING M2.0 x 2.5 ZrICr | 3401588 | 3 | |||
| 22 | REAR DOOR ASSEMBLY | 3401481 | 1 | |||
| 23 | PRESSURE PLATE ASSEMBLY | 3401482 | ||||
| 24 | SHIELD, LIGHT, SPONGE | 3401483 | ||||
| 25 | ROLLER, FILM | 3401484 | 1 | |||
| 26 | LEATHERETTE. REAR | 3401485 | ||||
| 27 | PLATE. NUMBER | X | X | 3401397 | 1 | |
| 28 | PIN, HINGE | 3401487 | ||||
| 29 | HINGE | 3401488 | ||||
Figure 5
| REFERENCE NUMBER | DESCRIPTION | COMMONALITY | PART NUMBER | QUANTITY | ||
| EE | ES | EF | ||||
| 1 | PLATE, NAME (1) | X | x | 3401399 | ||
| 2 | PLATE, NAME (2) | X | x | 3401400 | ||
| 3 | RING, RETAINER | X | x | 3401401 | 1 1 1 | |
| 4 | METER-SHUTTER ASSEMBLY | x | 3401491 | 1 | ||
| 5 | SCREW, PANHEAD M2.0 x 4.0 | x | 3401549 | 3 | ||
| 6 | RING, FRONT | x | 3401492 | 1 | ||
| 7 | BALL, DETENT | x | 3513041 | 1 | ||
| 8 | SPRING, DETENT | x | 3401493 | 1 | ||
| 9 | RING, FOCUSING | x | 3401494 | 1 | ||
| 10 | SCREW | x | 3401495 | 3 | ||
| 11 | RING, FOCUS ADJUSTING | x | 3401496 | 1 | ||
| 12 | LENS ASSEMBLY | X | x | 3401406 | 1 | |
| 13 | SCREW, PANHEAD, TAPPING M2.0 x 10 | x | 3401558 | 3 | ||
| 14 | PLATE, FILM SPEED DETENT | x | 3401497 | 1 | ||
| 15 | FILM SPEED SETTING RING ASSEMBLY | x | 3401498 | 1 | ||
| 16 | LENS BOARD ASSEMBLY | x | 3401499 | 1 | ||
| 17 | SCREW, PANHEAD TAPPING M1.7 x 2.8 ZnCr | X | x | 3401333 | 3 | |
Prepared by:
Technical Publications Department
Vivitar Corporation
Corporate Offices:
1630 Stewart Street, Santa Monica, Ca 90406
Printed In U S. A
Vivitar Is an international Trademark of Vivitar Corporation
This Reversion crested by boggy, February 2015


















