
TASCAM CA-XLR2d XLR Microphone Adapter for Mirrorless Cameras Instructions

CA-XLR2d
1 – Introduction
Thank you very much for purchasing a TASCAM CA-XLR2d Microphone Adapter.
Before using this unit, read this Reference Manual carefully so that you will be able to use it correctly and enjoy working with it for many years. After you have finished reading this manual, please keep it in a safe place for future reference.
You can download the Reference Manual from the TASCAM website.

CA-XLR2d
https://tascam.jp/int/product/ca-xlr2d/docs
Features
- Mic adapter to add XLR inputs to mirrorless cameras
- 2 XLR/TRS input jacks enable optimal mic selection for different filming situations
- Built-in high-performance AD converters enable direct transmission of digital audio to cameras through compatible accessory shoes without degradation (using compatible models from Canon and Fujifilm)
- Power can be provided by cameras through compatible accessory shoes (using compatible models from Canon and Fujifilm)
- Built-in high-performance HDDA mic preamps on the XLR/TRS inputs enable high audio quality, low noise and a wide dynamic range (mic/line level switchable, +48V phantom power supported)
- 3.5mm stereo mini jack supports plug-in power, enabling connection of gun mics, lapel mics and wireless mics, for example
- Connection to numerous mics with analog inputs enabled by included battery box, cold shoe mount adapter and mic holder with shock mount structure to control vibration noise
- Cold shoe on top enables attachment of mics, wireless receivers and other devices that support shoe connection
- Analog output jacks support two modes

- The same unit can be used with compatible cameras from both Canon and Fujifilm by using optional CA-AK1-C and CA-AK1-F accessories shoe connection adapters (sold separately)
- Attenuation function (0 dB/20 dB/46 dB)
- Low cut filter function (OFF/80 Hz/220 Hz)
- Limiter function
- Auto level function adjusts recording levels automatically
- Indicators that show level overloads for each channel
- 1+2 LINK function links VOLUME, LEVEL and LIMITER operation of INPUT 1 and INPUT 2 when using a stereo mic, for example
- Cable holder useful for managing cables around the camera
Conventions used in this manual
The following conventions are used in this manual.
- The camera, recorder or other equipment to which this unit is connected is called the “connected device”.
- As necessary, additional information is provided under TIP, NOTE and CAUTION headings.
TIP
These are tips about how to use the unit.
NOTE
These provide additional explanations and describe special cases.
ATTENTION
Failure to follow these instructions could result in damage to equipment or lost data, for example.
VCAUTION
Failure to follow these instructions could result in injury.
Trademarks
- TASCAM is a registered trademark of TEAC Corporation.
- Other company names, product names and logos in this document are the trademarks or registered trademarks of their respective owners.
2 – Names and Functions of Parts
CA-XLR2d main unit



1. POWER SUPPLY indicators
These show the power source and remaining battery charge.
The indicator will blink rapidly when the remaining battery charge becomes low. Change the battery/batteries in this case.

2. SELECT switch
Use this to select the input device for the camera recording channel.

NOTE
When “IN 1” is selected, if the 1+2 LINK switch (8) is not set to “ON”, the INPUT 2 setting will be used for the R channel.
3. OL (overload) indicators
These light when input signal levels are high enough that they could distort.
To capture high-quality audio, set the ATT (attenuation) switch (5) and adjust the input volumes (9/w) so that these do not light.
When using a digital connection, check the camera level meters.
4. INPUT 1 switch
Set this for the equipment connected to INPUT 1.

ATTENTION
- Do not set the INPUT switch to +48V when connecting mics that do not require phantom power.
- Do not connect or disconnect mics when this is set to +48V. Doing so could cause a loud noise and might damage this unit and connected equipment.
NOTE
- When the SELECT switch (2) is set to “IN 3”, the INPUT 1 switch has no effect.
- When set to “LINE” or “MIC”, phantom power is not supplied.
5. ATT (attenuator) switches
These change the input sensitivity to prevent audio distortion during high-volume input.

If OL (overload) indicators (3) light even when input volumes are lowered, set these to higher values.
If OL (overload) indicators (3) continue to light, reduce the volumes of sound sources or move the mics farther away from them.
NOTE
The setting of this switch will have no effect if the INPUT 1 switch (4) or INPUT 2 switch (7) setting is “LINE”.
6. LOW CUT switches
Use these to set the low-cut filter function, which can reduce noise from air-conditioning equipment and projectors, as well as bothersome wind noise, for example.

7. INPUT 2 switch
Set this for the equipment connected to INPUT 2.

ATTENTION
- Do not set the INPUT switch to +48V when connecting mics that do not require phantom power.
- Do not connect or disconnect mics when this is set to +48V. Doing so could cause a loud noise and might damage this unit and connected equipment.
NOTE
When set to “LINE” or “MIC”, phantom power is not supplied.
8. 1+2 LINK switch
This function links the settings of INPUT 2 to the settings of INPUT 1.
Use this when recording a stereo mic, for example.

9. INPUT 1 / INPUT 3 volume
Use this to manually adjust the input level when the LEVEL switch (0) is set to “MAN”.
Minimizing the volume will mute the input.
The input adjustment that is possible depends on the following switch settings.

NOTE
- If the LEVEL switch (0) setting is “AUTO”, adjustment of the input volume will have no effect.
- Distortion might occur when signals that are very loud are input even if the LIMITER switch (q) is set to “ON”. In such a case, lower the recording level or increase the distance between the mic and the sound source.
10. LEVEL switches
These switch the input level adjustment mode.

NOTE
When the 1+2 LINK switch (8) is set to “ON”, the INPUT 2 switch settings have no effect, and the settings of the INPUT 1 switches are applied instead.
11. LIMITER switches
These turn the limiter function on and off.

- If the SELECT switch (2) setting is “IN 1” and the 1+2 LINK switch (8) setting is “OFF”, the limiter function will affect the INPUT 1 jack (L channel).
- If the SELECT switch (2) setting is “IN 1” and the 1+2 LINK switch (8) setting is “ON”, the limiter function will affect the INPUT 1 jack (both L and R channels).
NOTE
- When the 1+2 LINK switch (8) is set to “ON”, the INPUT 2 switch settings have no effect, and the settings of the INPUT 1 switches are applied instead.
- Distortion could occur when the input sound is excessively loud even if the limiter function is on. In such a case, lower the recording level or increase the distance between the mic and the sound source.
2 – Names and Functions of Parts
12. INPUT 2 volume
Use this to manually adjust the input level when the LEVEL switch (10) is set to “MAN”.
Minimizing the volume will mute the input.
The input adjustment that is possible depends on the following switch settings.

NOTE
- If the LEVEL switch (10) setting is “AUTO”, adjustment of the input volume will have no effect.
- Distortion might occur when signals that are very loud are input even if the LIMITER switch (11) is set to “ON”. In such a case, lower the recording level or increase the distance between the mic and the sound source.
13. Accessory shoe (cold shoe)
This accessory shoe is a cold shoe.
ATTENTION
- Do not connect accessory shoe devices that have connectors or other parts that stick out. Doing so could damage this unit and the connected device.
- Do not attach heavy equipment. Doing so could cause damage or their falling off due to their weight.
14. OUTPUT switch
Set the output setting according to the equipment connected to the OUTPUT jack (16) and the application.


15. OUTPUT jack
This can be used in two ways, either as a headphone output for monitoring the analog sound with headphones or as a camera output to connect the analog sound to a camera. Set the OUTPUT switch (14) output setting according to the equipment connected and the application.






Accessory shoe attachment adapter parts


3 – Preparation
Preparing the unit
Changing accessory shoe attachment adapters
Change the accessory shoe attachment adapter to use an analog connection with this unit or switch to a camera by a different manufacturer. For details about accessory shoe attachment adapters, see “j Accessory shoe mount adapter” on page 7.
Changing the accessory shoe attachment adapter
1. Use a Phillips head screwdriver to remove the 2 screws that affix the accessory shoe attachment adapter (j).

2. Remove the accessory shoe attachment adapter from the unit.
3. Being careful to use the correct orientation, align the replacement accessory shoe adapter with the unit.

4. Use the 2 screws that were removed to affix the accessory shoe adapter.

ATTENTION
Attach a connector cover to the removed accessory shoe adapter. Failure to do so could result in this unit malfunctioning due to the ingress of foreign matter or connector damage, for example.
Preparing the power supply
This unit can be powered in two ways: from a camera or using AA batteries. Alkaline, nickel-metal hydride or lithium AA batteries can be used. Use AA batteries when any of the following considerations apply to power supply from a camera.
- Power supply from a camera cannot be received
- Using the camera battery is undesirable
- Power supply is limited due to conditions that include the camera battery or operating status
Using power supplied from a camera
Power can be supplied to the unit when a camera that can supply power is connected.
For information about cameras that support power supply, refer to the list of cameras that have been confirmed for operation on the TASCAM website (https://tascam.jp/int/product/ca-xlr2d/docs) or contact TASCAM Customer Support.
Using AA batteries
Install 2 AA batteries in the included battery holder, and attach it to the unit.
1. Slide the cover from the battery holder (24) to remove it. Install 2 AA batteries with their + and – marks as shown in the holder. Then reattach the cover.

2. Remove the battery holder connector cover.

3. Remove the bottom connector cover from the unit and attach the battery holder to the unit.
ATTENTION
If the BATTERY POWERED switch (25) on the battery holder was set to “ON” when it was connected to the unit, the switch must be set to “OFF” once and then back to “ON” in order to use battery power.
4. Set the battery type switch (26) according to the type of batteries being used.

5. Set the BATTERY POWERED switch (25) to “ON” to supply power from the batteries.

ATTENTION
- Manganese dry cell batteries cannot be used with this unit.
- This unit cannot recharge Ni-MH batteries. Use a commercially available recharger.
- When not using the battery holder, attach the bottom connector cover to the unit. Using without this cover could result in this unit malfunctioning due to the ingress of foreign matter or connector damage, for example.
NOTE
A great amount of power is required to provide phantom power to condenser mics. If condenser mics are used while powering the unit with AA batteries, operation time will be shortened due to mic power consumption.
Connecting with cameras
After preparing this unit, connect it to a camera.
ATTENTION
- Always confirm that the power is off on both this unit and the camera before connecting them.
- Do not hold this unit when lifting a connected device. Doing so could put excessive burden on the connection parts and damage this unit and the connected device.
- Disconnect this unit from the connected device and store it when not in use.
- Not doing so could put excessive burden on the connection parts and damage this unit and the connected device.
Connecting to a camera
(CA-XLR2d-C/CA-XLR2d-F)
- Disengage the lock lever (28) or the tightening dial (29), and remove the accessory shoe attachment adapter cover.


2. With the unit oriented correctly, mount the connector part to the camera accessory shoe, sliding it all the way in.



Connecting to a camera (CA-XLR2d-AN)
1. Loosen the tightening dial (l).

2. With the unit oriented correctly, mount the connector part to the camera accessory shoe, sliding it all the way in.


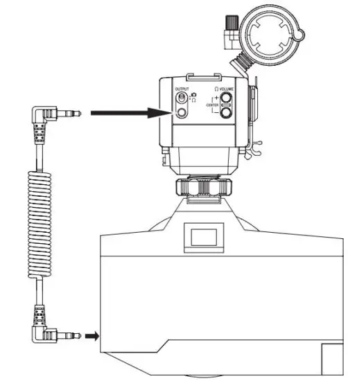
3. Using the tightening dial (29), attach this unit to the connected device securely.

4. Use the included 3.5mm (1/8”) stereo mini cable to connect the OUTPUT jack (15) of this unit with the camera input jack.



Connecting microphones
This section explains how to connect mics and other recording devices as well as various connection settings.
Connecting a single mic that uses phantom power
1. Loosen the mic holder screw and open the holder.

2. Place the mic in the holder, and close the holder while keeping the mic in place. Then, tighten the screw securely.


3. Connect the mic cable to the INPUT 1 jack (18) on this unit.

ATTENTION
- Before connecting or disconnecting a mic or other recording device, turn this unit off.
- Do not connect or disconnect mics when the INPUT 1 switch (4) is set to +48V. Doing so could cause a loud noise and might damage this unit and connected equipment.
- Do not set the INPUT 1 switch (4) to “+48V” when connecting mics that do not require phantom power.
NOTE
If the cable is long, attach the cable to the cable holder so that it stays out of the way.

4. Set the SELECT switch (2) to “IN 1” and set the INPUT 1 switch (4) to “MIC” or “+48V”.

NOTE
- The mic holder can be used to mount mics with 19–23 mm diameters.
- The mic holder can be detached. Remove it with its screws if it is unneeded. (see “Removing the mic holder” on page 13)
Removing the mic holder
Remove the 2 screws indicated by the arrows to remove the mic holder.

Making other connections
This section explains how to connect and use various devices.
Connecting two mics


When connecting a mic to the INPUT 2 jack (p) set the SELECT switch (2) to “IN 1+2” and set the INPUT 2 switch (7) according to the type of mic connected.
When using mics that require phantom power, set the INPUT 1 (4) and INPUT 2 (7) switches to “+48V”.
Connecting mics to the mini jack


When connecting a stereo lapel mic, for example, connect it to the INPUT 3 jack (a), and set the SELECT switch (2) to “IN 3”.
NOTE
When the SELECT switch (2) is set to “IN 3”, the INPUT 1 switch (4) has no effect.
Connecting line level equipment


When connecting a mixer or other line level equipment, use XLR or TRS cables to connect it to this unit, and set the INPUT 1 (4) and INPUT 2 (7) switches to “LINE”.
Connecting headphones


4 – Recording
After completing preparation of connected devices turn on the power supply for this unit.
In order to have this unit operate under the control of the camera, operations and procedures according to the power supply and image capture mode of the camera are necessary. (When using a CA-AK1-AN, it will operate in standalone mode requiring AA batteries.)
Turning the power on
CA-XLR2d-C/CA-XLR2d-F
When power supplied from camera



Adjusting audio settings

Adjust the sound while monitoring it.
Checking audio being recorded
TIP
By connecting headphones to this unit, the sound can be monitored with relatively less latency than the sound output from the camera headphone jack.
Monitoring through this unit
(CA-XLR2d-C/CA-XLR2d-F)

Monitoring through this unit (CA-XLR2d-AN)


TIP
To maximize the performance of this unit’s mic preamps, we recommend setting this unit’s volume as high as possible.
Monitoring through the camera

5 – Troubleshooting
If you are having trouble with the operation of this unit, please try the following before seeking repair. If these measures do not solve the problem, please contact the store where you bought the unit or TASCAM customer support service.
The unit will not turn on
- Confirm that it has been mounted completely on the camera accessory shoe.
- Confirm that the batteries are loaded correctly and still have power.
- If the BATTERY POWERED switch (g) on the battery holder was set to “ON” when it was connected to the unit, the switch must be set to “OFF” once and then back to “ON” in order to use battery power.
No sound is output
- If the POWER SUPPLY indicator (POWER SUPPLY indicator) is blinking rapidly, the power will soon turn off because the battery charge has become very low. Replace the batteries.
- Confirm the headphone output level is not minimized.
An error appears on the camera after it is turned on / Power to this unit is interrupted
- Confirm that it has been mounted completely on the camera accessory shoe.
- Turn the camera power off and on once to restart it.
- Depending on the dynamic mic, setting the INPUT 1 (4) or INPUT 2 (7) switch to “+48V” could result in excessive current drawn for phantom power supply. This could cause the power to be interrupted due to limitations of the camera power supply. For this reason, when using dynamic mics, set the INPUT 1 (4) and INPUT 2 (7) switches to “MIC”.
- Since this could be due to limitations* of the camera power supply, use the included battery holder (f) to power it using AA batteries. (see “Using AA batteries” on page 9)
- Depending on the power consumption of the mics being used, errors could result due to limitations* of the camera power supply. Change the mics connected to the unit.
- Check the list of cameras that have been confirmed for operation for information about camera power supply limitations.
The OL (overload) indicators for both INPUT 1 and INPUT 2 blink when the power is turned on
- If the firmware versions for the unit and the accessory shoe attachment adapter do not match, both OL indicators (3) will blink. The cause might be that the unit was updated with the accessory shoe attachment adapter disconnected. Connect the accessory shoe attachment adapter to the CA-XLR2d unit and update the firmware again.
Battery consumption time is fast
- Set the type of battery being used because the remaining battery charge is monitored according to the battery type.
Input sound is muted
- If the camera power is turned on while the INPUT switches (4/7) are set to “+48V”, analog power might be interrupted and the input sound muted due to camera power supply limitations. Always check that the camera meters are moving before starting video recording. If the sound is muted, use batteries to power this unit or switch to mics that use less power.
6 – Specifications/rated values






Other unit settings: input volume centered, ATT switch at “0dB”, LEVEL switch at “MAN”, LIMITER switch at “OFF”
o Using NiMH battery (eneloop)

Other unit settings: input volume centered, ATT switch at “0dB”, LEVEL switch at “MAN”, LIMITER switch at “OFF”
Using lithium-ion batteries (Energizer Ultimate Lithium)

Other unit settings: input volume centered, ATT switch at “0dB”, LEVEL switch at “MAN”, LIMITER switch at “OFF”
ATTENTION
When using phantom power, the operation time might be reduced depending on the mics being used.
Dimensions / Weight
- CA-XLR2d-C:
88.2mm (W) x 119.1mm (H) x 110.0 mm (D) / 341 g
(not including protrusions, mic holder attached, battery holder not attached) - CA-XLR2d-F:
88.2mm (W) x 119.1mm (H) x 110.0 mm (D) / 331 g
(not including protrusions, mic holder attached, battery holder not attached) - CA-XLR2d-AN:
88.2mm (W) x 119.1mm (H) x 110.0 mm (D) / 357 g
(not including protrusions or batteries, mic holder attached, battery holder attached)
Operating temperature range
0 – 40°C (32 – 104°F)
Dimensional drawings



- Illustrations in this reference manual might differ in part from the actual product.
- Specifications and external appearance might be changed without notification to improve the product.
7 – Important Notice Regarding Software
Software Licensing
CMSIS Core header files
Copyright (C) 2009-2015 ARM Limited.
All rights reserved.
Redistribution and use in source and binary forms, with or without modification, are permitted provided that the following conditions are met:
- Redistributions of source code must retain the above copyright notice, this list of conditions and the following disclaimer.
- Redistributions in binary form must reproduce the above copyright notice, this list of conditions and the following disclaimer in the documentation and/or other materials provided with the distribution.
- Neither the name of ARM LIMITED nor the names of its contributors may be used to endorse or promote products derived from this software without specific prior written permission.
THIS SOFTWARE IS PROVIDED BY THE COPYRIGHT HOLDERS AND CONTRIBUTORS “AS IS” AND ANY EXPRESS OR IMPLIED WARRANTIES, INCLUDING, BUT NOT LIMITED TO, THE IMPLIED WARRANTIES OF MERCHANTABILITY AND FITNESS FOR A PARTICULAR PURPOSE ARE DISCLAIMED. IN NO EVENT SHALL THE COPYRIGHT OWNER OR CONTRIBUTORS BE LIABLE FOR ANY DIRECT, INDIRECT, INCIDENTAL, SPECIAL, EXEMPLARY, OR CONSEQUENTIAL DAMAGES (INCLUDING, BUT NOT LIMITED TO, PROCUREMENT OF SUBSTITUTE GOODS OR SERVICES; LOSS OF USE, DATA, OR PROFITS; OR BUSINESS INTERRUPTION) HOWEVER CAUSED AND ON ANY THEORY OF LIABILITY, WHETHER IN CONTRACT, STRICT LIABILITY, OR TORT (INCLUDING NEGLIGENCE OR OTHERWISE) ARISING IN ANY WAY OUT OF THE USE OF THIS SOFTWARE, EVEN IF ADVISED OF THE POSSIBILITY OF SUCH DAMAGE.
KSDK Peripheral Drivers
Copyright (c) 2013 – 2015 Freescale Semiconductor, Inc.
All rights reserved.
Redistribution and use in source and binary forms, with or without modification, are permitted provided that the following conditions are met:
- Redistributions of source code must retain the above copyright notice, this list of conditions and the following disclaimer.
- Redistributions in binary form must reproduce the above copyright notice, this list of conditions and the following disclaimer in the documentation and/or other materials provided with the distribution.
- Neither the name of Freescale Semiconductor, Inc. nor the names of its contributors may be used to endorse or promote products derived from this software without specific prior written permission.
THIS SOFTWARE IS PROVIDED BY THE COPYRIGHT HOLDERS AND CONTRIBUTORS “AS IS” AND ANY EXPRESS OR IMPLIED WARRANTIES, INCLUDING, BUT NOT LIMITED TO, THE IMPLIED WARRANTIES OF MERCHANTABILITY AND FITNESS FOR A PARTICULAR PURPOSE ARE DISCLAIMED. IN NO EVENT SHALL THE COPYRIGHT HOLDER OR CONTRIBUTORS BE LIABLE FOR ANY DIRECT, INDIRECT, INCIDENTAL, SPECIAL, EXEMPLARY, OR CONSEQUENTIAL DAMAGES (INCLUDING, BUT NOT LIMITED TO, PROCUREMENT OF SUBSTITUTE GOODS OR SERVICES; LOSS OF USE, DATA, OR PROFITS; OR BUSINESS INTERRUPTION) HOWEVER CAUSED AND ON ANY THEORY OF LIABILITY, WHETHER IN CONTRACT, STRICT LIABILITY, OR TORT (INCLUDING NEGLIGENCE OR OTHERWISE) ARISING IN ANY WAY OUT OF THE USE OF THIS SOFTWARE, EVEN IF ADVISED OF THE POSSIBILITY OF SUCH DAMAGE.
KSDK Flash / NVM
Copyright (c) 2010 – 2015 Freescale Semiconductor, Inc.
All rights reserved.
Redistribution and use in source and binary forms, with or without modification, are permitted provided that the following conditions are met:
- Redistributions of source code must retain the above copyright notice, this list of conditions and the following disclaimer.
- Redistributions in binary form must reproduce the above copyright notice, this list of conditions and the following disclaimer in the documentation and/or other materials provided with the distribution.
- Neither the name of Freescale Semiconductor, Inc. nor the names of its contributors may be used to endorse or promote products derived from this software without specific prior written permission.
THIS SOFTWARE IS PROVIDED BY THE COPYRIGHT HOLDERS AND CONTRIBUTORS “AS IS” AND ANY EXPRESS OR IMPLIED WARRANTIES, INCLUDING, BUT NOT LIMITED TO, THE IMPLIED WARRANTIES OF MERCHANTABILITY AND FITNESS FOR A PARTICULAR PURPOSE ARE DISCLAIMED. IN NO EVENT SHALL THE COPYRIGHT HOLDER OR CONTRIBUTORS BE LIABLE FOR ANY DIRECT, INDIRECT, INCIDENTAL, SPECIAL, EXEMPLARY, OR CONSEQUENTIAL DAMAGES (INCLUDING, BUT NOT LIMITED TO, PROCUREMENT OF SUBSTITUTE GOODS OR SERVICES; LOSS OF USE, DATA, OR PROFITS; OR BUSINESS INTERRUPTION) HOWEVER CAUSED AND ON ANY THEORY OF LIABILITY, WHETHER IN CONTRACT, STRICT LIABILITY, OR TORT (INCLUDING NEGLIGENCE OR OTHERWISE) ARISING IN ANY WAY OUT OF THE USE OF THIS SOFTWARE, EVEN IF ADVISED OF THE POSSIBILITY OF SUCH DAMAGE.
KSDK H/W Abstraction Layer (HAL)
Copyright (c) 2013 – 2015 Freescale Semiconductor, Inc.
All rights reserved.
Redistribution and use in source and binary forms, with or without modification, are permitted provided that the following conditions are met:
- Redistributions of source code must retain the above copyright notice, this list of conditions and the following disclaimer.
- Redistributions in binary form must reproduce the above copyright notice, this list of conditions and the following disclaimer in the documentation and/or other materials provided with the distribution.
- Neither the name of Freescale Semiconductor, Inc. nor the names of its contributors may be used to endorse or promote products derived from this software without specific prior written permission.
THIS SOFTWARE IS PROVIDED BY THE COPYRIGHT HOLDERS AND CONTRIBUTORS “AS IS” AND ANY EXPRESS OR IMPLIED WARRANTIES, INCLUDING, BUT NOT LIMITED TO, THE IMPLIED WARRANTIES OF MERCHANTABILITY AND FITNESS FOR A PARTICULAR PURPOSE ARE DISCLAIMED. IN NO EVENT SHALL THE COPYRIGHT HOLDER OR CONTRIBUTORS BE LIABLE FOR ANY DIRECT, INDIRECT, INCIDENTAL, SPECIAL, EXEMPLARY, OR CONSEQUENTIAL DAMAGES (INCLUDING, BUT NOT LIMITED TO, PROCUREMENT OF SUBSTITUTE GOODS OR SERVICES; LOSS OF USE, DATA, OR PROFITS; OR BUSINESS INTERRUPTION) HOWEVER CAUSED AND ON ANY THEORY OF LIABILITY, WHETHER IN CONTRACT, STRICT LIABILITY, OR TORT (INCLUDING NEGLIGENCE OR OTHERWISE) ARISING IN ANY WAY OUT OF THE USE OF THIS SOFTWARE, EVEN IF ADVISED OF THE POSSIBILITY OF SUCH DAMAGE.
KSDK MKL17Z4
Copyright (c) 1997 – 2015 Freescale Semiconductor, Inc.
All rights reserved.
Redistribution and use in source and binary forms, with or without modification, are permitted provided that the following conditions are met:
- Redistributions of source code must retain the above copyright notice, this list of conditions and the following disclaimer.
- Redistributions in binary form must reproduce the above copyright notice, this list of conditions and the following disclaimer in the documentation and/or other materials provided with the distribution.
- Neither the name of Freescale Semiconductor, Inc. nor the names of its contributors may be used to endorse or promote products derived from this software without specific prior written permission.
THIS SOFTWARE IS PROVIDED BY THE COPYRIGHT HOLDERS AND CONTRIBUTORS “AS IS” AND ANY EXPRESS OR IMPLIED WARRANTIES, INCLUDING, BUT NOT LIMITED TO, THE IMPLIED WARRANTIES OF MERCHANTABILITY AND FITNESS FOR A PARTICULAR PURPOSE ARE DISCLAIMED. IN NO EVENT SHALL THE COPYRIGHT HOLDER OR CONTRIBUTORS BE LIABLE FOR ANY DIRECT, INDIRECT, INCIDENTAL, SPECIAL, EXEMPLARY, OR CONSEQUENTIAL DAMAGES (INCLUDING, BUT NOT LIMITED TO, PROCUREMENT OF SUBSTITUTE GOODS OR SERVICES; LOSS OF USE, DATA, OR PROFITS; OR BUSINESS INTERRUPTION) HOWEVER CAUSED AND ON ANY THEORY OF LIABILITY, WHETHER IN CONTRACT, STRICT LIABILITY, OR TORT (INCLUDING NEGLIGENCE OR OTHERWISE) ARISING IN ANY WAY OUT OF THE USE OF THIS SOFTWARE, EVEN IF ADVISED OF THE POSSIBILITY OF SUCH DAMAGE.


Read More About This Manual & Download PDF:


















