RUUD RUTGH-S Tankless Water Heaters

Easy Installation
- PVC Vent runs up to 70′ (2″), 150′ (3″)
- Easy set up with full text digital display and no dip-switches
- Field gas convertible from natural gas to LP conversion kit included
Ready for Retrofits
- Allows flex venting through existing B-vent up to 50′
- 1/2″ Gas line compatibility (subject to local code)
- Approved for installations in Manufactured Home (Mobile Home) environments
Key Features
- Stainless steel Primary and Secondary heat exchangers provide increased efficiency and durability
- Hot-start programming™ ensures the unit is in a ready state between back-to-back usage, avoiding any cold water bursts –Ruud® Exclusive!
- Built-in Recirculation pump for instant hot water at the tap (SR models)
- Built-in Eco Net® wifi capability for direct control from your device (optional for S models)
Specifications
| Ruud Model Number | RUTGH-S84i RUTGH-SR84i | RUTGH-S10i RUTGH-SR10i | RUTGH-S11i RUTGH-SR11i | |
| Gas Input Rate | MAX | 157,000 BTU/h | 180,000 BTU/h | 199,900 BTU/h |
| MIN | 11,000 BTU/h | 11,000 BTU/h | 11,000 BTU/h | |
| Uniform Energy Factor (UEF) | 0.96 | |||
| Gallons Per Minute (GPM) | MAX (35°F) | 8.4 | 10.1 | 11.2 |
| 45°F Rise | 6.9 | 7.9 | 8.8 | |
| 67°F Rise | 4.6 | 5.3 | 5.9 | |
| Number of Bathrooms1 | ![]() | ![]() | ![]() | |
| Temp. Range | 85°F – 140°F | |||
| Temp. Setting from Factory | 120°F | |||
| Installation Type | Indoor (Outdoor Conversion Kit sold separately: RTGH-SX) | |||
| Fuel Type | Compatible with Natural Gas and LP (ships NG with LP conversion kit included) | |||
| Heat Exchanger Material | Primary: Stainless Steel – Secondary: Stainless Steel | |||
| Minimum Activation Flow | 0.4 GPM | |||
| Minimum Continuous Flow | 0.26 GPM | |||
| Maximum Altitude | 10,200 ft. | |||
| Ultra Low NOx | Yes (SCAQMD compliant) | |||
| Warranty | 15 Year Heat Exchanger – (w/ registration) 12 Year Heat Exchanger – (w/o registration) 5-Year Parts | 1-Year Labor | |||
| Model Number | RUTGH-S | RUTGH-SR |
| Height | 28-9/16″ | |
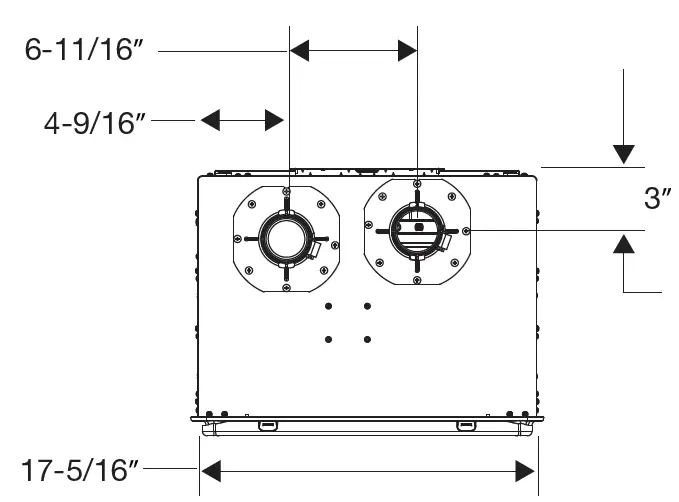
| Width | 17-5/16″ | |
| Depth | 13-11/16″ | |
| Weight | 77.6lbs | 86lbs |
| Venting Diam. Allowed | 2″ / 3″ | |
| Max. Single Vent Run (straight pipe) | 70 ft (2″)/ 150 ft (3″) | |
| Venting Materials | Sched. 40 PVC, CPVC, PP | |
| Common Venting (max. units) | 2 units3 | |
| Flex Venting | Allowed: 2″ up to 50′ | |
| Manifold Controls (max. units) | Up to 20 units without external control required4 | |
| Controls | Built-in digital display with full-text menus | |
| Power Supply | 120V 60Hz | |
| Max. Power Consumption | 85W (Normal use), 0.7Amps 132W (Anti freeze only), 1.1Amps 3.5W (Standby), 0.03Amps5 | 100W (Normal use), 0.83Amps 200W (Anti freeze), 1.67Amps 3.5W (Standby), 0.03Amps5 |
| Gas Connection | 3/4″ NPT | |
| Hot Water Connection | 3/4″ NPT | |
| Cold Water Connection | 3/4″ NPT | |
| Condensate Connection | 1/2″ NPT | |
| Vent Connections Diameter | 2″ Band Connections (Adapter required to vent with 3″ PVC from unit) | |
| Clearances | |
| Top / Bottom | 12″ |
| Front | 1/2″6 |
| Sides | 1/2″ |
| Back / From Vent Pipe | 0″ |
| Recirculation Length (SR Models) | |
| Pipe Diameter | Max. Recirculation Loop |
| 3/4″ | 400 ft. |
| 1/2″ | 100 ft. |
1 Based on simultaneous showers using 2.5 GPM flow rate pre-mixed with cold water line. Flow rates vary depending on temperature of incoming cold water and water heater set temperature. Refer to flow rate curves for accurate sizing. 2 For indoor application, this is the temperature of outdoor intake air. 3 External check valve required for installation. 4 Manifolds with standard RJ25 communication cables. 5 If anti freeze is on and combustion is on, total W will be 217W (85+132). 6 Recommended 24″ clearance for service.
Water Heater Flow Rate Curves

Venting
SINGLE UNIT: MAX. EQUIVALENT VENT LENGTHS – STRAIGHT PIPE | ||
Number of 90 Elbows | Max Length 2″ straight pipe | Max. length 3″ straight pipe |
0 | 70 ft. (21.3 m) | 150 ft. (45.7 m) |
1 | 64 ft. (19.5 m) | 145 ft. (44.2 m) |
2 | 58 ft. (17.7 m) | 140 ft. (42.7 m) |
3 | 52 ft. (15.8 m) | 135 ft. (41.1 m) |
4 | 46 ft. (14.0 m) | 130 ft. (39.6 m) |
5 | 40 ft. (12.2 m) | 125 ft. (38.1 m) |
6 | 34 ft. (10.4 m) | 120 ft. (36.6 m) |
Venting Materials Allowed: Schedule 40 PVC, CPVC, PP
Equivalent Ft. of Elbows | ||
2″ Pipe | 3″ Pipe | |
| 90° Elbow | 6 ft (1.83 m) | 5 ft (1.52 m) |
| 45° Elbow | 3 ft. (0.9 m) | 2.5 ft. (0.75 m) |
Min. Vent Length Straight Pipe | |
| Number of 90° Elbows | Min. Length 2″ 3″ pipe |
| 1 | 1.0 ft (0.3 m) |
COMMON VENTING | |
# of Water Heaters | 3″ Common Vent |
2 | 60 ft. |
SINGLE UNIT: Max. Flex Venting |
Max Length 2″ flex vent |
50 ft. |
Dimensions

TOP VIEW

BOTTOM VIEW

Hanging bracket, bird screens, LP gas conversion kit are included with water heater.
Parts & Accessories
Condensate Neutralizer | Non-Return Valve | Flex Vent Kit | Pipe Cover | Horizontal Vent Termination | Concentric Vent Termination | AllClear® Water Treatment System | Isolation Valve Kit | Manifold Cables | Outdoor Conversion Kit | Crossover Valve |
| SP12151 (optional)
| SP21088
| SP21091
| AP20473
| 2″ US: SP21069G 3″ US: SP21069E
| 2″ – SP20897 3″ – SP20245 ![]() | RTG20251
| RTG20220AB
| RCPN-AMP03 0013111101-0003 (48″)
| RUTGH-SX
| RTG20285
|

































