Paulmann 929.23 LED Recessed Wall Luminaire

IN THE BOX
TOOLS REQUIRED
DIMENSION
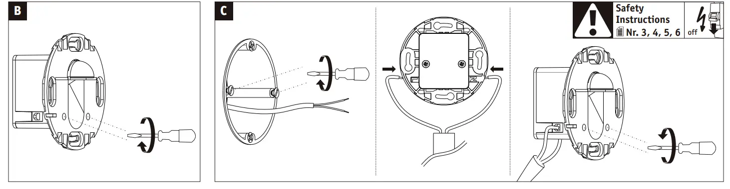
INSTALLATION INSTRUCTION



POWER
SPECIFICATION

Interchangeability
(1) light source or (4) end user replaceable control mechanism without permanent damage to the appliance. (2) light source or (5) control mechanism replaceable by a electrician without permanent damage to the appliance. (3) light source or (6) control mechanism not replaceable, it is necessary to replace the appliance.
DISPOSAL
Old devices must not be disposed of with the residual waste. They can be collected at public collection points from Ent be handed over to care providers. Waste batteries and accumulators, as well as lamps that can be removed from the old device non-destructively must be separate from the old device. Distributors are within the scope of § 17 paragraph 1 and 2 ElektroG obliged to take back this product free of charge. End users of old devices must responsible for the deletion of personal data on the old devices to be disposed of. www.paulmann.com
This product contains a light source with energy efficiency class <see above>.
www.paulmann.com/symbols




















