INSTALLATION INSTRUCTION FOR N7325-613
READ AND SAVE THESE INSTRUCTIONS
N7325-613 Luxour 5-Light Polished Nickel Pendant
WARNING! SHUT POWER OFF AT FUSE OR CIRCUIT BREAKER .
This fixture can be mounted in two ways: PENDANT OR SEMI FLUSH MOUNT
![]() | ![]() |
![]() |
PREPATION
- Shut off the power at the fuse box or circuit breaker box. Remove old fixture and all mounting hardware from junction box.
- Carefully unpack your new fixture and lay out all the parts on a clear area. Take care not to lose any parts necessary for installation.
ASSEMBLING THE FIXTURE PENDANT:
(Fig.1)
- Thread stem (L) onto all thread (M).
- Determine desired hanging height and thread rods (G, H, I, J) to coupling (K). Then thread swivel (F) of canopy (D) onto rod (G). Pass wires carefully through each rod, swivel (F) and canopy (D).
SEMI FLUSH MOUNT:
(Fig.1&Fig.2)
- Loosen stem (L) from crystal assembly (Q).
- Thread stem (L) onto all thread (M), then thread swivel (F) on canopy (D) to stem (L).
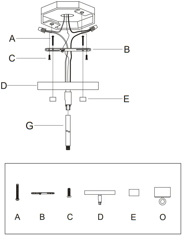
MOUNTING THE FIXTURE
(Fig.1)
- Thread the two mounting screws (A) (Size: #832*1.2″L) into the crossbar (B) spaced same distance apart as the holes in canopy (D). Secure crossbar (B) to junction box (not provided) with junction box screws (C) (Size: #8-32*0.6”L). The length of mounting screws (A) into crossbar (B) may be adjusted if necessary. The side of crossbar (B) marked “GND” must face out.
CONNECTING THE WIRES
(Fig.3)
- Connect the electrical wires as shown in figure 3, making sure that all wire connectors are secured. If your junction box has a ground wire (green or bare copper), connect the fixture’s ground wire to it.
Otherwise, connect the fixture’s ground wire directly to the crossbar (B) using the green screw provided. - Tuck wire connectors neatly into the junction box.
COMPLETING THE INSTALLATION
(Fig. 1)
- Align canopy (D) to mounting screws (A) and secure with cap nuts (E).
- Secure finial (O) onto all thread (N).
- Hook crystal drop (P) to finial (O).
- Install (5) five candelabra base bulbs up to 60 watts each or CFL or LED equivalent (not included) in accordance with the fixture specification. (DO NOT EXCEED THE SPECIFIED WATTAGE!)
Your installation is now complete. Return power to the junction box and test the fixture.

a. Hardware Bag:
A. Mounting Screws *2
B. Crossbar *1
C. Junction Box Screws *2
D. Canopy *1
E. Cap Nuts *2
O. Finial *1

b. Hardware Bag:
H-I-J. Rod 12’’ *3
G. Rod 6”* 1
![]()











