bond HYUTT33001-1 20 IN Table Fire Gas Firebowl

Item# 50857N
Model# HYUTT33001-1

Note: A table with an umbrella hole (not included) is required to assemble this product.
WARNING: If the information in this manual is not followed exactly, a fire or explosion may result causing property damage,personal injury,or loss of life.
DANGER
FIRE OR EXPLOSION HAZARD
If you smell gas:
- Shut off gas to the appliance.
- Extinguish any open flame.
- If odor continues, leave the area immediately.
- After leaving the area, call your gas supplier or fire department.
Failure to follow these instructions could result in fire or explosion, which could cause property damage, personal injury, or death.
WARNING
Do not store or use gasoline or other flammable vapors and liquids in the vicinity of this or any other appliance. An LP-cylinder not connected for use shall not be stored in the vicinity of this or any other appliance.
WARNING
For outdoor use only.
Installation and service must be performed by a qualified installer, service agency, or the gas supplier.
WARNING
Improper installation, adjustment, alteration, service or maintenance can cause injury or property damage. Refer to the owner’s information manual provided with this appliance.
For assistance or additional information consult a qualified installer, services agency or the gas supplier.
INSTALLER:
Leave this manual with the appliance.
CONSUMER:
Retain this manual for future reference.

SAFETY INFORMATION
Before you assemble or operate this unit, please carefully read this entire manual. Failure to do so may result in a fire, explosion, injury or death.
WARNING
- The installation of this unit must adhere to local codes or Propane Storage and Handling Code, CSA B149.2.
- THIS UNIT IS INTENDED FOR OUTDOOR USE ONLY! This product shall be used outdoors, in a ventilated space and shall not be used in any enclosed area.
- This unit is to be used with propane gas only! (sold separately)
- Do not attach a remote gas supply to this unit.
- Only use propane gas for this unit.
- Solid fuels shall not be burned in this appliance.
- When igniting this unit, stay away from the burner as the flame will light up and may cause injury.
- LP GAS WARNING:
Do not use any more than 1/4in depth lava rocks/pumice stones/LavaGlass above the burner holes. Doing so will suffocate the flame. - If the propane gas tank is leaking gas, you may hear, see, or smell a hiss. Do the following:
- Disconnect the propane gas tank. 2. Do not attempt to fix the problem yourself. 3. Contact your gas supplier or fire department for help.
- Applying too much propane may result in gas pooling and will not burn. Allow fresh air into the unit so that the remaining gas may escape.
- Do not use a flame to check for gas leaks.
- Manifold pressure: 11 inch w.c. (2.74kPa).
- Use LP propane tanks with the following dimensions: diameter 12 in, height 18 in capacity 20 Ibs.
- You must use a propane tank that has a collar to protect the gas valve.
- DO NOT fill tank over 80 percent full.
- The tank system must be set up for vapor withdrawal.
- Discontinue use if any part of the propane tank is damaged. Rust and dents may be hazardous and should be inspected by a gas supplier.
- Do not burn anything other than the provided materials for this fire table.
- Keep away from the unit for the first 20 minutes after igniting your unit for the first time, as lava rocks/pumice stones/lLavaGlass° could pop out and cause injury. Should any rocks pop out, discard them.
- Always ensure that lava rocks/pumice stones/LavaGlass are completely dry before use. Failure to do so will cause them to crack or pop.
- Do not operate unit until all parts are fully assembled.
- Do not paint or color any part of this heating unit.
- Unit may be hot while in use, do not attempt to move it while in use.
- Never leave this heating unit unattended while in use.
- This unit is not intended for cooking.
- Keep any flammable items away and do not use any other fireplace cover for this unit.
- Keep a safe distance to avoid burning skin or clothing.
- Do not sit or rest hands or feet on this heating unit.
- Never place hands or fingers on upper portion of this unit while in use.
- Keep all electrical cords and fuel supply hose away from heated surfaces.
- Combustible material should not be within 60 inches of the top of the unit, or within 48 inches around the entire unit
- Keep the appliance area clear and free from combustible material, gasoline and other flammable vapors and liquids.
- If the flame goes out while burning, turn the gas valve off. Wait 5 minutes before repeating the initial lighting procedure. Once you have a flame started, hold down the control knob for 1 minute.
- Do not add water into the unit.
- Do not operate unit if any part has been under water. Immediately call a qualified service technician to inspect the appliance and replace any part of the control system and any gas control that has been under water.
- Do not disconnect any part while unit is in use.
- Do not store a spare propane tank on or near this unit.
- If the heating unit is indoors, detach the propane tank and leave outdoors.
- Do not operate on a boat or vehicle. This unit must be used on a flat surface and outdoors ONLY.
- Always remove protective cover before operating (if applicable).
- Do not set the protective cover over the unit until it is turned off and completely cooled down.
- Check for leaks after not using the unit for long periods of time.
- Children should never operate this unit. Children must be supervised while near this unit.
- Keep gas tank at least 5 feet away from unit when lit. (if external tank)
- Maximum gas supply: 250 psi; Min. gas supply: 10 psi.
- All installation and repair should be done by a qualified professional. This unit should be inspected annually and cleaned regularly.
- Inspect all elements of this heating unit before each use. If there is damage, the burner must be replaced.
- Keep the hose out from any pathways to eliminate any accidental damage. (if external tank)
- Be aware of the hazards of high temperatures and stay away from the unit to avoid any burns or injury.
- The gas supply tank should be constructed and marked with the specifications for the LP gas tanks of the U.S. Department of Transportation or the National Standard of
- Canada CAN/CSA-B339, LP gas tanks, spheres and tubes for Transportation of Dangerous Goods; and Commission.
- The LP gas tank must have a listed overfiling prevention device and a QCCl or Type I, (CGA791) LP gas tank connection.
- This heating appliance should not be used on plastic or artificial wood decks.
- Children and adults should be alerted to the hazards of high surface temperatures and should stay away to avoid burns or clothing ignition.
- Young children should be carefully supervised when they are in the area of the appliance.
- Clothing or other flammable materials should not be hung from the appliance or placed on or near the appliance.
- Any guard or other protective device removed for servicing the appliance shall be replaced prior to operating the appliance.
- Installation and repair should be done by a qualified service person. The appliance should be inspected before use and at least annually by a qualified service person. More frequent cleaning may be required as necessary. It is imperative that the control compartment, burners and circulating airways of the appliance are kept clean.
IF APPLICABLE:
- Allow heating item to cool completely before placing on lid.
- DO NOT use heating item while lid is installed. Always remove the lid while heating item is in use.
Only use the regulator and hose assembly provided with this unit. Replacement parts must be supplied directly by Bond Manufacturing Co., Inc.
Inspect the burner before use of this unit. If the burner shows any kind of damage, do not operate the appliance. For assistance with repair or replacement of the burner or any other parts, calls Bond Manufacturing Co., Inc. at 1.866.771.2663.
NOTE: You must follow all steps to properly assemble this heating item. Make sure the gas valve is turned “OFF” before assembling. Do NOT attempt to assemble without proper tools.

Combustible materials should not be within 60 inches of the top of the unit, or within 48 inches around the entire unit.
A table with an umbrella hole (not included) is required to assemble this product.
The umbrella hole table size needs to meet the following requirements:
- The length and width should not be shorter than 81.28 cm /32 in.
- The height should be lower than 101.6 cm / 40 in.
- The tabletop should be incombustible material.

Before beginning assembly of product, make sure all parts are present. Compare parts with package contents list and hardware contents list. If any parts are missing or damaged, do not attempt to assemble the product.
Estimated Assembly Time: 20 minutes
Tools Required for Assembly ( not included): Phillips screwdriver
Components

| Item | Description | Qty |
| A | Firebowl Body | 1 |
| B | Electronic Igniter (within firebowl insert body) | 1 |
| C | Fixing Plate | 1 |
| D | Fixing Nut (preassembled) | 1 |
| E | Quick Disconnect Connection (male end) | 1 |
| F | Quick Disconnect Connection (female end) | 1 |
| G | Regulator and Hose | 1 |
| H | Battery (AA) | 1 |
| I | Tank Holder | 1 |
| J | Burner (preassembled) | 1 |
| K | Guard (preassembled) | 1 |
| L | Ignition Control Knob (preassembled) | 1 |
| M | LavaGlass® | 1 Bag(1.9kg) |
| N | M4 Screw | 4 |
| O | PVC Cover | 1 |
ASSEMBLY INSTRUCTIONS
- Check that the ignition control knob (L) for the gas supply system is turned to the “OFF” position before starting any assembly

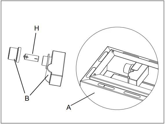
- Turn the firebowl (A) upside down. Unscrew and remove the cap on the electronic igniter (B), then place in the AA battery (H ) into the battery slot. Be sure the positive side of the battery faces outwards. Replace the electronic igniter cap over the battery; be sure to tighten securely.

- Unscrew and remove the fixing nut (D) from the threaded post, then attach the fixing plate (C) onto the bottom of the firebowl body (A) using 4 M4 screws (N). Be sure to tighten securely.

- Insert the threaded post into the umbrella hole on the tabletop so that the bottom of the firebowl body (A) sits flush on the tabletop. Secure the firebowl body (A) to the table by screwing the fixing nut (D) onto the threaded post underneath the tabletop. Be sure to tighten securely.

- Pull back and hold the collar on the female end of the quick disconnect connection (F) coupling. Insert the quick disconnect male end (E) fully into the coupling and then release the collar.

- Put the 20 lb. propane gas tank (not included) into the tank holder (I). Turn the wing screw on the outside of the tank holder (I) clockwise to tighten the tank into the tank holder.

DANGER
Propane tank must be a minimum of 60 inches away at all times. - Turn the cylinder valve on the tank clockwise to close the propane tank.
Attach the regulator to the cylinder valve by turning the regulator coupling nut clockwise. Make sure it is fastened securely and tighten connections by hand only.
- Pour the LavaGlass (M) into the middle of the firebowl body (A) evenly.

WARNING
To ensure proper function, the guard (K) on the burner (J) should be free of LavaGlass (M) at all times.
Keep away from the unit and allow the unit to burn 20 minutes for the first time use. Always ensure that lava rocks/pumice stones/ LavaGlass® are completely dry before use. Failure to do so will cause them to crack or pop.
OPERATION
Before performing a leak test, be sure that no sparks can occur and you are in a spacious outdoor area. Connect the propane gas tank to the regulator and turn the valve on the unit to the “off” position. Brush a soap and water mixture on all connections. Turn the gas supply on; if bubbles occur on any connection there may be a leak. If you smell gas or a leak is discovered turn the gas valve off, disconnect propane gas tank and do not use the appliance until the leak is repaired.
Do not use the heating unit ithout inspecting the gas hose. If there are signs of wear or abrasion you must replace the hose (if applicable). Pumice stones/lava rocks/LavaGlass could pop up and strike somebody’s face during the process of lighting this unit; stand away from the unit for the first 20 minutes after igniting. Flame height should be a yellow/blue color between 2 10 inches in height.
Wait 50 minutes after extinguishing flame prior to placing a lid (if applicable) or protective cover on heating item.
To Light
- Turn ignition control knob (L) to the “OFF” position. Connect propane gas tank to regulator and open the cylinder valve.
- Push the ignition control knob (L) in and turn counterclockwise to the “HIGH”‘ position; this will ignite the fuel. Keep holding down the control knob for 15 seconds.
- If ignition does NOT immediately take place in seconds, push and turn the ignition control knob (L) clockwise to “OFF”. Wait 5 minutes, then repeat the lighting procedure as above.
- To adjust the flame, turn the ignition control knob (L) either clockwise or counterclockwise depending on whether you want to lower or raise the flame.
To Extinguish
- Push and turn the ignition control knob (L) clockwise to the “OFF” position.
- Turn the propane gas tank valve on the gas tank to close the gas supply and disconnect the propane gas tank.
WARNING
Fire product and propane gas cylinder minimum distance must be over 60 inches.

MAINTENANCE
- Before performing any maintenance always disconnect propane gas tank.
- Store your product indoors during winter months. Avoiding extreme cold temperatures will prevent from exposure damage.
- Keep the heating item free and clear from combustible materials.
- Visually inspect burner for obstructions and keep tank enclosure free and clear from debris.
- Use a soft brush to get rid of the mild stains, loose dirt and soil after the burner and pumice stones/ lava rocks/LavaGlass° are completely cooled down. Wipe down with a soft cloth.
- Harsh weather conditions may cause stubborn stains, discoloration and possibly rust pitting.
- Permanent damage may occur if powder or solvent comes in contact with painted or plastic components on this heating unit.
- Keep the heating unit stored away from direct sunlight.
- If storing this unit inside, disconnect the propane gas tank from the gas valve.
- Not using manufacturer approved or supplied parts/accessories may result in a defective condition and void the warranty of this heating unit.
- Always place lid (ff applicable) or protective cover on heating item when not in use.
TROUBLESHOOTING
| Problem | Cause | Solution |
|
Heating unit won’t light | Igniter pin and burner are wet | Dry off with a soft cloth |
| Igniter battery is incorrectly inserted | Check which direction the battery is inserted | |
| Igniter pin is broken | Contact Bond Manufacturing Co., Inc. for a replacement part | |
| Electrode wire is loose or disconnected | Reconnect wire to the igniter box located inside the unit behind the igniter box | |
| Electrode wire is shorting between valve and igniter pin | Contact Bond Manufacturing Co., Inc. for a replacement part | |
|
Burner won’t light while using a match | No gas flow | Check that the gas tank isn’t empty |
| Regulator isn’t connected securely to the tank | Tighten regulator connection to the gas tank | |
| Gas flow is obstructed | Check all hoses for kinks and bends | |
| Burner ports are clogged | Turn all gas flow connections off. Insert an opened paperclip (or similar item) into each of the burner ports to clear them out. | |
| Heating unit emits a lot of black smoke | Flame is obstructed at burner ports | Check that all burner ports are free of any small lava rocks/pumice stones/Lava- Glass® pieces |
| Regulator hose is kinked | Straighten hose of all bends or kinks | |
|
Sudden drop in gas flow | No gas flow | Check that the gas tank isn’t empty |
| Excess flow safety valve has been activated | Turn the control knob to the ‘off’ posi- tion. Close the tank valve and disconnect propane gas tank. Turn the control knob to ‘high’; wait 1 minute. Turn the control knob back to the ‘off’ position. Recon- nect propane gas tank. Light the fire unit as indicated in the ‘To Light’ section of this manual. | |
|
Flame blows out easily | High or gusting winds | Increase flame to ‘high’ |
| No gas flow | Check that the gas tank isn’t empty | |
| Excess flow safety valve has been activated | See ‘sudden drop in gas flow’ above |
WARRANTY
This product has a one-year warranty against manufacturing defects in workmanship, or materials.
The manufacturer warranty will be voided by, and manufacturer disclaims any responsibility for, the following actions:
- Modification of the unit and/or components including the gas valve assembly.
- Use of any component part not manufactured or approved by Bond Manufacturing Co., Inc.
- Use and installation other than what is listed in this manual.
Please contact the manufacturer for replacement parts.
CONTACT
If you have any questions or concerns, please contact Bond Manufacturing Co., Inc. at the below resources:
| Toll Free Phone | 1-866-771-BOND (2663) | Monday – Friday, 8am – 4:30pm PST |
| customer[email protected] | |
| Online | www.bondmfg.com |


























