ELEMENTI OFG415NG Riviera Fire Table

IMPORTANT
- INSTALLER:
Leave this manual with the appliance. - CONSUMER:
Retain this manual for future reference.
WARNING
- If the information in this manual is not followed exactly, a fire or explosion may result causing property damage personal injury or loss of life.
- Improper Installation, adjustment, alteration, service or maintenance can cause injury or property damage.
- Installation and service must be performed by a qualified installer, service agency or gas supplier.
- Read the installation, operation and maintenance instructions thoroughly before installing or servicing this equipment.
- Save these instructions for future reference. If you are assembling this unit for someone else, give this manual to him or her to read and savefor future reference.
WARNING
Do not store or use gasoline or other flammable vapors and liquids, in the vicinity of this or any other appliance. This unit is not for use with propane. Use only with Natural gas.
If you smell gas:
- Shut off gas to the appliance.
- Extinguish any open flame.
- If odor continues, leave the area immediately.
- After leaving the area, call your gas supplier or fire department.
Failure to follow these instructions could result in fire or explosion, which could cause property damage, personal injury, or death.
WARNING
For outdoor use only Installation and service must be performed by a qualified installer, service agency, or the gas supplier.
CARBON MONOXIDE HAZARD
- This appliance can produce carbon monoxide which has no odor.
- Using it in an enclosed space can kill you.
- Never use this appliance in an enclosed space such as a camper, tent, car or home.
WARNING: This product can expose you to Carbon monoxide, which is known to the Sate of California to cause birth defects or other reproductive harm. For more information go to www.P65Warnings.ca.gov .
IMPORTANT SAFETY INFORMATION
WARNING FIRE TABLE IS FOR OUTDOOR USE ONLY
IF YOU SMELL GAS
- Shut off gas supply to the fire table.
- Extinguish any open fame.
- Do not try lighting any appliance.
- Do not touch any electrical switch; do not use any phone in your building.
- Immediately call your gas supplier from a neighbor’s phone.
- Follow the gas supplier’s instructions.
- If you cannot reach your gas supplier, call the fire department.
Installation and repair should be done by a qualified service person. The appliance should be inspected before use and at least annually by a qualified service person. More frequent cleaning may be required as necessary. It is imperative that the control compartment, burners, and circulating air passageways of the appliance are kept clean.
- WARNING: Always shut off gas supply at the shut-off valve and disconnect the quick disconnect socket from the main gas supply when the fire table is not in using.
- WARNING: Installation and service must be performed by a qualified installer, service agency or gas supplier.
- WARNING: Failure to follow with the safety warnings and precautions in this manual may result in serious bodily injury or death, a fire or an explosion causing damage to property.
- IMPORTANT NOTICE: Read and understand all warnings and precautions prior to assembly and use your gas fire table. Improper installation, adjustment, alteration, service or maintenance can cause injury or property damage.
- NOTE: The use and installation of this product must conform to local codes, or in the absence of local codes with the National Fuel Gas Code, ANSI Z223.1 • NEPA 54; Natural Fuel Gas code ; Natural Gas and Propane Installation Code, CSA B149.1; or Propane Storage and Handling code B149.2; This appliance complies with ANSI Z21.97-2017• CSA2.41-2017 Outdoor Decorative Gas Appliances Standards.
- Minimum Clearance from Unit to Combustible Materials 72”(182.9cm) minus the height of appliance from the top; 48” (121.9cm) from all sides and back.
- Do not locate this fire table under any overhead enclosure.
- The minimum inlet Natural Gas supply pressure: 3.5” w.c. (0.87kPa).
The maximum inlet Natural Gas supply pressure: 10.5” w.c. (2.61kPa). - The manifold pressure of this appliance is 7” w.c. (1.74kPa).
- Always use this outdoor fire table on a hard, level non-combustible surface such a concrete, rock or stone. An asphalt or blacktop surface may not be acceptable for this purpose. Surfaces such as dirt and grass may prevent the unit from having proper ventilation.
- This gas fire table and its individual shut off valve must be disconnected from the gas supply piping system during any pressure testing of that system at test pressures in excess of 1/2 of psi (3.5 kPa).
- The appliance must be isolated from the gas supply piping system by closing its individual manual shut off valve during any pressure testing of the gas supply piping system at test pressures equal to or less than 1/2 psi (3.5 kPa).
- Keep these instructions for future reference. If you are assembling this unit for someone else, give this manual to him or her to read and keep for f utu re reference.
- This gas fire table must be used ONLY outdoors in a well-ventilated space and shall NOT be used inside a building, garage, or any other enclosed area.
- DO NOT use this outdoor gas fire table for indoor heating. TOXIC carbon monoxide fumes can accumulate and cause asphyxiation.
- NEVER LEAVE this gas fire table unattended when in using.
- Children and adults should be alerted to the hazards of high surface temperatures and should stay away to avoid burns or clothing ignition.
- Do not store or use gasoline or other flammable vapors and liquids within 25 feet (7.62m) of this or any other appliance.
- Do not store any combustible materials in the base enclosure.
- The use of alcohol, prescription or non-prescription drugs may impair an individual’s ability to properly assemble or safely operate this outdoor fire table.
- The instruction manual contains important information necessary for the proper assembly and the safe use of the appliance.
- Read and follow all warnings and instructions before assembling and using the appliance.
- Follow all warnings and instructions when using the appliance.
- If instructions or parts are missing, contact ELEMENTI for technical support.
- DO NOT use this outdoor gas fire table for indoor heating. Toxic carbon monoxide fumes can accumulate and cause asphyxiation.
- NEVER leave this gas fire pit unattended when in use.
- Children and adults should be alerted to the hazards of high surface temperatures and should stay away to avoid burns or clothing ignition.
- DO NOT store or use gasoline or other flammable vapors and liquids within 25 feet (7.62m) ofthis or any other appliance.
- DO NOT store any combustible materials in the baseenclosure.
- DO NOT use in an explosive atmosphere. Keep gas fire table area clear and free from combustible materials, gasoline and other flammable vapors and liquids.
- This outdoor fire table is NOT to be operated by children. Young children should be closely supervised when in the vicinity of this outdoor firetable.
- This outdoor fire table is not to be installed or used in or on recreation vehicles and/orboats.
- Always use in accordance with all applicable local, state and national codes. Contact your local fire department for details on outdoor burning.
- Use the same precautions you would with any open fire when using this outdoor firetable.
- DO NOT burn solid fuels such as: wood, charcoal briquettes, lump charcoal, manufactured logs, driftwood, trash, leaves, paper, cardboard, plywood, painted orstained or pressure treated wood in this outdoor fire table.
- DO NOT use this outdoor fire table until it is completely assembled and all parts aresecurely fastened and tightened.
- DO NOT use this outdoor fire table near automobiles, trucks, vans or recreationalvehicles.
- DO NOT use this outdoor fire table under any overhead structure or near anyunprotected combustible constructions. Avoid using near or under overhanging trees and shrubs.
- The use of alcohol, prescription or non-prescription drugs may impair an individual’s abilityto properly assemble or safely operate this outdoor firetable.
- DO NOT use this outdoor fire table if any part has been under water. Immediately call a qualified service technician to inspect the fire table and to replace any part or control system and any gas control which has been under water.
- DO NOT wear flammable or loose clothing when operating this outdoor fire table.
- DO NOT use in windy conditions.
- Keep all electrical cords away from a hot outdoor fire table.
- Certain areas of this outdoor fire table when in use will become too hot to touch. Do not touch hot surfaces until the unit has cooled unless you are wearing protective gear such as insulated pot holders or heat resistant gloves or mittens to avoid burns.
- DO NOT hang or place clothing or other flammable materials on or near the gas fire table.
- Any guard or other protective device removed for servicing the fire table must be replaced prior to operating the fire table.
- DO NOT attempt to move or store this outdoor fire table until all part s are cool.
- DO NOT lean over this outdoor fire table when lighting or when in use.
- Use only the natural gas hose and quick disconnect assembly provided. The replacement natural gas hose and quick disconnect assembly shall be that specified by the manufacturer.
- DO NOT attempt to disconnect natural gas hose or quick disconnect socket from the main gas supply or any gas fitting while the outdoor fire table is in use.
- Always shut off the gas s upply at the shut-off valve and disconnect the quick disconnect socket from the main gas supply when the fire table is not in use.
- DO NOT sit on the fire table when the unit is in operation.
- DO NOT throw anything onto the fire when the unit is in operation.
- Fire glass are very hot; please keep children and pets at a safe distance.
- It is essential to keep the outdoor fire table valve compartment, burners, and circulating air passages clean. Inspect outdoor fire table before each use.
- Prior to each fire table operation, check the hose for evidence of excessive abrasion or wear by looking through the visual check hole. If the hose is damaged,cracked or cut, it must be replaced before using the gas fire table. The hose assembly can only be replaced with a hose assembly specified by the manufacturer. Please contact ELEMENTI for technical support. Use only replacement parts from the manufacturer.
- Before each use, remove the fire glass. Examine the burner and its components. If dirty, clean with a soft brush and soapy water solution. Examine the area around the burner; any dirt or foreign material, such as spider webs or nests in this area should be removed. If it is evident that the burner is damaged, the fire table must not be used. The burner assembly cannot be replaced. Please contact ELEMENTI for technical support.
- Place the hose out of the pathways where people may trip over it. Do not place the hose in areas where it may be subjected to accidental damage.
WARNING
This outdoor fire table is for use with Natural Gas only. The conversion to or attempted use of Liquid Propane in this outdoor fire table is dangerous and could result in serious personal injury, or property damage.
ATTENTION: Any alteration of the outdoor fire table that is not specifically directed in the operations manual will void manufacturer warranty.
NATURAL GAS DANGERS AND WARNINGS
Natural gas is flammable and hazardous if handled improperly. Become aware of the characteristics before using any natural gas product.
Natural Gas Characteristics:
- Flammable, explosive under pressure, lighter than air and settles in pools in high areas.
- In its natural state, natural gas has no odor. For your safety,an odorant has been added.
- Contact with natural gas could burn the skin.
- Natural gas is extremely flammable and hazardous if handle dim properly.
- Chemicals known to the state of California to cause cancer, birth defects, or other reproductive harm are created by the combustion of natural gas.
- Your natural gas fire pit is designed to operate on natural gas only, at a pressure of seven inches’ water column (7″ W.C.) Check with your gas utility for local gas pressure, because in some areas natural gas pressure varies. Also, check with your gas company or with local building codes for instructions to install gas supply line, or call a licensed and qualified installer.
- It is recommended that an ON/OFF manual shut-off valve be installed at the gas supply source: Outdoors: After the gas line exits the outside wall and before quick-disconnect or before gas supply line enters the ground.
Indoors: In the branch gas line in an accessible location near the gas supply line. - Pipe sealing compound or pipe thread tape of the type resistant to the action of natural gas must be used on all male pipe threads. Apply compound or tape to at least the first three to four threads when making a connection.
- Never store or use gasoline or other volatile substance in the vicinity of this fire table.
Natural Gas Connection
Connect a manual shut-off valve to gas supply line. Apply sealing compound or pipe thread tape of the type resistant to the action of natural gas on all male pipe threads. Connect the end, with the quick release connector, or the natural gas hose to manual shut-off valve at the gas supply.
WARNING
During any high pressure testing of the gas supply piping system at test pressures in excess of ½ psi (3.5 kPa), the appliance and its individual shut-off valve must be disconnected from the gas supply piping system.
The outdoor fire table must be isolated from the gas supply piping system by closing the individual manual shut-off valve during any pressure testing of the gas supply piping system at least equal to or less than 1/2 psi (3.5 kPa).
WARNING
Burner valves are pre-tested at the factory to operate on natural gas. Do not attempt to convert or change.
PARTS LIST
WARNING
For technical support or replacement parts or missing parts please contact ELEMENTI for technical support.



ASSEMBLY INSTRUCTIONS
- Install the AAA battery as shown in the diagram below. Battery not included.

- Put on gloves and place fire glass by hand. DO NOT dump bag out in to the tray to avoid clogging the burner with dust. Position the fire glass to a level about 0.5” above the top of the burner. Make sure that you do not block the igniter box with fire glass to ensure proper ignition.

Adjustable feet has pre-installed on the bottom of fire pit already. Please adjust the hight of feet to make sure all fire pit was on level always, or increase the height of fire table as your preference. Please make sure the height was safty before you complete.
- Connecting your Fire Table to the Natural Gas Source
A professionally installed shut-off valve between the supply piping and the socket is recommended by the National Fuel Gas Code. Socket connection must be made outdoors.
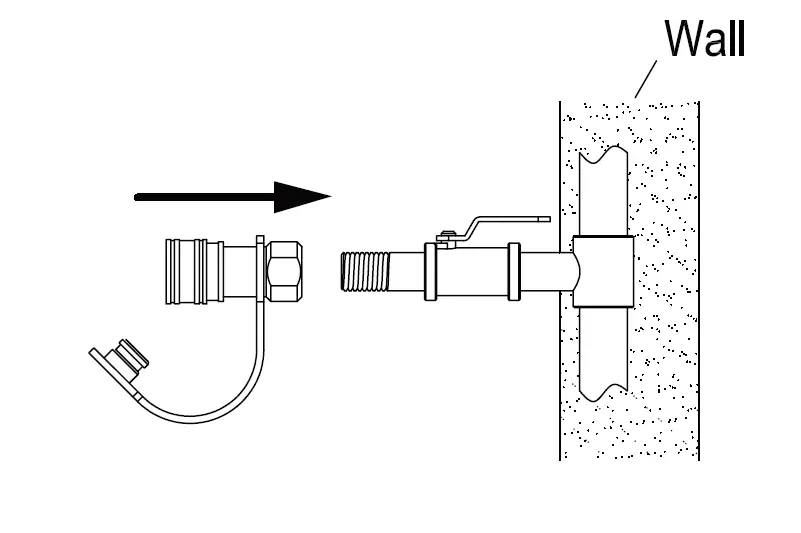
- Connecting the Socket
Coat the gas supply pipe nipple with gas resistant pipe compound or approved Teflon PTFE tape. Screw socket onto gas supply pipe (house gas source) as shown to the right, and wrench tighten. The quick disconnect socket should never be connected to the fire table. Direction of gas flow is indicated on the socket.
- Using the Quick Connect Socket
Pull back the sleeve on the quick disconnect socket and insert the unattached end of the gas hose into the socket. Release the sleeve and continue pushing the hose into the socket until the sleeve snaps into the locked position. After making all connections, perform a leak test as described on page 12 of this manual.
PRE-USE INSTRUCTIONS
WARNING Before using this outdoor fire table, make sure you have read, understand and are following all information provided in the Important Safety Information section of this manual. Failure to follow those instructions can cause death, serious injury or property damage.
Prior to each gas fireplace operation, check the hose and valve for evidence of excessive abrasion or wear though the visual check hole on the side of the base. Replace visual check cap prior to operating fireplace.
BURNER CONNECTIONS
Make sure the Natural Gas hose and quick disconnect socket connections are securely fastened to the burner and the gas supply. If your unit was assembled for you, visually check the connection between the burner pipe and orifice. Make sure the burner pipe fits over the orifice.
WARNING
- Failure to inspect this connection or follow these instructions could cause a fire or an explosion.
- Failure to position the parts in accordance with these diagrams or failure to use only parts specifically approved with this appliance may result in property damage or personal injury.
Please refer to diagram for proper installation.
If the burner pipe does not rest flush to the orifice please contact ELEMENTI for assistance.
Checking for Leaks
- Make a leak check solution by mixing 1-part dishwashing soap with 3 parts water in a spray bottle.
- Make sure control knob is “OFF.” Then, turn natural gas on at its source.
- Spray leak solution on valve connections paying particular attention to the areas indicated by arrows.
- If any bubbles appear turn natural gas off, reconnect and re-test. If you continue to see bubbles after several attempts, disconnect natural gas source and contact ELEMENTI for assistance.
- If no bubbles appear after one-minute turn source OFF, wipe away solution and proceed.
LIGHTING INSTRUCTIONS
Using the Ignitor
- Read instructions before lighting.
- Burner control knob must be in the “OFF” position.
- Connect natural gas source (see above pages).
- Open the natural gas supply to the unit.
- Push and hold igniter but t urn to create sparks.
- While holding the igniter button with one hand, use your other hand to push and turn the control knob to the “LOW” position to light the burner.
- If ignition does not occur in 5 seconds, push and turn the Control Knob to “OFF”, wait 5 mimutes and allow gas to dissipate.
- Once the burner is lit, continue to hold the knob in for another 20 seconds and release.
- Observe flame, make sure all burner ports are lit. Flame height should be no higher than 22 inches tall.
- Adjust flame to desired flame with the control knob.
If the lighting procedure in these instructions is not followed exactly, a fire or explosion may result causing property damage, personal injury or loss of life.
Keep the fire glass covered and make sure it is dry before igniting.
Using a Long Match or Lighter
- Prior to lighting, use a shovel to move fire glass for access to the burner.
- Wearing heat resistant gloves, position the burning long match or burning butane lighter near the side of the burner. DO NOT lean over the fire table while lighting!
- Turn control knob counterclockwise to “LOW”.
- Remove long match/long butane lighter.
- After lighting, use a shovel and heat resistant gloves to carefully move the fire glass back into their proper position.
- Observe flame, make sure all burner ports are lit. Flame height should be no higher than 22 inches tall.
- Adjust the flame to the desired height with the control knob.
WARNING
If burner fame goes out during operation, immediately urn the control knob “OFF” and let the gas clear a minimum of 5 minutes before attempting to re-light the fire table.
WARNING
When using this method to light your fire table use heat resistant gloves and follow the step by step instructions. Failure to do so could result in severe injury.
Please refer to the trouble shooting pages for additional support, beginning on page 17.
TURNING OFF
- Push and turn the control knob clockwise to the “OFF”position.
- Shut off gas supply at the shut-off valve and disconnect the quick disconnect socket from the main gas supply.
CARE AND CLEANING
Inspecting
This outdoor fire table must be inspected regularly to insure that the product is safe to use and to extend product life.
DO NOT inspect this outdoor fireplace until the fire is COMPLETELY out.
- Check the burner to make sure it is securely in place.
- Check all gas connections for leaks.
- Check ignition system to insure proper sparking.
- Check components for any signs of damage, rust or excessive wear.
- If damage to any component is detected, DO NOT operate until the proper repairs have been made.
WARNING
DO NOT tamper with this appliance. This is DANGEROUS and will void the warranty. Any part found to be faulty must be replaced with an approved part, confirmed by manufacturer. Contact ELEMENTI for technical support.
General Care and Cleaning
This outdoor fireplace should be cleaned regularly to ensure safe use and extend product life. Note: After repeated use, a slight discoloration of the finishes may occur.
Table
Wipe exterior surfaces with a mild dish washing soap or baking soda, then rinse clean with water.
Stainless Steel
- For general cleaning use warm water, soap, ammonia, or detergent apply with a soft cloth or Sponge
- For finger prints or smears use 3M Stainless Steel Cleaner and Polish, Arcal 20, Lac-O-Nu, LuminWash, O’Cedar Cream Polish, or Stainless Shine, this will provide a barrier file to minimize fingerprints.
- For stubborn stains and discoloration use 3M Stainless Steel Cleaner and Polish, Allchem Concentrated Cleaner, Samae, Twinkle, Cameo Copper Cleaner, Liquid Nu Steel, Copper’s or Revere Stainless Steel Cleaner, apply using a soft cloth in the same direction of the polish lines.
- While using in salt air environments we recommend cleaning all stainless steel surfaces at least every two weeks to keep the item in prime condition. Stainless steel is corrosion-resistant but it is not impervious to rust. Exposure to salt air and sea spray will cause surface rust if you do not care for your products properly.
The best thing you can do to protect the stainless steel is to clean it frequently.
Use of proprietary names is intended only to indicate a type of cleaner and does not constitute endorsement. Omission of any proprietary cleanser does not imply its inadequacy. All products should be used in strict accordance with instructions on package.
Storage
DO NOT move or store this fire table unless the fire is COMPLETELY out and cool to the touch.
- Turn off the gas supply and disconnect the quick connect valve.
- Carefully remove rock filler and store components flat to protect them from breakage.
- ALWAYS cover your outdoor fire table when not in use.
- Store in a cool, dry location away from children and pets.
Please see below for recommendations on maintaining your fireplace surface for years of extended use:
- Clean any spills immediately to prevent permanent surface(s) staining or damage to your fireplace.
- Blot any liquid spills with a clean, dry cloth to avoid spreading of the spill to the rest of the fireplace.
- Immediate cleaning of stains I blotting of spills also prevents absorption of such stains / spills into the surfaces, compared to if such stains / spills are left for exended periods on these surfaces.
How to apply a water based sealer:
- This outdoor fireplace should be maintained regularly(normally 6 months) to ensure safe use and extend product life.
- Please ensure all treatment with dust-free. Wipe the sealers on the concrete surface slight with a soft rags, then wipe off the residual after concrete surface dry completely
How to Clean your Fire table / Fire bowl surface(s):
- Mix a mild dish soap into warm clean water, use a soft, clean cloth or sponge..
- Then proceed to remove surface dirt, stains or mild spills.
- Rinse all soap solution off from the surfaces with a damp cloth.
- Dry off completely with a dry cloth to avoid water spots / watermarks.
- Regularly cleaning the fireplace surface will aid in a longer-lasting product.
- DO NOT use petroleum-based or abrasive cleaning products.
- DO NOT use any harsh brushes / rough sponges when cleaning the fireplace surface(s).
- DO NOT slide products across the fireplace surface(s) to avoid permanent scratching and or damage(s).
- DO NOT place any food on the surface(s) of the fireplace.
- DO NOT eat from the surface(s) of the fireplace surface.
- Fireplace surface must be covered at all times when not in use.
- Cover your product when not in use to protect it from the elements.
- Store your product indoors during winter months.
- Avoiding extreme cold temperatures, as extreme cold temperatures may cause cracking of the tabletop.
GAS COMPONENT CONNECTION CHECKS
If the burner will not light or stay lit, please perform the following checks.
- Make sure the electrode wire is correctly connected. Both electrode wires must be fully inserted into the igniter box.

- Make sure that the pilot housing is unobstructed.
Clear any debris on top of the pilot housing and make sure there is no debris between the igniter pin, thermocouple and the burner tube.
- Make sure that the igniter pin and thermocouple are correctly positioned.
- The igniter pin should be pointed straight to the thermocouple.
- The thermocouple should be positioned 5mm / 0.196” away from the burner tube.

- Make sure that the thermocouple wire is correctly positioned. The thermocouple wire should be in line with the valve.
TROUBLESHOOTING
Problem: Burner will not light using igniter
- Possible Cause 1: Electrode and burners are wet.
- Wipe dry with cloth.
- Possible Cause 2: Igniter battery is dead or backwards.
- Check that the AAA battery is inserted correctly in the igniter (see page 8) or replace the battery. Possible Cause 3: Igniter Pin cracked or broken – sparks at crack.
- Call ELEMENTI for technical support.
- Possible Cause 4: Wire loose or disconnected.
- Reference page 15, step 1, reconnect wire. Call ELEMENTI for technical support.
- Possible Cause 5: Wire is shorting (sparking) between igniter and electrode.
- Call ELEMENTI for technical support. Possible Cause 6: Bad Igniter.
- Call ELEMENTI for technical support.

Problem: Burner will not light with match
- Possible Cause 1: No Gas Flow.
- Check if Natural Gas supply is stopped. If it is not stopped, refer to “Problem: Sudden drop in gas flow” on the following page.
- Possible Cause 2: Quick Connect not fully engaged.
- Disconnect the quick connect at the gas supply and reconnect to ensure a proper connection is made. Possible Cause 3: Obstruction of gas flow.
- Check for bent or kinked hose.
- Possible Cause 4: Burner ports clogged or blocked.
- Reference “Problem: Irregular flame pattern” on the following page.
- Clean the burner ports as described there.
Problem: The Fire Table emits a lot of black smoke when in use
- Possible Cause 1: Hose from gas fireplace is pinched.
- Make sure the hose is not pinched between the fire table and the source of the gas.
- Possible Cause 2: Flame is being obstructed at burner ports.
- Make sure that the gas ports on the burner are free of any fire glass so that the flame can flow naturally.
Problem: Sudden drop in gas flow, or a reduced flame height
- Possible Cause 1: Out of gas.
- Call your local gas company.
- Possible Cause 2: Excess flow safety device may have been activated.
- Turn control knob to “OFF”, wait 30 seconds and light outdoor fire table. If flames are still too low reset the excessive flow safety device by turning off the control knob and the gas supply.
- Disconnect the quick disconnect socket.
- Turn Burner Control Knob to “HIGH”. Wait 1 minute.
- Turn Burner Control Knob off.
- Reconnect the quick disconnect, turn on the main gas supply and perform a leak check at the Natural Gas connection.
Problem: Irregular flame pattern,flame does not run the full length of the burner
- Possible Cause: Burner ports are clogged or blocked.
- Clean burner ports. Do this by inserting a paperclip into each of the burner ports to ensure they are not clogged.
WARNING: Make sure burner is not on and the gas supply has been properly disconnected. Allow 15 minutes for unit to cool before touching it. Burner Pots
Problem: Flame blow out
- Possible Cause 1: High or gusting winds.
- Increase flame to “HIGH” setting.
- Possible Cause 2: Low on Natural gas.
- Call your local gas company.
- Possible Cause 3: Excess fl ow valve tripped.
- Refer to “Problem: Sudden drop in gas flow”.
Warranty
Ocean Rock USA INC. doing business as Elementi, warrants Elementi fire features and accessories to be free from defects in parts and workmanship under normal use and service for 1 year from the date of purchase. In the event of such defects, Elementi will, at its option, repair or replace the defective product. The foregoing is at the discretion of Elementi. There will be no charge for the replacement parts or product, however, it will be the consumer’s responsibility to return the product to the original place of purchase.
Elementi will not be responsible for consequential damages over the purchase price of the product on which such liability is based and the warranty does not cover costs including freight, removal and reinstallation.
This warranty is non-transferable and applies only for units that are for non-commercial personal use only.
Under this warranty agreement, all gas lines must be installed by a licensed gas fitter. Damage caused by shipping, staining and abuse are not covered under this warranty. Dings, dents and scratches, fading and natural weathering are not covered under this warranty. Decorative rock is not covered under this warranty. Improper installations, repair or modifications made by anyone other than Elementi will void this warranty and any damage caused by such is also not covered under this warranty.
Minor chipping, weather fading, water staining and non-structural hairline cracks are typical of the material of this product and are not covered under this warranty. Some color and texture variation is typical of the material and finish for this product and is not covered under this warranty.
Cast concrete is a hand-finished process. As such, this product’s finish will vary by unit. There will be a color variance of up to 15% in each unit. There may also be uneven texture or pattern as well as small holes in the surface caused by air or water trapped on the surface during casting. This is a normal trait of cast concrete and is not covered under warranty.
ELEMENTI U.S.
Ocean Rock USA INC. 692 Parkridge Ave. Norco, CA 92860 USA
www.elementifire.com [email protected]
Tel.: 800-678-7294
ELEMENTI Canada Backyard Lifestyles Ltd. 570 Applewood Cres, Unit 2 Concord, ON L4K 4B4, Canada
[email protected]
www.backyardlifestyles.ca
Tel.: 905-761-8930






























