OWNER’s INSTRUCTIONS MANUAL
Gas Fire Table
User’s Guide and Instruction Manual
ITEM#:74470.00BLK-50K

Installation and service must be performed by a qualified installer, service agency, or the gas supplier. | |
FIRE OR EXPLOSION HAZARDIf you smell gas:
Failure to follow these instructions could result in fire or explosion, which could cause property damage, personal injury, or death. | |
| INSTALLER: Leave this manual with the appliance. CONSUMER: Retain this manual for future reference. | |
Do not store or use gasoline, or other flammable vapors and liquids, in the vicinity of this or any other appliance. An LP-cylinder not connected for use shall not be stored in the vicinity of this or any other appliance. | |
CARBON MONOXIDE HAZARD This appliance can produce carbon monoxide which has no odor. Using it in an enclosed space can kill you. Never use this appliance in an enclosed space such as a camper, tent, car or home. | |
![]() | |
If you are assembling this unit for someone else. give this Owners Manual to them to read.

LIMITATION OF WARRANTY AND LIABILITY
NOTICE: Read this Limitation of Warranty and Liability Before Using This Product. If the Terms Are Not Acceptable, Return the Product at Once, Unopened, and the Purchase Price Will Be Refunded.
It is impossible to eliminate all risks associated with the use of this product. Such risks arise from weather conditions, the manner of use or application, or other unknown factors, all of which are beyond the control of the Seller and Manufacturer. These risks can cause bodily injury or death, ineffectiveness of the product, and damage to other property. Seller and Manufacturer do not agree to be an insurer of these risks you agree to accept these risks.
Seller and Manufacturer warrant that this product is reasonably fit for the purpose stated in the Owner’s Instructions Manual, subject to the inherent risks described above, when used in accordance with the Owner’s Instructions Manual under normal conditions. Seller and Manufacturer provide no other express or implied warranty of fitness or of merchantability or any other express or implied warranty
In no event shall Seller or Manufacturer be liable for any incidental, consequential, or special damages resulting from the use or handling of this product. Buyer’s or user’s bargained-for expectation is for home use of the product in accordance with the Owner’s Instructions Manual and under normal conditions and that is the exclusive remedy of the user or buyer and the exclusive liability of Manufacturer or Seller, for any and all claims, losses, injuries or damages (including claims based on breach of warranty or contract, negligence, tort or strict liability) resulting from the use or handling of this product, shall be the return of the purchase price of the product or, at the election of Manufacturer or Seller, the replacement of the product
Any claim by buyer or user of this product shall be filed within one (1) year of the date of injury or damage or the claim will be barred. Buyer and user waive any right to file any class action claim for product defect, design defect, or failure to adequately warn of product hazards or safe installation.
This Limitation of Warranty and Liability may not be amended by any oral or written agreement.
Part A. SAFETY INFORMATION
Before you assemble or operate this unit, please read carefully this entire Owner’s Manual.
Failure to do so may result in a fire, explosion, injury or death.
![]() | The installation of this unit must adhere to local codes or either the National Fuel Gas Code, ANSI Z223. 1/NFPA54, OR CAN/CGA-B149.1, National Gas and Propane Installation Code. |
- THIS UNIT IS INTENDED FOR OUTDOOR USE ONLY!
This product shall be used outdoors, in a ventilated space and shall not be used in any enclosed area. - This unit is to be used with LP Gas / Propane Gas only!
(Propane Gas tank is not attached and not delivered with this unit.
Propane and Gas Tank is sold separately). - Do not attach a remote gas supply to this unit.
- This unit is NOT intended for Natural Gas.
- Converting this unit to Natural Gas is dangerous and not recommended.
The conversion of this unit shall void the manufacturer warranty. - Do not use any solid fuel or charcoal for this unit.
- When igniting this unit, exercise caution as some gas pooling from the Burner may cause the flame to flare that could cause injury.
- LP GAS WARNING : Do not use more than 1/4 inch depth of lava rocks / pumice stones above the burner holes.
Excessive use of lava rocks / pumice stones, will suffocate the flame. - If the Propane Gas Tank is leaking gas, you can smell, hear a hiss, or sense a leak at the source.
Do the following:
1. Disconnect the Propane Gas tank.
2. DO NOT attempt to fix the problem yourself.
3. Move yourself and all persons away from the immediate area.
4. Only when everyone is at a safe distance away from the Fire Table / Column, contact your Gas Supplier or Fire Department for help. - Applying too much Propane Gas may result in gas pooling and will NOT burn.
Allow fresh air into the unit so that the remaining gas may escape. - DO NOT use a flame to check for gas leaks.
- The maximum inlet supply pressure: maximum Gas supply 11 inch w.c. (2.74kPa)
- Use LP propane tanks with the following dimensions: diameter 12 in, height 18 in – capacity 20lbs.
- You must use a Propane Gas Tank that has a collar to protect the Gas Valve.
- DO NOT fill tank over 80% full.
- The tank system must be set up for vapor withdrawal.
- STOP using if any part of the Propane Gas Tank is damaged.
Rust and dents in tank may be hazardous and should be inspected by a Gas Supplier. - DO NOT burn anything other than the provided materials for this Fire Table.
- Keep away from the unit for the first 20 minutes after igniting your unit for the first time, as lava rocks / pumice stones could pop out and cause injury.
Should any rocks pop out, discard them. - Always ensure that lava rocks / pumice stones are completely dry before use.
Failure to do so will cause them to crack or pop. - DO NOT operate unit until all parts are fully assembled.
- DO NOT paint or color any part of this Fire Table / Column.
- Unit may be hot while in use, DO NOT attempt to move it while in use.
- Never leave this Fire Table / Column unattended while in use.
- This unit is NOT intended for cooking.
- Keep all flammable items away and DO NOT use any other fireplace cover for this unit.
- Keep a safe distance to avoid burning skin or clothing.
- DO NOT sit or rest hands or feet on this Fire Table / Column.
- Never place hands or fingers onto upper portion of this unit while in use.
- Keep all electrical cords and fuel supply hose away from heated surfaces.
- Combustible material should NOT be within 72 inches of the top of the unit, and within 48 inches around the entire unit.

- Min. Clearance
48 in (121.9 cm)
- Keep the appliance area clear and free from combustible material, gasoline and other flammable vapors and liquids.
- If the flame goes out while burning, turn the gas valve off.
Wait 5 minutes before repeating the initial lighting procedure.
Once you have a flame started, hold down the control knob for 1 minute. - DO NOT add water into the unit.
- DO NOT operate unit if any part has been under water.
Immediately call for a Qualified Service Technician to inspect the appliance.
Where necessary, secure Qualified Service Technician to replace part(s) of the Control System and any gas control parts that has been under water. - DO NOT disconnect any part while the unit is in use.
- DO NOT store a spare Propane Gas Tank on or near this unit.
- If the Fire Table / Column is placed indoors for storage, detach the Propane GasTank and leave the tank outdoors.
This unit is for outdoors use ONLY. - DO NOT operate on a boat or vehicle.
This unit can only be used on any stationary outdoor flat surface ONLY - Always remove protective cover before operating (where applicable) and / or use of your Fire Table / Column.
- DO NOT set the Protective COVER(C) over the unit until the Fire Table / Column is turned off and completely cooled down (where applicable).
- Check for leaks after not using the unit for long periods of time.
- Children must never operate this Fire Table / Column.
Children must be supervised AT ALL TIMES while near this Fire Table / Column. - The maximum gas supply pressure is 250psi.
- All installation and repair should be done by a Qualified Service Technician.
This unit should be inspected annually and cleaned regularly. - Inspect all elements of this Fire Table / Column before each use.
If there is damage, the Burner must be replaced. - Be aware of the hazards of high temperatures and stay away from the unit to avoid any burns or injury.
- The gas supply tank should be constructed and marked with the specifications for the LP Gas tanks of the U.S. Department of Transportation or the National Standard of Canada CAN/CSA-B339, LP Gas tanks, spheres and tubes for Transportation of Dangerous Goods and Commission.
- The LP Gas tank must have a listed overfilling prevention device and a QCCI or Type I, LP Gas tank connection.
- This heating appliance should NOT be used on plastic, artificial wood desks or any desk.
- Children and adults should be alerted to the hazards of high surface temperatures and should stay away to avoid burns or clothing ignition.
- Young children MUST BE carefully supervised at all times when they are in the area of this appliance.
- Clothing or other flammable materials shall NOT be hung from the appliance or placed on or near the appliance.
- Any guard or other protective device removed for servicing the appliance shall be replaced prior to Operating and use of this appliance.
- Installation and repair(s) should be done by a Qualified Service Technician.
The appliance should be inspected before use. If you suspect there are issues, contact a Qualified Service person.
More frequent cleaning ma be required as necessary.
It is imperative that the control compartment, burners and circulating airways of the appliance are kept clean.
When APPLICABLE:
- Keep gas tank at least 5 feet away from unit when lit (if external tank).
- Allow Fire Burner / Column to cool down completely before placing on lid.
- Keep the hose away from any pathways to eliminate any accidental damage (if external tank).
- DO NOT use Fire Table / Column while lid is installed.
Always remove the lid while Fire Table / Column is in use.
Use only the Regulator (12/19) and Hose( 12) assembly provided with this unit.
Replacement pas must be supplied directly by manufacturer.
Inspect the Burner (08 ) before use of this unit.
If the Burner (08) shows any kind of damage, DO NOT operate the appliance.
For assistance with repair or replacement of the Burner (08) or any other parts, call : (818) 918-3129
NOTE: You must follow all steps to properly assemble this Fire Table / Column.
Make sure the Gas Valve is turned “OFF” before assembling.
DO NOT attempt to assemble without proper tools.
Part B IGNITOR CONTROL BOARD
Herebelow is an exact visual display of the Operation Tablet as found on your Fire Table / Fire Column.
Read carefully before using.
LIGHTING INSTRUCTIONS
1) Read operating instructions before lighting.
2) Burner Control Knob must be in”OFF” Position.
3) Make sure that the fuel supply is property connected and open at the tank (See owner’s manual).
4)Push and hold igniter Button to create sparks.
5) While holding the igniter Button, push and turn the Control Knob to the “LOW” position to light the burner.
6) If ignition does not occur in 5 seconds, push and turn the Control Knob to “OFF” wait 5 minutes and allow gas to dissipate.
7) Once the burner is lit, continue to hold the knob in for another 20 seconds and release.
8) If ignitor will not light burner, instead please use a long match or extended butane lighter.
TURNING OFF
1) Push and turn the Control Knob clockwise to the “OFF” position.
2)Turn the gas off at its source (cylinder or quick connect).
CAUTION
Gas supply must be turned off at the gas source when this appliance is not in use.

- AAA
- IGNITER PUSH
- LOW
- OFF
- HIGH
For Technical Support, please call:
(818) 918-3129 Monday-Friday 8 a.m. to 5 p.m. PST.
Part C User’s Guide to Parts and Accessories of The Regulator, Charge Valve of the Cylinder and Stelps to Connecting the Gas Tank to the Fire Table /Column.
This Safety Information passage holds information that:
1) shows you the Regulator ( pre-connected to the Fire Table / Column )
2) the Charge Valve of the Gas Tank and its relevant Valves.
There are Fire Table / Column that holds the Gas Tank INTERNALLY and EXTERNALLY.
The Owner / User must know all the different parts : Charge Valves and Regulator.
This picture shows different parts of the Charge Valve of the Gas Tank and the Regulator (12/19) is pre-connected to the Fire Table / Column. the different components and parts of the Gas Tank and the Fire Table / Column Regulator, as show on the picture to the left here.
| Pic.A: Charge valve of the Gas Tank with relevant parts
Pic B: Hose From Fire Table/ Column
| Pic. A : Shows the Charge Valve of the Cylinder with the different Valves and Coupling Nut, these forms the top of the Gas Cylinder. Pic. B : Shows the Regular pre-connected to a hose. This Regulator is pre-connected to the Fire Table /Column. |
There are 2 kinds of Fire Table / Column.
Type 1 : Fire Table / Column that has an internal housing for Gas Tank Cylinders, where the Gas Tank is held inside the Table / Column. The Gas Tank is held and bound in place inside the Fire Table / Column with the Metal Ring and locked down with a Wing Screw / Nut.
Type 2 : Fire Table / Column that has the Gas Tank externally visible, whereby the hose shall be NO SHORTER than 5 feet.
In some cases, some Customers purchases separate Gas Tank Holder to hold the Gas Tank. In this case, the 5 feet distance between the Fire Table / Column to the Gas Tank applies too.
Part D User’s Guide : Loading of Gas Tank into the Fire Table / Column.
![]() | The Fire Table / Column has a Door. Open the Door. Inside, you will see a Metal Stand with pre-attached Wing Screw / Nut. Proceed to Unscrew the Wing Screw / Nut |
![]() | Load the Gas Tank / Gas Cylinder as indicated by the bold black arrow. Place the Tank / Cylinder gently and snugly into the Metal Stand. Position the Wing Screw / Nut in place. The Gas Tank / Gas Cylinder is now secured in place. |
Part E. User’s Guide : Connecting the Fire Table / Column to the Gas Cylinder.
This next step guides you to connect the Fire Table / Column Regulator to the Gas Cylinder.
Pic.A: Charge valve of the Gas Tank with relevant parts
Pic B: Hose From Fire Table/ Column
| Step 1 : Plug the Black Coupling Nut on the Regulator to the Cylinder Valve. Step 2 : Turn the Black Coupling Nut, fully CLOCKWISE until fully locked into the position. Step 3 : Check for Leaks by : Brush some soap and water mixture on all connections. Turn the gas supply on;if extra large bubbles form on any connection there may be a leak. If you smell gas or a leak is discovered, IMMEDIATELY turn the gas valve off, disconnect Propane Gas tank. Do not use the appliance until the leak is repaired |
Part F. FIRE TABLE / COLUMN PARTS INTRODUCTION
Your Fire Table / Column is delivered pre-assembled whereby there is no assembly actions needed.
Herebelow is an introduction to all the parts that forms your Fire Table / column.
Each part is different and holds its own function.
DO NOT attempt to change and or remove any part(s) thereof.
In the event of servicing and or operational issues, contact Qualified Services Technical Support and or seek Qualified Service Technician.
This line art below demonstrates the internal components of the Burner.

For your convenience all of the above components are individually described herebelow.
Tabulated here below are the description to all parts as shown in above Picture.
Item | Picture | Description | Qty |
| 01 | ![]() | Guard | 1 |
02 | ![]() | Thermocouple | 1 |
| 03 | ![]() | Ground Wire | 1 |
04 | Ignition Pin | 1 | |
| 05 | ![]() | Burner Plate | 1 |
06 | ![]() | Main Frame of Fire Table | 1 |
| 07 | Door | 1 | |
08 | ![]() | Burner Ring | 1 |
| 09 | ![]() | Nozzle | 1 |
10 | ![]() | Corrugated Pipe | 1 |
| 11 | Switching Valve | 1 | |
12 | ![]() | Regulator Valve with Gas Hose | 1 |
| 13 | Control Knob | 1 | |
14 | ![]() | Ignitor | 1 |
| 15 | ![]() | Leveller | 4 |
16 | CSA Warning Label | 1 | |
| 17 | Wing Screw with Nut | 1 | |
18 | ![]() | Metal Stand | 1 |
Part G. User’s Guide Parts and Accessories of Fire Table / Column.
Tabulated herebelow is the User’s Guide to various Parts and Accessories to form your complete Fire Table / Column.
Before you start to assemble this product, make sure all parts are present.
Compare parts with package contents list.
If any parts are missing or damaged, DO NOT attempt to assemble the product.
“WARNING:Failure to position the parts in accordance with these diagrams or failure to use only parts specifically approved with this appliance may result in property damage or personal injury.”
Part H. Assembly Instruction

Item | Picture | Description | Qty |
| A | ![]() | Lava Rocks | 1 Box |
B | AAA Battery | 1 | |
| C | ![]() | Protective Cover | 1 |
D | ![]() | Table Top | 1 |
| E | ![]() | Panel E | 1 |
F | ![]() | Panel F | 1 |
| G | ![]() | Panel G with Window | 1 |
H | Door Post Left | 1 | |
| I | Door Post Right | 1 | |
J | Left Back Leg | 1 | |
| K | Right Back Leg | 1 | |
L | ![]() | Door | 1 |
| M | ![]() | Middle Rail | 1 |
N | ![]() | Metal Stand | 1 |
| O | ![]() | Lid | 1 |
Hardware
Item | Picture | Description | Qty |
| (1) | Bolt(M6*10mm) | 27 | |
(2) | Flat Washer(M6*12mm) | 27 | |
| (3) | Allen Wrench(M4mm) | 1 | |
(4) | Bolt(M4*8mm) | 1 | |
| (5) | Flat Washer(M4*8mm) | 1 | |
(6) | ![]() | Door Knob(Ø25*22mmH) | 1 |
| (7) | Screwdriver(Not Provided) | 1 |
ASSEMBLY STEPS
Step 1

1.1 Check that the Control Knob (13) for the gas supply system is turned to the “OFF” position before starting any assembly.
1.2 Please take out the Lid(O) and put it in a clean padded place
Step 2

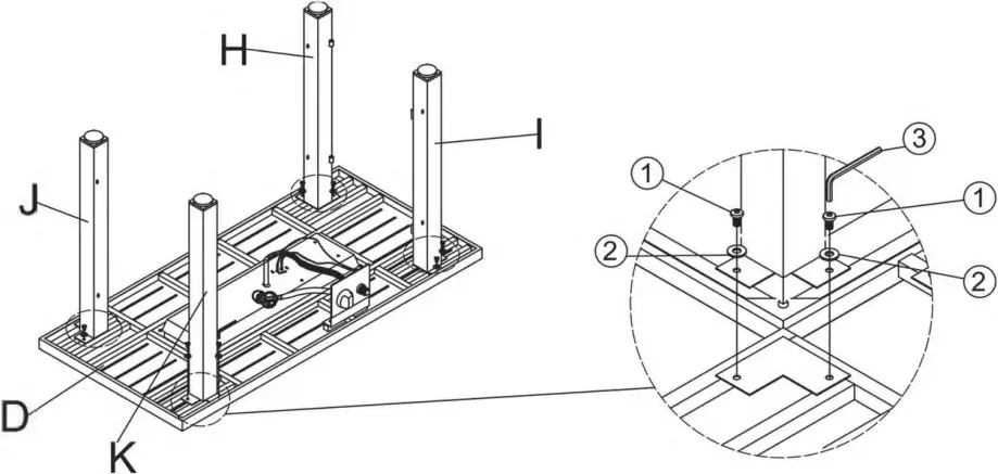
2. Attach Door Post Left(H), Door Post Right(I), Left Back Leg(J) and Right Back Leg(K) to Table Top(D) using Bolt(1), Flat Washer(2) with Allen Wrench(3) as shown in picture above.
Do not fully tighten the Bolts.
Step 3

3. With assistance from your adult Partners,attach Panel(E), Panel(F) and Panel with window(G) to Door Post Left(H), Door Post Right(I), Left Back Leg(J) and Right Back Leg(K) using Bolt(1), Flat Washer(2) with Allen Wrench(3).
Do not fully tighten the Bolts.
Step 4

4. Attach Middle Rail(M) to Panel(E) and Panel with window(G) using Bolt(1), Flat Washer(2)with Allen Wrench(3).
Do not fully tighten the Bolts.
Step 5

5. Attach Metal Stand(N) to Panel(E) and Panel with window(G) using Bolt(1), Flat Washer(2) with Allen Wrench(3).
Fasten all bolts.
Step 6

6.1 With assistance from your adult Partners,turn over the Gas Fire base.
6.2 Attach Door Knob(6) to Door(L) using Bolt(4), Flat Washer(5) with screwdriver(7).
6.3 Insert Door(L) to the door pivot.
6.4 Place the lid(O) on the Table Top(D)
Part I. USER’S INSTRUCTIONS
Tabulated herebelow are the basic steps to help you light and use your Fire Table / Column.
STEP 1

1. Check that the Control Knob (13) for the gas supply system is turned to the “OFF” position before starting any assembly.
STEP 2

2. Open the Door (L) from the Fire Table.
STEP 3

3. Place 20 lb. Propane Gas Tank (not included) into the Metal Stand (18).
Make sure the Propane Gas Tank is placed completely into the Metal Stand (18).
Turn the preassembled Wing Screw (17) in a clockwise direction in to the Nut (17) to secure the Propane Gas Tank tightly.
STEP 4
Pic.A: Charge valve of the Gas Tank. with relevant parts

Pic B: Hose From Fire Table/ Column
- Cylinder valve(21)
- Gas valve (22)
- Pressure relief valve(23)
- Turn clockwise to reseal
- Black coupling nut(20) turn clockwise to connect
- Regulator(19)
4. Turn the Gas valve (22) on the tank in a clockwise direction to TURN OFF SUPPLY of the LP Gas supply.
Attach the preassembled Regulator (12/19) from the Fire Table / Column to the Cylinder Valve (21) by turning the Black Regulator Coupling Nut (20) clockwise.
Make sure it is fastened securely and tighten connections – by HAND only.
STEP 5

5. Close the Door (L) back to the Mainframe of the Fire Table.
STEP 6

6. Remove the Electronic Ignitor Cap (14) on the electronic Ignitor (14) by unscrewing and slide the Battery (B) into the battery slot (14).
Make sure the positive side of the Battery( B ) faces outwards.
Screw the Electronic Ignitor Cap (14) over the battery, tightly.
STEP 7

Subject to your preference, you may pour Lava Rocks / Pumice stones over the Burer Ring. The Guard MUST NOT BE BLOCKED. Refer to guidance below :
Note : Do not place more than 1/4 inch depth of lava rocks above the burner holes. Doing so will suffocate the flame.
Note : Do not place more than 4.6KG of lava rocks above the burner holes. Doing so will suffocate the flame.
![]() | ![]()
CORRECT INCORRECT |
To ensure proper function, the Guard (01) on the Burner (08) should never have lava rocks (A) covered over it.
Part J. SAFETY INFORMATION – OPERATIONS
Before perming a leak test, be sure:
1.) DO NOT press the Ignitor.
2.) You are in a spacious outdoor area.
Connect the Propane Gas tank to the Regulator (12 /19) and turn the Gas Valve (22) on the unit to the “OFF” position.
Brush soap and water mixture onto all connections.
Turn the gas supply on;if extra large bubbles form on any connection there may be a leak. If you smell gas or a leak is discovered, IMMEDIATELY turn the gas valve off, disconnect Propane Gas tank.
Do not use the appliance until the leak is repaired
The Fire Table / Column has a Door. Open the door. Inspect the Gas Hose (12) before use the Fire Table / Column.
If there are signs of wear or abrasion on the hose, you must replace the Gas Hose (12). And the Gas Hose must be supplied directly by manufacturer.
Lava rocks / pumice stones could pop up and strike somebody’s face during the process of lighting this unit.
Stand away from the Fire Table / Column for the initial 20 minutes after igniting.
![]()
| Observe flame colour and flame height when the Fire Table/Column after being lit : 1.) Flame color should be yellow / blue. 2.) Flame height burns at 2 – 10 inches high. |
Wait 10 minutes after extinguishing flame prior to replacing a lid (if applicable) or protective cover onto the Fire Table / Column.
Part K. SAFETY INFORMATION USING YOUR FIRE TABLE / COLUMN
Before each use, inspect the Gas Hose (12). Replace Gas Hose(12) if there are any signs of cutting, wear or abrasion.
Before you light your Fire Table / Column, please proceed / adopt the following steps :
1. Make sure the Control Knob (13) is in the “OFF” position.
2. Open the Door (07) and slowly open the Gas Valve ( 22) on the Propane Gas Tank by turning the Contol Knob (13) counterclockwise.
3. Close the Door (07) on the Main Frame (06) of the Fire Table / Column.
4. Push and hold in the Electronic Ignitor (14 ) to create sparks within the electrode continue to hold.
5. Push in the Control Knob (13) and turn to the “LOW” position.
Keep holding down the Control Knob (13) to allow gas to flow for 15 seconds.
6. If ignition doesn’t occur within a few seconds release the Control Knob (13) and rotate to the “OFF” position.
Wait for 5 minutes for gas to clear and then repeat the above lighting instructions.
7. Once the Fire Table / Column is lit, the flame intensity may be controlled by turning the Control Knob (13) between the “LOW” and “HIGH” positions.
![]()
| 8. Observe flame height when lit: 8.1.) Flame color should be yellow / blue. 8.2.) Flame height burns at 2 – 10 inches high. |
Part L. SAFETY INFORMATION: TO SHUT DOWN YOUR FIRE TABLE / COLUMN
To Shut Down your Fire Table / Column, please proceed / adopt the following steps :
1. Turn Control Knob (13) clockwise to the “OFF” position.
2. Close the Cylinder Valve (21) on the Propane Gas tank if you DO NOT intend to use it for a long time.
Part M. MAINTENANCE – FIRE TABLE / COLUMN
- Before performing any maintenance work, ensure the Control Knob (13) is in the “OFF” position and always disconnect Propane Gas tank.
- Keep the Fire Table / Column free and clear from all combustible materials.
- Visually inspect Burner Ring (08) for obstructions and keep tank enclosure free and clear from debris.
- Use a soft brush to get rid of the mild stains, loose dirt and soil after the burner and pumice stones / lava rocks are completely cooled down. Wipe down with a soft cloth.
- Harsh weather conditions may cause stubborn stains, discoloration and possibly rust pitting.
- Permanent damage may occur if powder or solvent comes in contact with painted or plastic components on this Fire Table / Column.
- Keep the Fire Table / Column stored away from direct sunlight.
- If storing this unit inside, disconnect the Propane Gas tank from the Gas Valve (22).
Leave the gas tank outside of your premises. - Not using manufacturer approved or supplied pas/accessories may result in a defective condition and shall void the warranty of this Fire Table / Column.
- Before performing any maintenance work, always:
1) ensure Control Knob (13) is in ‘OFF’ position
2) disconnect Propane Gas tank - Keep the Fire Table / Column free and clear from all combustible materials.
- Visually inspect Burner Ring (08) for obstructions and keep tank enclosure free and clear from debris.
- Place Lid (if applicable) and Protective COVER(C) on the Fire Table / Column when not in use.
Part N. MAINTENANCE : FIRE TABLE / COLUMN SURFACE CARE
- Our Table / Column Fire Table material has been sealed with a treatment that prevents staining and moisture absorption, and for product longevity this Fire Table / Column would still require proper care and maintenance to ensure the integrity of the surface.
- Please see below for recommendations on maintaining your Fire Table / Column surface for years of extended use:
- Clean any spills immediately to prevent permanent surface(s) staining or damage to your Fire Table / Column.
Blot any liquid spills with a clean, dry cloth to avoid spreading of the spill to the rest of the table.
Immediate cleaning of stains / blotting of spills also prevents absorption of such stains / spills into the surfaces, compared to if such stains / spills are left for exended periods on these surfaces.
- How to Clean your Fire Table / Column surface(s) :
Mix a mild dish soap into warm clean water, use a soft, clean cloth or sponge..
Then proceed to remove surface dirt, stains or mild spills.
Rinse all soap solution off from the surfaces with a damp cloth.
Dry off completely with a dry cloth to avoid water spots / water marks.
Regularly cleaning the Fire Table / Column surface will aid in a longer lasting product.
- DO NOT use petroleum-based or abrasive cleaning products.
DO NOT use any harsh brushes / rough sponges when cleaning the Fire Table / Column surface(s).
- DO NOT slide products across the Fire Table / Column surface(s) to avoid permanent scratching and or damage(s).
- DO NOT place any food on the surface(s) of the Fire Table / Column.
DO NOT eat from the surface(s) of the Fire Table / Column surface.
- Fire Table / Column surface must be covered at all times when not in use.
Cover your product with an outdoor Protective COVER(C) when not in use to protect it from the elements.
Store your product indoors during winter months, leave the gas tank outside.
Avoiding extreme cold temperatures, as extreme cold temperatures may cause cracking of the tabletop.
Part O. TROUBLE SHOOTING
Herebelow is a simple guide on frequently asked questions / frequently occurring issues.
Read through carefully and execute accordingly and adequately.
Whenever you are uncertain, please contact Qualified Technician Services and/or Fire Department.
| Problem | Cause | Solution |
| Fire Pit / Fire Table Column DOES NOT light up. | Ignitor pin (04) and Burner (08) are wet | Dry off with a soft cloth |
| Ignitor Battery (B) is incorrectly inserted | Check which direction the battery is inserted OR battery needs to be replaced | |
| Ignitor Pin (04) is broken | Contact Manufacturer for a replacement part | |
| Ground Wire (03) is loose or disconnected | Reconnect wire to the ignitor box located inside the table behind the ignitor box | |
| Ground Wire (03) is shorting between Valve and Ignitor Pin(04) | Contact Manufacturer for a replacement part | |
| Burner DOES NOT light while using a match | No Gas flow | Check that the Gas tank isn’t empty |
| Regulator(12/19) isn’t connected securely to the tank | Tighten Regulator connection to the Gas tank | |
| Gas flow is obstructed | Check all hoses (12) for kinks and bends. | |
| Burner holes are clogged | Turn all gas flow connections OFF. Insert an opened paperclip (or similar item) into each of the burner ports to clear them out. | |
| Heater unit emits a lot of black smoke | Flame is obstructed at burner holes | Check that all Burner holes are free of any small lava rocks/ pumice stones pieces. |
| Regulator(12) hose is kinked | Straighten Hose (12) of all bends or kinks. | |
| Sudden drop in gas flow | No Gas flow | Check that the Gas tank isn’t empty. |
| Excess flow Safety Valve (11) has been activated | Turn the Control Knob(13) to the ‘OFF’ position. Close the Tank Valve and disconnect Propane gas tank. Turn the Control Knob(13) to ‘HIGH’; wait 1 minute. Turn the Control Knob (13) back to the ‘OFF’ position. Reconnect Propane gas tank. Light the fire unit as indicated in the ‘To Light’ section of this manual. | |
| Flame blows out easily | High or gusting winds | Increase flame to ‘HIGH’ |
| No gas flow | Check that the gas tank isn’t empty | |
| Excess flow safety valve has been activated | See ‘Sudden drop in gas flow’ above |
Part P. WARRANTY
The manufacturer warranty shall be voided, and manufacturer disclaims any responsibility for the following actions whereby the Customer / Consumer / Owner has:
- Made modification(s) to the unit and / or components including the Gas Valve assembly. The Owner shall contact the Local Supplier and Quaified Service Person to repair these parts.
- Use any component pal change to parts that are NOT manufactured or approved by manufacturer
- Use and installation other than what is listed in this Owner’s Manual.
Please contact the manufacturer for replacement parts.
Part Q. CONTACT
If you have any questions or concerns, our Trained Staff are ready to assist you.
Contact: (818) 918-3129 Monday-Friday 8 a.m. to 5 p.m. PST.
Noble house Home Furnishings LLC












































