MINISO KG12 Karaoke Microphone

Product Overview

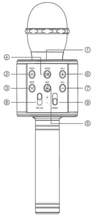
- Power On/Off
- PREV: Previous Track
- NEXT: Next Track
- SCAN: Pause/Play
- REC; Voice Changing
- VOL-+-: Volume Up
- VOL-: Volume Down
- MIC VOL: MIC VOL Adjust
- REMIX: REMIX Adjust
Accessories
- Productx1
- Charging Cabtc,.1
- User Manuals 1
Parameters
- BT Version: 5.0
- BT Name: MINISO-KG12
- Charging port: Micro USB
- Battery capacity: 1200mAh
- Charging time: About 4h
Instructions
| Function | Instructions |
| Tum on Turn off Pairing mode | Long press Power Of’VOff button. Long press Power On/Off button. Tum on Bluctooth on your devico and search the Bluetooth name “MINISO-KG12”, click and pair. |
| Play/pause | When the music Is playing, click SCAN button. |
| Previous track Next track | When the music is playing, click PREV button. When the music is playing, click NEXT button. |
| Voice changing | Long press REC button to change. |
Cautions
- Reasonable control of the volume and time of usage is required to avoid hearing damage.
- For your safety, do not use it in potentially hazardous conditions.
- Keep it out of reach of children to avoid danger caused by improper use.
- Do not throw it lo avoid damage caused by dropping.
- Do not use or store it at a temperature above 35″C to avoid shortening the lifespan of the microphone and battery.
- Do not modify, disassemble or repair the product
- Irreplaceable battery. It should be disposed of according to local laws & regulations or be receded by a professional institute, Do not throw away or lose ii into the fire.
- When not in use for a long time, charge ii every 3 months to extend lls service life.
Troubleshooting
- The microphone fails to be paired with the phone. Solution: Check if the microphone is in pairing mode and whether the phone has BT function on. Check the list on your phone, remove the microphone from the list, and follow the instructions of the user manual to pair the microphone with your phone again.
- Cannot tum on the microphone. Solution: Check the battery to sec if it is low.
- Con 1he battery of the microphone be replaced? Answer: No. The lithium-polymer battery in the microphone is irreplaceable.
- The microphone got disconnected from the phone within 10 meters. Solution: BT is wireless so It is very sensitive to objects Belhaven the microphone and the connected device. Check if there are any metal or o1her objects that may affect the connection within the effective distance.
- Cannot hear audio playing when the microphone Is connected to the computer or phone.
Solution: Check whether the computer’s audio output is already connected to the wireless device and whether the B1uetooth in the computer supports the A2DP protocol. Make sure the volume is up on your phone or computer. - Can I operate the Apps of my phone through the microphone after connecting the microphone to the phone?
Answer: Some apps may not support being operated through the microphone due to their settings.
FCC Warning
Any changes or modifications not expressly approved by the party responsible for compliance could void the user’s authority to operate the equipment. This device complies with part 15 of the FCC Rules. Operation Is subject to the following two conditions:
- This device may not cause harmful interference, and
- this device must accept any interference received, including interference that may cause undesired operation.
Note: This equipment has been tested and found to comply with the limits for a Class B digital device, pursuant to part 15 of the FCC Rules. These limits are designed to provide reasonable protection against harmful interference In a residential installation. This equipment generates uses and can radiate radio frequency energy and, if not installed and used in accordance with the instructions, may cause harmful interference to radio communications. However, there is no guarantee that interference will not occur in a particular lallation. If this equipment does cause harmful interference to radio or television reception, which can be determined by turning the equipment off and on, the user is encouraged lo try to correct the interference by one or more of the following measures:
- Reorient or relocate the receiving antenna.
- Increase the separation between the equipment and receiver.
- Connect the equipment into an outlet on a circuit different from that to which the tile receiver is connected.
- Consult the dealer or an experienced radio technician for help
IC Warning
This device contains license-exempt transmitter(s)/receiver(s) that comply with Innovation. Science and Economic Development Canada’s license-exempt RSS(s). Operation is subject to the following two conditions:
- This device may not cause interference.
- This device must accept any interference, including interference that may cause undesired operation of the device.
This device must accept any interference, Including interference that may cause undesired operation of the device. This transmitter must not be co-located or operating in conjunction with any other antenna or transmitter. The device has been evaluated to meet general RF exposure requirements. The device can be used in portable exposure conditions without restriction.

















