SPECK X pumps Swimming Pool and Spa Pump
BEFORE USING THE SPECK PUMP
Notice: The California Energy Commission requires all pumps purchased for sole or use in a residential pool for filtration in California be listed on their CEC website.
Important Notice: This manual contains important information about the installation, operation and safe use of this product. This information should be given to the owner and/or operator of this equipment.
WARNING
This product must be installed and serviced by a qualified pool professional, and must conform to oil national, state, and local codes. Before installing this product, read and follow all warning notices and instructions which are included. Failure to follow safety warnings and instructions can result in severe injury, death, or property damage. Call (800) 223-8538 or visit
www.usa.speck-pumps.com for additional copies of these instructions.
IMPORTANT SAFETY INSTRUCTIONS
When installing and using this electrical equipment, basic safety precautions should always be followed, including the following:
- READ AND FOLLOW All INSTRUCTIONS.
- WARNING – To reduce the risk of injury, do not permit children to use this product unless they are closely supervised at all times.
- WARNING: Risk of Electrical Shock. Connect only to a branch circuit protected by a ground-fault circuit interrupter (GFCI). Contact a qualified electrician if you cannot verify that a circuit is protected by a GFCI.
- WARNING – To reduce the risk of electric shock, replace any damaged cord immediately.
- DO NOT install within an outer enclosure or beneath the skirt of a hot tub or spa.
- CAUTION: This pump is for use with permanently installed pools and may also be used with hot tubs and spas if so marked. Do not use with storable pools. A permanently-installed pool is constructed in or on the ground or in a building such that it cannot be readily disassembled for storage. A storable pool is constructed so that it is capable of being readily disassembled for storage and reassembled to its original integrity.
- The unit must be connected only to a supply circuit that is protected by a ground-fault circuit-interrupter (GFCI). Such a GFCI should be provided by the installer and should be tested on a routine basis. To test the GFCI, push the test button. The GFCI should interrupt power. Push the reset button. Power should be restored. If the GFCI fails to operate in this manner, the GFCI is defective. If the GFCI interrupts power to the pump without the test button being pushed, a ground current is flowing, indicating the possibility of an electric shock. Do not use this pump. Disconnect the pump and have the problem corrected by a qualified service representative before using.
- TO REDUCE RISK OF ELECTRICAL SHOCK, A copper bonding connector (8 AWG U.S., 6 AWG Canada) is provided for bonding the motor to all metal parts of the swimming pool, spa, or hot tub structure and to all electrical equipment, metal conduit, and metal piping within 5 feet of the inside walls of a swimming pool, spa, or hot tub, when the motor is installed within 5 feet of the inside walls of the swimming pool, spa, or hot tub.
NOTE: To installer and/or operator of the Speck Swimming Pool Pump; the manufacturer’s warranty will be voided if the pump is improperly installed and/ or operated. - SAVE THESE INSTRUCTIONS
General Safety
The following guidelines provide information to minimize the risk of injury to users of pools, spas, and hot tubs.
WARNING: TO REDUCE THE RISK OF ENTRAPMENT HAZARD
- Pump suction is hazardous and can trap and drown or disembowel swimmers.
- Blacking suction with body may cause severe or fatal injury.
- DO NOT use or operate swimming pools, spas, or hat tubs if a suction outlet cover is missing, broken, or loose. 11 All suction outlet covers must be maintained. They must be replaced if cracked, broken, or missing.
- All suction outlets must have correctly installed screw-fastened cover in place.
- The pump suction system must provide protection against hazard of suction entrapment or hair entrapment/
entanglement. - Provide at least two hydraulically balanced (3′ apart) main drains, with covers as suction outlets for each
circulation pump suction line.
WARNING: RISK OF ELECTRICAL SHOCK OR ELECTROCUTION - Pool pump must be installed by a licensed or certified electrician or a qualified pool serviceman in accordance with the
- National Electrical Code and all applicable local codes and ordinances. Improper installation will create an electric hazard which could result in death or serious injury to pool users, installers, or others due to electrical shock, and may also cause damage to property.
- Always disconnect power to the pool pump at the circuit breaker before servicing the pump. Failure to do so could result in death or serious injury to serviceman, pool users, or others due to electric shack.
Hazardous voltage, Can shock, burn, or cause death. Disconnect power before working on pump or motor,
Installation Information
PREPARATION GUIDE
- Upon receipt of the pump, check the carton for damage. Open the carton and check the pump for concealed damage, such as cracks, dents, or a broken base. If damage is found, contact the shipper for distributor where the pump was purchased.
- Inspect the contents of the carton and verify that all parts are included. See Parts List and Exploded View for details.
PUMP LOCATION
NOTE: In Canada, the pump must be located a minimum of three (3) meters (approximately ten (10) feet) from the water (CSA CZZ.1).
- For trouble-free self-priming, install the pump as close to the pool as practical. Consult local codes for minimum distance between pool and pump.
WARNING: Some Safety Vacuum Release System (SVRS) devices are not compatible with the installation of check valves. If the pool has an SVRS device, be sure to confirm that it will continue to safely operate if check valves are installed. - The piping should be as direct and free from turns or bends as possible, as elbows and other fittings greatly increase friction losses which reduce the flow of water.
- Place pump on a solid foundation which provides a rigid and vibration-free support so that it is readily accessible for service and maintenance.
- Install the pump in a well ventilated location protected from direct sunlight and excessive moisture (rain, sprinklers, etc.).
- Protect the pump against flooding and excess moisture, and prevent foreign objects from clogging air circulation around motor. All motors generate heat that must be removed by providing proper ventilation.
- DO NOT store or use gasoline or other flammable
- DO NOT remove any safety alert labels such as DANGER, WARNING, or CAUTION. Keep safety labels in good condition and replace and missing or damaged labels.
- Provide access for future services by leaving a clear area around the pump. Allow plenty of space above the pump to remove lid and basket for cleaning.
PIPE SIZING
NOTE: Alf pipe sizes ore able to withstand the pressures the pump will deliver, but not necessarily the flow. If the pipe is too small for the pump, or is elevated above the water, the maximum gallons per minute (GPM) may not be delivered. If this happens, the pump will develop a pocket of air that makes noise (cavitation). This may shorten the life of the pump.
SUCTION & DISCHARGE:
PLUMBING INSTALLATION
- When connecting piping to the threaded ports on the pump, it is recommended that thread seal tape be used. Hard-plumbed pipes mush have proper solvent-weld connections. If the suction line is not sealed correctly, the pump will not prime properly and will pump small volumes of water or none at all.
- When installing the pump, care should be taken so that the suction line is below water level to a point immediately beneath the pump to ensure quick priming via a flooded suction line. The height between the pump and water level should not be more than five (5) feet.
- Suction and discharge lines should be independently supported at a point near the pump to avoid strains being placed on the pump. Always use properly sized valves.
- When installing the pump below water level, it is advisable to install a valve in both the suction and discharge line in the event that the pump must be removed for servicing.
- Before starting the pump for the first time, remove the see-through lid. (Turn lid ring counter-clockwise to remove.) Fill strainer tank with water until it is level with the suction inlet. Replace lid with locking ring. Hand-tighten the lid to make an air-tight seal. DO NOT use any tools to tighten the lid.
- Use the fewest number of fittings as possible. Each additional fitting has the effect of moving the equipment farther away from the water. NOTE: If more than ten (10) suction fittings are needed, the pipe size must be increased. foundation or mounting bracket.

BONDING AND GROUNDING
When installing and using the motor, basic safety precautions should always be followed. The wiring of the motor should be done by a licensed electrician in accordance with local codes.
- The motor frame must be grounded to a reliable grounding point using a solid copper conductor, No. B AWG or larger. In Canada, No. 6 AWG or larger must be used. If the pump is installed within five (5) feet of the inside walls of the swimming pool, spa, or hot tub, the motor frame must be bonded to all metal parts of the swimming pool, spa, or hot tub structure and to all electrical equipment, metal conduit, and metal piping within five (5) feet of the inside walls of the swimming pool, spa, or hot tub.
- Bond the motor using the provided external lug.
WARNING: Always disconnect the power source before working on a motor or its connected load. Motor is fitted with internal auto reset. May restart without warning. In order to avoid the risk of property damage, severe personal injury, and/or death, make sure that the control switch, time clock, or control system is installed in an accessible location, so that in the event of an equipment failure or loose plumbing fitting, the equipment can be easily turned off.
CAUTION: The pump must be permanently connected ta a dedicated electrical circuit. Na other equipment, lights, appliances, or outlets may be connected to the pump circuit, with the exception of devices that may be required to operate simultaneously with the pump, such as a chlorinating device or heater.
ELECTRICAL INSTALLATION
- The pump motor must be securely grounded inside the motor terminal compartment. NOTE: DD NOT connect to electric power supply until unit is permanently grounded.
- Wire size must be adequate to minimize voltage drop during the start-up and operation of the pump.
- Insulate all connections carefully to prevent grounding or short-circuits. Sharp edges on terminals require extra protection. To prevent the wire nuts from loosening, tape them using suitable, listed (UL, ETL, CSA) electrical insulating tape. For safety, and to prevent entry of contaminants, reinstall all conduit and terminal box covers. Do not force connections into the conduit box.
- Connect Ll, LZ/N, and Ground to the terminal block as shown on the motor nameplate.
VOLTAGE CHECKS
The correct voltage, as specified on the pump data plate, is necessary for proper performance and long motor life. Incorrect voltage will cause damage to the motor.
It is the responsibility of the electrical installer to provide data plate operating voltage to the pump by ensuring proper circuit sizes and wire sizes for this specific application.
CAUTION: Failure to provide data plate voltage during operation will cause the motor to overheat and void the warranty.
PRESSURE TEST
WARNING
When pressure testing o system with water, air is often trapped in the system during the filling process. This air will compress when the system is pressurized. Should the system foil, this trapped air can propel debris at o high speed and cause injury. Every effort to remove trapped air must be taken. including opening the bleed valve on the filter and loosening the pump basket lid while filling the pump.
Trapped air in the system can cause the filter lid to be blown off, which can result in death, serious injury, or property damage. Be sure all air is properly purged out of the system before operating. DO NOT USE COMPRESSED AIR TO PRESSURE TEST OR CHECK FOR LEAKS.
When pressure testing the system with water, it is very important to make sure that the pump basket and lid is completely secure.
- Fill the system with water, using care to eliminate trapped air.
- Pressurize the system with water to no more than 35 PSI.
WARNING: DO NOT pressure test above 35 PSI. Pressure testing must be done by a trained pool professional. Circulation equipment that is not tested properly might foil, which could result in severe injury or property damage. - Close the valve to trap pressurized water in the system.
- Observe system for leaks and/or pressure loss.
- If there are leaks, repeat steps 1-3. For technical support call B00-223-8538 or +1 904-739-2626.
EQUIPMENT OPERATION, SERVICE, AND MAINTENANCE
START UP GUIDE
CAUTION: Never run the pump without water. Running the pump “dry” for any length of time can co use severe damage to both the pump and the motor and will void the warranty.
If this is a new pool installation, make sure all piping is clear of construction debris and has been properly pressure tested. The filter should be checked for proper installation, verifying that all connections and clamps are secure according to the manufacturer’s recommendations.
WARNING: To avoid risk of property damage, severe personal injury or death, verify that all power is turned off before starting this procedure.
- Release all pressure from the system and open the filter pressure release (air bleed) valve.
- Depending on the location of the pump, do one of the following:
- If the pump is located below the water level of the pool. open the filter valve to prime the pump with water.
- If the pump is located above the water level of the pool. remove the lid and fill the basket with water before starting the pump.
- Prior to replacing the lid, check for debris around the lid o-ring seat. Debris around the lid o-ring seat will make it difficult to prime the pump.
- Hand-tighten the lid to make an air tight seal. DO NOT use any tools to tighten the lid: hand-tighten only. Make sure all valves are open and the unions are tight.
- Once all the air has left the filter, close the pressure release valve.
- Switch on power to the pump-motor to start.
- Allow the pump to run for up to 10 minutes to allow air trapped in the suction line to be purged.
- If the pump does not prime and all the instructions to this point have been followed, check for a suction leak. If there is a leak repeat Steps 2 through 6.
NOTE: It is normal for o few drops of water to escape from the mechanical seal from time to time. This is especially true during the break-in period. - For technical support, call 800-223-8538. If calling from outside the U.S. dial +l 904-739-2626.
ROUTINE MAINTENANCE
This pump requires little or no service other than reasonable care and periodic cleaning of the strainer basket. DO NOT strike basket to clean. When cleaning the basket inspect the lid a-ring for damage and replace if necessary.
- Inspect the pump basket for debris by looking through the clear pump lid.
- Turn OFF the power to the pump. If the pump is located below the water level, close isolation valves on the suction and discharge sides of the pump to prevent back flow of water.
- Remove any debris, because as the debris accumulates, it will begin to block the flow of water through the pump. Keep the basket clean and clear to improve the performance of the pump.
- Turn the lid ring counter-clockwise to remove. Carefully remove the lid and lock ring.
- Remove the basket and properly dispose of the debris into the trash and rinse out the basket. Check basket for cracks, if crack is found replace basket.
- Replace basket back into the pump, align the basket properly with the suction pipe. Then fill with water up to the suction pipe. Clean the clear lid, o-ring, and sealing surface of the pump of any debris.
- Replace lid with lid ring. Hand-tighten the lid to make an air-tight seal. DO NOT use any tools to tighten the lid.
- Verify that all valves have been returned to the proper position for normal operation. Turn ON the power to the pump.
NOTE: It is normal for o few drops of water to escape from the mechanical seal from time to time. This is especially true during the break-in period.
The mechanical seal may become worn or loose over the course of time, depending on the running time and water quality. If water continually leaks out, a new mechanical seal should be fitted. After long periods of no operation (seasonal storage, etc.), the pump must be checked for ease of rotation while it is switched off. Refer to Section 2/4 Removal and Replacement of the Impeller and/or Mechanical Seo/.
WARNING: Before servicing the pump, switch off the circuit breakers at the power source. Severe personal injury or death may occur if the pump starts while your hand is inside the pump.
WINTERIZING
CAUTION: The pump must be protected when freezing temperatures ore expected. Allowing the pump to freeze will cause severe damage and void the warranty.
There are two options when winterizing the pump.
OPTION 1:
- Drain all the water from the pump, system equipment, and piping.
- Remove drain plugs. DO NOT replace plugs. Store the plugs in the empty strainer basket for winter. as Keep the motor covered and dry.
OPTION 2:
1. Drain all the water from the pump, system equipment, and plumbing.
2. Remove the pump and motor from the plumbing and store indoors in a warm, dry location.
NOTE: When the winter season is over the pump will need to be check and primed prior to start.
CAUTION: DO NOT run the pump dry. If the pump is run dry, the mechanical seal will be damaged and the pump will start to leak ot the seal. If this occurs, the mechanical seal will need to be replaced. ALWAYS maintain the proper water level in your pool. Continued operation in this manner could cause o loss of pressure, resulting in damage to the pump casing, impeller, and mechanical sea.
REMOVAL AND REPLACEMENT OF THE IMPELLER AND/OR MECHANICAL SEAL
WARNING: Before servicing the pump, switch off the circuit breakers ot the power source. Severe personal injury or death may occur if the pump starts while your hand is inside the pump.
REMOVAL ANO REPLACEMENT OF THE IMPELLER AND/OR MECHANICAL SEAL
- Turn OFF the pump. Switch off the circuit breaker to
the pump motor. If you are not replacing the motor, do not disconnect the electrical wiring. - Turn OFF any valves to prevent pool water from reaching the pump. Drain water from the pump by loosening the unions or removing the drain plug.
- Remove the four (4) thru-bolts and nuts connecting the pump casing/strainer tank to the pump flange.
- Pull the motor and flange/seal housing out from the pump casing/strainer tank. Remove the pump casing o-ring, The impeller is connected to the motor shaft.
- Remove the diffuser by gently pulling the diffuser (the diffuser is the cover over the impeller) horizontally until the pins clear the seal housing.
- Remove the cap from the rear of the motor. Place a flat head screwdriver through into the screwdriver slot on the motor shaft.
- While holding the motor shaft, turn the impeller counterclockwise to remove from the shaft.
- Gently pull the mechanical seal from the impeller shaft noting the way it was originally installed.
CAUTION: DO NOT damage the ceramic or carbon sealing surfaces of the seal. ff the sealing surfaces are damaged, leaks will occur. - Using water with a small amount of dish soap, brush the impeller shaft for ease of assembly.
- With the carbon side up, push the mechanical onto the impeller shaft and wipe carbon surface with a clean cloth. CAUTION: DO NOT use grease or lube to install seal, ft will damage the seal and cause failure.
- The ceramic side of the seal can be pushed out from the rear of the seal housing. Please note its position before removing.
- Using water only, wet the ceramic side of the seal and using your thumbs push into the seal housing. Clean surface with a clean cloth.
- Wipe the motor shaft of all debris and apply a single drop of LOCTITE® to the motor shaft threads.
- Install impeller by spinning it clockwise onto the motor shaft. Continue to turn clockwise until the carbon and ceramic sides make contact and the seal spring slightly compresses.
- Install the diffuser by aligning the diffuser pins with the holes in the seal housing and pressing together.
- Make sure the diffuser and casing o-rings are in place and free of debris. Replace the casing 0-ring. Slide the motor flange/seal housing into the casing.
- Install the four casing thru-bolts and nuts using a cross pattern from side to side and top to bottom. CAUTION: .D.D 1’IJ)I. over-tighten.
MOTOR REPLACEMENT
WARNING: The pump must serviced by a professional service technician qualified in pool/spa installation. The following procedures must be followed exactly. Improper installation and/or operation can create dangerous electrical hazards, which con cause high voltage to run through the electrical system. This can cause property damage, serious personal injury, and/or death. Improper installation and/or operation will void the warranty.
- Disconnect the wiring from the side of the motor. (Refer to the Electrical Installation)
- Remove the four (4) thru-bolts and nuts holding the flange/seal housing to the pump casing/strainer tank.
- Slide the motor and flange/seal housing away from the casing/stainer tank.
- Remove the diffuser by gently pulling the diffuser horizontally until the pins are clear from the flange/seal housing.
- Remove the rear motor cap and place a flat heat screwdriver into the screwdriver slot on the rear of the motor shaft.
- While holding the motor shaft, turn the impeller counterclockwise.
- Pull the seal housing with away from the pump flange.
- Remove the four flange bolts (7/32″ alien head). Pull the flange away from the front of the motor.
- Remove the slinger from the old motor and install on to the new motor.
- Clean the surfaces of the seal. Refer to Section 214 Removal and Replacement of the Impeller and/or Mechanical Seal.
TROUBLESHOOTING GUIDE



SERVICING INFORMATION
When calling the manufacturer regarding a question or problem with your pump, please have the serial number available. The serial number is located on the pump either on the flange or motor labels.
Replacement parts may be available from your installer. Call, fax, or write: Speck Pumps at 8125 Bayberry Road, Jacksonville, Florida 32256 Phone: (904) 739-2626 Fax: (904) 737-5261, e-mail: [email protected]
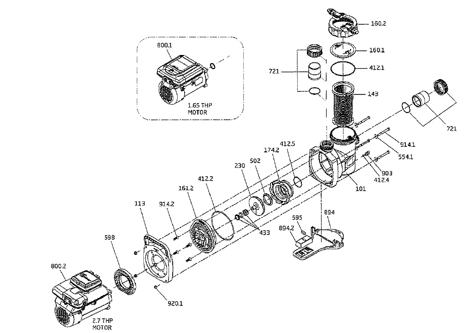
REPLACEMENT PARTS AND EXPLODED VIEW
Models: BADU Pro-Ill UVS & BADU Pro-V UVS

| 2901116010 29211160128 2921116022 2901141201 2901114300 2901510102 | 160.1 Not Shown 160.2 412.1 143 101 | lid – Clear lid – Clear w/ Led Light Lid – Lock Ring w/ Handles □-ring – Lid 137 x 5mm Basket Casing (1.5″) |
| 2901510103 | 101 | Casing (2.0″) |
| 2901490300 | 903 | Drain Plug – Winged w/ □-ring |
| 2302002062 | 412.4 | 0-ring – Drain Plug 11 x 2.5mm |
| 2991000154 2991400035 2991000155 2920359501 2901591700 2901589400 2920141210 | 914.1 554.1 920.1 595 894.2 894 412.5 | Screw – 3/8-16 x 3-1/2″ Hex Cap S5 (x4) Washer – Flat 3/8″ SS (x4) Nut – 3/8-16 Brass (x4) Rubber Buffer – 10 x 10 x 27mm Motor Support Base Plate □-ring – Diffuser 90 x 5mm |

Models: BADU Pro-Ill UVS & BADU Pro-V UVS


PRODUCT REGISTRATION
Thank you for purchasing a SPECK PUMPS® product please take a few moments to register it online. Your registration helps us keep you up to date on product information and offers.
Before you register:
What do I need to get started?
- The Serial Number and the Model Name
- An email address. We will use this to send you confirmation of your registration.
- A copy of your sales receipt and/or qualified installer’s invoice.
To register your SPECK equipment please register on line at www.usa.speck-pumps.com
or
Scan QR code to register product
LIMITED WARRANTY
Speck Pumps-Pool Products, Inc. grants solely to the original consumer purchaser (“Buyer”) of the pump and motor the following personal, non-transferable and limited warranty on the following terms and conditions (the “Limited Warranty”): the pump and motor is warranted to be free of material defects in materials or workmanship under normal use for a period of two (2) year beginning on the date of the Buyer’s purchase of the pump and motor. Not withstanding any provisions herein to the contrary, the warranties and obligations hereunder shall not in any event extend for more than three (3) years beyond the date of shipment of the pump and motor from the factory (the “Limited Warranty Period”). The Limited Warranty is subject to each of the following additional terms and conditions:
- IN THE EVENT OF ANY BREACH OF THE LIMITEO WARRANTY, SPECK PUMPS-POOL PRODUCTS, INC:S ENTIRE OBLIGATION AND LIABILITY TO BUYER, AND BUYER’S SOLE AND EXCLUSIVE REMEDY SHALL BE AS FOLLOWS: Speck Pumps-Pool Products, Inc. will, at its option, either repair or replace the pump and motor or refund to Buyer the purchase price actually paid by Buyer for the pump and motor subject to the Limited Warranty. Speck Pumps-Pool Products, Inc. shall have no obligations under the Limited Warranty unless Buyer delivers timely written notice to Speck Pumps-Pool Products. Inc. of the Limited Warranty claim within the Limited Warranty Period and returns the pump and motor to Speck Pumps-Pool Products, Inc. if requested. To the fullest extent permitted by law. Speck Pumps-Pool Products, Inc. expressly disclaims any liability for, and the Limited Warranty does not include or cover, any labor, costs or other expenses in connection with the removal, transportation, shipment, insurance, replacement, repair, or installation of repaired or replaced parts or for any other costs or expenses or damages to property or things including, but not limited to, those arising in connection with the use of, or inability to use, the pump and motor.
- To the fullest extent permitted by law, the Limited Warranty will be void and of no force or effect and Speck Pumps-Pool Products, Inc. will have no liability, responsibilities or obligations to Buyer or with respect to the pump and motor in the event of the occurrence of any one or more of the following:
- Any damage to the pump and motor caused by Buyer. any third party, ground movement. other natural forces, acts of God or any other sources or causes not arising from a breach of the Limited Warranty, excluding ordinary wear and tear;
- Any replacement, modification, alteration or repair of any parts or components of the pump and motor by anyone other than Speck Pumps-Pool Products. Inc.;
- Any abuse, misuse, accident, tampering with, improper installation or modification of the pump and motor or any other actions, inactions or failures to act that violate the terms and conditions of this Limited Warranty;
- Buyer’s failure or inability to present an invoice, bill, receipt or other documentation clearly evidencing that the pump and motor was installed and maintained in strict compliance with this Limited Warranty and that the claim was timely submitted within the Limited Warranty Period; and/or
- Buyer’s failure to comply with the conditions and contingencies set forth in paragraph 3 below.
- The Limited Warranty is expressly conditioned and contingent upon Buyer’s strict compliance with each of the following:
- Installation of the pump and motor by an experienced and qualified pool industry professional and a licensed electrician who is licensed within the jurisdiction in which the pump and motor is installed and will be used; and
- Buyer’s operation and maintenance of the pump and motor in strict accordance with Speck Pumps-Pool Products, lnc:s printed operator/maintenance manuals delivered with the pump and motor.
CH DISCLAIMER; THE LIMITED WARRANTY IS THE ONLY WARRANTY MADE AND IS IN LIEU OF ALL OTHER WARRANTIES, AND ANY AND ALL IMPLIED WARRANTY OR CONDITION OF MERCHANTABILITY, THE IMPLIED WARRANTY AGAINST INFRINGEMENT, AND THE IMPLIED WARRANTY OR CONDITION DF FITNESS FOR A PARTICULAR PURPOSE ARE EXPRESSLY LIMITED IN THEIR SCOPE AND DURATION TO THE TWO YEAR TERM OF THE LIMITED WARRANTY SET FORTH HEREIN. SOME STATES DO NOT ALLOW LIMITATIONS ON HOW LONG AN IMPLIED WARRANTY LASTS, SO THE ABOVE LIMITATION MAY NOT APPLY TD THE BUYER.
- TO THE FULLEST EXTENT PERMITTED BY LAW, IN NO EVENT SHALL SPECK PUMPS · POOL PRODUCTS, INC. OR ITS OFFICERS, DIRECTORS, EMPLOYEES, SHAREHOLDERS, AGENTS, OR REPRESENTATIVES BE LIABLE FOR ANY SPECIAL, INDIRECT, INCIDENTAL, EXEMPLARY OR CONSEQUENTIAL DAMAGES OR LOSS, INCLUDING TIME, MONEY, GOODWILL, AND LOST PROFITS IN ANY WAY WHICH MAY ARISE HEREUNDER OR FROM THE USE OF OR INABILITY TO USE THE PUMP AND MOTOR OR THE PERFORMANCE OR NONPERFORMANCE OF ANY OBLIGATION UNDER THIS LIMITED WARRANTY. THIS PARAGRAPH, THE WARRANTY DISCLAIMERS IN PARAGRAPH 4 ABOVE, AND THE SOLE AND EXCLUSIVE REMEDY SET FORTH IN PARAGRAPH 1 ABOVE SHALL APPLY EVEN IF SPECK PUMPS – POOL PRODUCTS, INC. HAS BEEN NOTIFIED OF THE POSSIBILITY OR LIKELIHOOD OF SUCH DAMAGES OCCURRING, WHETHER SUCH LIABILITY IS BASED ON CONTRACT, TORT, NEGLIGENCE, STRICT LIABILITY, PRODUCTS LIABILITY OR OTHERWISE, AND EVEN IF ANY REMEDY STATED HEREIN FAILS OF ITS ESSENTIAL PURPOSE. SOME STATES DO NOT ALLOW THE EXCLUSION OR LIMITATION OF SPECIAL, INDIRECT, INCIDENTAL, EXEMPLARY OR CONSEQUENTIAL DAMAGES OR LOSS, SO THE ABOVE EXCLUSIONS AND LIMITATIONS MAY NOT APPLY.
- This Limited Warranty gives the Buyer specific legal rights, and the Buyer may also have other rights, which vary from state to state.
- A return merchandise authorization (“RMA”) must be obtained from Speck Pumps-Pool Products, Inc. before returning any product. Products returned without an RMA will be refused and returned, unopened, to the Buyer. All returned products are to be sent freight prepaid and insured for Buyer’s protection to the manufacturer at 8125 Bayberry Road.Jacksonville, Florida 32256. Under no condition will products be accepted after the expiration of the Limited Warranty Period. Speck Pumps-Pool Products, Inc. shall not bear any costs or risks incurred by Buyer in shipping a defective pump and motor to Speck Pumps-Pool Products, Inc. or in shipping a repaired or replaced pump and motor to Buyer.
Technical Support:
Address: Speck Pumps
8125 Bayberry Road
Jacksonville, FL. 32256 USA
Hours: (Monday – Friday) 8:00 am to 5:00 pm EST
Toll Free: 800-223-8538
Phone: 904-739-2626
Fax: 904-737-5261
Website: www.usa.speck-pumps.com

SLOW-DISSOLVE CAL-HYPO FEEDER INSTALLATION AND OPERATION MANUAL INSTALLATION
This slow-dissolve calhypo feeder is designed to be hard plumbed with 1· PVC pipe with standard threaded inlet and outlet fittings. It operates via pressure differential to circulate water 1n the feeder. The inlet side connects to the plumbing near the pump outlet The outlet line connects near the filter inlet. A diverter valve (not included} must be installed between these two lines (see diagram). Fightly closing this valve will allow for higher flow into the feeder. The feeder should be· installed bolted down.
OPERATION
Always use extreme caution when operating or servicing the feeder. NEVER OPEN WHEN THE PUMP IS RUNNING, NEVER INHALE CHEMICAL FUMES. Use caution in hotter weather, as this can create a higher level of gasses. Wear protective glasses and gloves when operating the feeder. Always follow product label directions for handling chemicals.
Before starting the feeder adjust chlorine level to 1-4 ppm. Check with your chemical dealer for more information on proper water care. Sanitizer demand can depend on many environmental factors. Valve settings may need adjustment at times to accommodate changing conditions. Attempt to increase the feeder rate a day or two in advance of anticipated increases in demand. Test water to determine proper Chlorine residual levels; it is recommended that the. levels are checked daily for the first week after start-up to adjust to the ideal rate. Higher numbers dispense more sanitizer. Small, incremental changes are recommended to best control sanitizer levels.
WARNING
Th.is feeder is designed to use oniy slow-dissolve cal-hypo tablets. NEVER MIX slow-dissolve cal-hypo tablets ‘!”!!h other forms of chlorine or with other chemicals. FIRE AND/OR EXPLOSION MAY RESULT. Lubricate o-ring wi.th silicone o-ring lubricant. If you are not the original owner of this feeder, or not sure which chemical was
used, be SAFE and flusl; thoroughly with fresh water CAU TlON SHOULD BE USED WHEN REMOVING CAP. DO, NOT INHALE FUMES.
CHARGING INSTRUCTIONS
Use caution when operating or servicing the feeder. NEVER INHALE CHEMICAL FUMES. Wear safety glasses and gloves when using the feeder. Always follow product label directions for chemical use.
- Shut off pump and close the control valve. Wait one minute. If installed below water level, close any in-line valves to prevent back flow before the vent valve. Next, open the air re1ief valve, then open the feeder bottom drain valve. Drain water into a plastic container and pour into the pool.
- Close the drain valve. Lift the lock spring and unscrew the lid lock ring. Remove feeder lid and fill with slow-dissolve cal-hypo tablets. For best results, stack tablets vertically (see diagram).
- Clean and lubricate the O-ring. then replace the lid. Only use silicone lubricant. Press the lid into position, then close the vent valve. Tighten the lock ring until the a-ring contacts the body, then turn until the lock spring snaps into the next notch in the body. There are four notches located on the upper flange of the body. Never force the lock ring past the lock spring.
- Open any in-line valves, and turn on pump/timer. Adjust the control valve to the proper setting.
IF ISOLATION VALVES ARE USED, you must open them before start-up. Always keep the return line valves open to prevent gas or pressure build-up, except when opening or servicing the feeder_ Close the control valve if adding chemicals to the pool, vacuuming, backwashing or maintainin your filter.
WINTERIZING
During freezing temperature seasons, drain all water from the feeder body. Carefully remove undissolved tables using safety gloves
Clean the feeder body with water, replacing the lid when complete. Leave the vent valve open slightly, and keep the feeder covered all winter season.
- 25280-615-500: Lid Assy w/ o-ring & air relief
- 25280-61S-106: Screen
- N/A: O-ring
- N/A: Body w/ Stand
- 25280-615·104: Plug
- 25280-615 -200: Union
- 27313-010-100: Threaded Coupling
- 25203-453-925: Gasket
- 25280-615-300: Flow Control Valve
- 25280-615-400: Drain Valve

Questions?
for Pool Breeze®,
Call: 1_888-433-3029
For poolife®
call: 866-476-6538























