
Eolis WireFree™ io
Installation Guide
This guide describes how to install, commission, and operate this product.
Introduction
The Eolis WireFree™ io is a wireless wind sensor equipped with io-homecontrol® radio technology. Connected directly to io-homecontrol® motors for terrace awnings, vertical blinds, or outdoor Venetian blinds, the Eolis WireFree™ io allows the automatic raising of these applications to be controlled when the wind blows above a certain preset threshold.
The wind sensitivity threshold is preset by default, but it can be adjusted on the sensor, according to requirements and actual climatic conditions.
Safety
2.1. Safety and responsibility
Before installing and using this product, please read this guide carefully.
This Somfy product must be installed by professional motorization and home automation installer, for whom this guide is intended.
Moreover, the installer must comply with current standards and legislation in the country in which the product is being installed, and inform his customers of the operating and maintenance conditions for the product.
Any use outside the sphere of application specified by Somfy is forbidden. This invalidates the warranty and discharges Somfy of all liability, as does any failure to comply with the instructions given herein. Never begin installing without first checking the compatibility of this product with the associated equipment and accessories.
2.2. Specific safety advice
Figure A
To avoid damage to the Eolis WireFree™ io.
- Avoid impacts!
- Do not drop it!
- Do not submerge it.
- Do not use abrasive products or solvents to clean the product.
- Do clean it using a water spray or high-pressure cleaning methods.
Ensure that the sensor is kept clean and regularly check it is operating correctly.
This sensor does not protect the awnings in the event of strong gusts of wind. If there is a risk of this kind of weather, ensure that the awnings remain closed.
Contents
Figure B
| Description | Q. | |
| a | Eolis WireFree™ iO | 1 |
| b | Wall bracket | 1 |
| C | Screw | 2 |
| d | Plugs | 2 |
| e | AA (LR6) 1.5 V batteries | 2 |
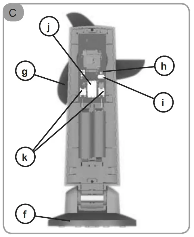
The Eolis WireFree™ io in detail
Figure C
f. Wall bracket
g. Cups
h. Orange/green indicator light
i. Programming button (PROG.)
j. Threshold display screen
k. Threshold setting keys: + and –
Commissioning
5.1. Installing the batteries
Figure D
Never use rechargeable batteries.
- Open the Eolis WireFree™ io by lifting the cover as indicated by the arrow.
- Fit the 2 batteries provided, making sure they are correctly positioned according to the polarity.
► The sensor indicator light will be green if the battery level is correct. - Leave the sensor open to continue commissioning.
5.2. Pairing the Eolis WireFree™ io with an io receiver or motor
Figure E
The motor must already be set and paired to a local
io-homecontrol® control point.
- Press the PROG button on the Somfy io local control point
for2 seconds, until the application performs an up-and-down movement. - Briefly press the PROG button of the Eolis WireFree™ io: the application performs another up-and-down movement, and the sensor is paired.
To pair several motors or receivers with the sensor, repeat this procedure.
To pair using an io-homecontrol® control point from a partner brand or a bi-directional
Somfy io control point, please refer to the relevant guide.
5.3. Adjusting the wind sensitivity threshold on the Eolis WireFree™ io
Figure F
- Open the Eolis WireFree™ io and press one of the threshold setting buttons (+ or -):
► The preset threshold is displayed and the paired applications perform an up-and-down movement.
If the screen shows « – «, see the section «Resetting the wind sensitivity thresholds of the Eolis WireFree™ 10». - Adjust the threshold using the setting keys (+ or -):
– Towards-: the wind must blow less hard, towards +: the wind must blow harder to trigger the protection.
► The screen will display the new threshold.
There are 9 thresholds (from 1 to 9) that increase the sensitivity to wind speed from approximately 10 to 65 km/h.
5.4. Checking the pairing
Figure G
During setting, when the display of the threshold is still lit:
- Put the applications for the motors and/or receivers to which the sensor is paired in the middle position, if necessary.
- Turn the cups by hand to simulate the wind blowing:
► The threshold display light goes out and all these applications are raised to the upper-end limit (regardless of the force exerted or the threshold set).
This allows a check to ensure the wind command has been sent to the motor(s) and/ or receiver(s).
Installation
6.1. Recommendations
Figure H
Choose a location with maximum wind detection and which is not obstructed by obstacles.
The sensor must always be installed so that it is horizontal, with the cups facing downwards.
6.2. Fixing the Eolis WireFree™ io wall bracket
Figure I
- Unclip the trim piece from the wall bracket.
- Drill two holes (6 mm in diameter) one above the other and approximately 66 mm apart.
- Fix the wall bracket with the two screws supplied by placing the hole flat down towards the bottom.
- Refit the trim piece on the wall bracket, positioning the Somfy logo so it is visible on the bottom, and press the trim piece until its clicks» correctly into place.
6.3. Fitting and mounting the sensor fee
Figure J
- Assemble the sensor cover:
- Insert the mounting tabs into their slots (on the narrower side)
- Bring the 2 parts of the sensor together (opposite sides) squeezing until it clicks into place.
- Clip the sensor fork onto the wall bracket bar, the cups facing downwards, and push it until it clicks.
- Tilt the sensor in its bracket so that it is horizontal.
- Retighten the screw located in the wall bracket bar in order to lock the tilting of the sensor.
Operation
- When the wind exceeds the set sensitivity threshold: the applications connected to the sensor automatically close.
It is impossible to prevent the awnings from being raised and lowered when the wind is blowing at speeds above the threshold set.
Figure K
Figure L
- When the sensor has not detected any wind for 30 seconds: it is then possible to control the applications in manual mode. However, all the automatic functions will remain locked for 11 minutes.
Additional settings
8.1. Unpairing the Eolis WireFree™ io from an io receiver or motor
The procedure to be followed to unpair an Eolis WireFree™ io from an io receiver or motor is identical to the pairing procedure: see the section «Pairing the Eolis WireFree™ io with an io receiver or motor».
8.2. Advanced functions
The Eolis WireFree™ io can also be linked to an Easy Sun io or to a specific Somfy io bi-directional control point, which allows:
- Simple remote setting of 3 wind thresholds (1 for the terrace awnings, 1 for the vertical blinds, and 1 for the outdoor Venetian blinds).
- A greater understanding of the operation of the sensor for the user: display when the threshold is reached and indication, if the applications concerned, are closed and/or locked.
- Problems are identified thanks to the data feedback function making maintenance easier: warning if there is a fault with the sensor or its batteries are flat.
Refer to the guide for the Easy Sun io or for the specific Somfy io bi-directional control point for commissioning and use of these advanced functions.
Tips and recommendations
9.1. Questions about the Eolis WireFree™ io
| Indicator status | Possible causes | Solutions |
| The sensor cannot be paired with the motor. | The motor is full. memory | Unpair at least one product from the motor to be able to connect the sensor. |
| The sensor is not within the motor’s radio range. | Move the sensor closer to the motor. | |
| The awning rises once an hour. | The sensor is not operating as the batteries are worn. | Replace the sensor batteries, see the section “Replacing the batteries”. |
| External radio equipment is interfering with the radio reception (e.g. Hi-Fi radio headphones) | Turn off all radio equipment nearby. | |
| The sensor is not operating | Replace the sensor, see the section “Replacing a broken or faulty Eolis WireFree™ io”. | |
| The awning does not rise automatically when the wind comes up. | The sensor is not paired with the motor. | Pair the sensor with the motor, see the section “Pairing the Eolis WireFree™ io with an io receiver or motor”. |
| The wind sensitivity threshold is incorrectly set. | Adjust the threshold, see the section “Adjusting the wind sensitivity threshold on the Eolis WireFree™ io”. |
9.2. Removing the Eolis WireFree™ io
Figure M
- Undo the screw on the wall bracket (2 complete turns).
- Pull the sensor to remove the wall bracket bar.
- Open the Eolis WireFree™ io by lifting the cover as indicated by the arrow.
9.3. Replacement of the batteries
Never use rechargeable batteries.
- Remove the sensor (see above).
- Remove the used batteries.
- Fit 2 new alkaline AA (LR6) 1.5 V batteries, according to the polarity indicated.
► The indicator light will be green if the battery level is correct.
► The indicator light will flash orange if the battery level is insufficient. - ReassembletheEolisWireFree™ io(see the section «Mounting and fixing the sensor»).
When replacing the batteries, all the programmed settings are stored with no time limit.
9.4. Replacing a broken or faulty Eolis WireFree™ io
Figure N
Figure O
- After fitting the batteries in the new Eolis WireFree™ io, press the PROG. button on the Somfy io local control point, until the end product performs an up and down movement (–t 2 secs.).
- Press the PROG. button (I) of the new Eolis WireFree™ io for 7 seconds:
– The indicator light of the new Eolis WireFree™ io (I) will turn green after 2 seconds and remain lit for 5 seconds:
► All the broken or faulty sensors (m) are deleted from the memory of the motor(s) or receiver(s). - Pair the new Eolis WireFree™ io (I) with the motor(s) or receiver(s) by following the procedure from the section «Pairing the Eolis WireFree™ io with an io receiver or motor».
9.5. Resetting the wind sensitivity thresholds of the Eolis WireFree™ io
Figure P
When adjusting the wind sensitivity threshold on the Eolis WireFree™ io, if this screen displays « – «: the thresholds have been set by the type of application from an Easy Sun io or a specific Somfy io bi-directional control point.
- To reset these thresholds and return to a single threshold, press one of the setting buttons (+ or -) for 2 seconds:
► The screen will display the default threshold: 3. This is then applied for all motors or receivers paired with this sensor.
9.6. Returning the Eolis WireFree™ io to its original configuration
Figure Q
- Press the PROG button on the Eolis WireFree™ io for 7 seconds:
– The indicator light turns green after 2 seconds and remains lit for 7 seconds:
► The Eolis WireFree™ io is in its original configuration, the io bi-directional control points are deleted, along with the threshold setting and the io system key. - To use the new Eolis WireFree™ io, carry out a complete commissioning procedure.
Technical data
Radiofrequency: 868-870 Mhz, lo homecontrol® triband bi-directional.
Protection rating: 1 P 44
Operating temperature: -20°C to +60°C
Dimensions in mm (H x w x d): 216 x 95 x 95
Power supply: 2 AA (LR6) 1.5 V batteries
Maximum number of connected Somfy io bi-directional control points: 3
The maximum number of connected motors: is unlimited.
Please separate storage cells and batteries from another type of waste and recycle them via your local collection facility.
io-homecontrol® provides advanced and secure radio technology that is easy to install. io-homecontrol® labeled products communicate with each other, improving comfort, security, and energy savings.
Somfy Worldwide
| Australia: Somfy PTY LTD Tel: +61 (2) 8845 7200 | Singapore: Somfy PTE Ltd Tel: +65 (0) 6383 3855 |
| Canada: Somfy ULC Tel: +1(0) 905 564 6446 | Cyprus: Somfy Middle East Tel: +357(0) 25 34 55 40 |
| Sweden: Somfy Nordic AB Tel: +46 (0) 40 16 59 00 | Switzerland: Somfy A.G. Tel: +41 (0) 44 838 40 30 |
| Denmark : Somfy Nordic Danmark Tel: +45 65 32 57 93 | Finland: Somfy Nordic AB Finland Tel: +358 (0)9 57 130 230 |
| Hong Kong: Somfy Co. Ltd Tel: +852 (0) 2523 6339 | United Arab Emirates: Somfy Gulf Tel: +971 (0) 4 88 32 808 |
| United Kingdom: Somfy Limited Tel: +44 (0) 113 391 3030 | United States: Somfy Systems Tel: +1(0) 609 395 1300 |
Somfy hereby declares that this product conforms to the essentials:
requirements and other relevant provisions of Directive 1999/5/CE. A Declaration of Conformity is available at www.somfy.com/ce. Usable in EU, CH, and NO. Images are
not contractually binding.
Copyright © 2009-2011 Somfy SAS. All rights reserved. Somfy SAS, capital 20.000.000 Euros, RCS Annecy 303.970.230 – 03/2011
Ref. 5058059A![]()



















