Item # 000-000
Model # XXXXXXX
RCP-B62B Portable Air Compressor
User Guide
RCP-B62B Portable Air Compressor
USE AND CARE GUIDE
12-VOLT INFLATOR
Questions, problems, missing parts?
Before returning to the store, call
Husky Customer Service
8 a.m – 6 p.m., EST, Monday-Friday
1-888-HD-HUSKY
HUSKYTOOLS.COM
THANK YOU
We appreciate the trust and confidence you have placed in Husky through the purchase of this [PRODUCT DESCRIPTION]. We strive to continually create quality products designed to enhance your home. Visit us online to see our full line of products available for your home improvement needs.
Thank you for choosing Husky!
Safety Information
PRECAUTIONS
- Save these instructions for future reference.
- The safety instructions provided in this manual are not intended to cover all possible conditions that may occur during product operation. Always use common sense and pay attention to all WARNING and CAUTION statements in this manual.
- Keep your work area clean and well lit. Cluttered benches and dark areas increase the possibility of personal injury or property damage.
- Do not operate power tools in explosive atmospheres, such as in the presence of flammable liquids, gases, or dust.
- Keep bystanders, children, and visitors away while operating a power tool. Distractions can cause you to lose control.
- Use 12-Volt DC only.Ensure that your vehicle has a 12-Volt power outlet that is free of any ash residue or debris. A dirty 12 Volt power outlet can cause the inflator and power cord to overheat which can cause damage to your inflator/vehicle and bodily harm or injury.Disconnect the power when not in use.
- Make sure the connection between the 12-Volt plug-in and the 12-Volt power outlet is secure.A loose connection can cause the 12-Volt power outlet to arc and or spark which can cause damage to your inflator and the 12-Volt power outlet. If this occurs,it is also possible that the 15-Amp fuse in your inflator’s 12-Volt power cord can be damaged or blown if the connection is poor.
- This inflator is designed to inflate vehicle tires, bicycle tires, MV tires, sports equipment, air mattresses, beach toys, and other inflatables. Do not use for any purpose other than inflating.
- Allow the inflator to cool down for 10 minutes after each 10 minutes of continuous operation.
- Turn the power off after using the inflator.
- The inflator is not a toy. Keep away from children at all times.
- Do not carry the inflator by the air hose or power cord as damage may occur.
- Do not leave the inflator unattended while in operation.
- Do not over-inflate the item you are inflating. Follow the manufacturer’s instructions for your item.
- Keep the inflator away from flammable areas/liquids at all times.
- Do not operate the inflator in wet or damp areas.
- Operate the inflator only with the accessories and or attachments that are included.
- If available, it is recommended that safety glasses be used when operating the inflator.
- When operating your inflator it is racommended that your vehicle engine be tumed on and running.This allows your vehicle battery to maintain a full charge and therefore your inflator will operate at maximum power and efficiency. It is ok to operate your infaltor when your vehicle engine is turned off and not running, but if your vehicle battery is not fully charged your inflator will operate slower and also could possibly drain your battey of 12-Volt current.
WARNING:
Read and understand all instructions.
Failure to follow the instructions in this manual can result in electric shock, fire and/or serious personal injury.
WARNING:
If your vehicle engine is turned on and running when you are using your inflator, you must be absolutely sure that your vehicle is outside or in an open, well-ventilated area and not inside a confined closed area such as a garage. Always allow for proper ventilation if you are runing your vehicle engine. If you do not follow these instructions, bodily harm or asphyxiation resulting in death could occcur.
2-Year Limited Warranty
If this Husky product fails due to a defect in material or workmanship within 2 years from date of purchase, return to any
Home Depot store for disposition.
Contact Customer Service at 1-888-HD-HUSKY or visit www.huskytools.com
Pre-operation
SPECIFICATIONS
CAUTION:
This inflator operates only on DC 12-Volt. Do not attempt to operate this inflator with any other source or voltage. DO not rewire or reconfigure the inflator from its original design or personal injury or bodily harm may occur.
NOTE :
This unit is equipped with fuse protection.If at some point your inflator fails to operate, check the fuse in the end of the 12-Volt plug. To replace the fuse,simply unscrew the 12-Volt power plug tip, remove the existing fuse, install a new fuse, and reassemble the power plug tip, Use only an AGC – 15 Amp replacement fuse.
| Voltge | DC 12 – Volt |
| Power Requirement | DC 12 – Volt -For use with 12 – Volt or DC power outlet only |
| working Current at 35 psi | 12A |
| Max.Amperage | 15A |
| SCFM | 0.35 SCFM @ 30 psi |
| Max.Pressure | 120 psi |
PACKAGE CONTENTS
| Part | Description | Quantity |
| A | Back light Analog Pressure Gauge | 1 |
| B | On/Off Power Switch | 1 |
| C | Light Swith | 1 |
| D | 12- Volt Power Cord | 1 |
| E | Wrap-Around Storage for Air Hose | 1 |
| F | 12- Volt Plug-in | 1 |
| G | Mattress Nozzle | 1 |
| H | Sports Needle | 1 |
| I | Pesta Valve Adaptor | 1 |
| J | Connect Valve Adaptor | 1 |
| K | Rubber Air Hose | 1 |
| L | Light | 1 |
Operation – Inflate Tires
- Connecting the inflator
• Remove the 12-Volt inflator from the color box.
• Connect the 12-Volt power cord (D) into a DC 12-Volt power outlet.
• Screw the connect valve adaptor (J) onto the tire air valve until it is securely screwed to the tire air valve.
CAUTION:
Do not over-inflate the item being inflated.
Follow the manufacturer’s suggested PSI levels on the item you are inflating.
- Operating the inflator
• Move the On/Off switch (B) to the I position to turn the inflator on.
Monitor the PSI on the pressure gauge (A) to fill your item to the desired pressure.
• Once you have reached your desired air pressure, move the On/Off switch (B) to the O position.
- Disconnecting the inflator
• Remove the air hose (K) from the tire by screw off the connect valve (J).
• Remove the 12-Volt power cord (D) from the DC 12V-Volt power outlet and allow the inflator to cool.
• Return the inflator and attachments to the color box.
Operation – Inflate Toys and Air Mattresses
- Connecting the inflator
• Remove the 12-Volt inflator from the color box.
• Connect the 12-Volt power cord (D) into a DC 12-Volt Power outlet.
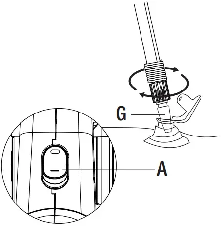
• Select the appropriate inflation accessory (G, H, or I) and screw it onto the end of the connect valve adaptor (J). Make sure that the accessory (G, H, or I) is twist-tight into the connect nozzle (J) so that the airflow to the accessory is not blocked by the tire valve pin inside the connect nozzle (J).
CAUTION:
Do not over-inflate the item being inflated.
Follow the manufacturer’s suggested PSI levels on the item you are inflating.
- Operating the inflator
• Twist the inflation accessory (G, H, or I) into the desire item you are inflating.
• Move the On/Off switch (B) to the I position and inflate your item to the correct pressure.
• Move the On/Off switch (B) to the O position when you are finished inflating to turn the inflator off.
- Disconnecting the inflator
• Remove the inflation accessory (G, H, or I) from the connect valve adaptor (J).
• Remove the 12-Volt power cord (D) from the DC 12-Volt power outlet and allow the inflator to cool.
Operation – Turn On/Off Light
- Remove the 12-Volt inflator from the color box.
- Connect the 12-Volt power cord (D) into a DC 12-Volt Power outlet.
- Press the light switch (C), the light (L) will be turn on with white light, re-press light switch (C), the light (L) will be turn off.

Maintenance
Replacing the fuse
- Unscrew the tip of the 12-Volt plug-in (F).
- Remove the old fuse and replace with a new 15-Amp fuse.
- Reassemble the tip of the 12-Volt plug-in (F).

Care and Cleaning
- Clean the inflator with a non-abrasive slightly damp cloth as needed
Troubleshooting
| Problem | Possible Cause | Solution |
| The unit will not start. | The cord Is not plugged In. | Plug the cord Into a working 12-Volt DC power outlet. |
| The fuse In the 12-Volt DC power cord Is blown. | Replace the 15-Amp fuse In the 12-Volt DC power cord. See Replacing the fuse In the Maintenance section of this document. |
Questions, problems, missing parts?
Before returning to the store, call Husky Customer Service
8 a.m. – 6 p.m., EST, Monday-Friday
1-888-HD-HUSKY
HUSKYTOOLS.COM
Retain this manual for future use.























