401 901 Mini General Purpose Air Compressor Filter
Instruction Manual
Operating Instructions & Parts Manual
Please read and save these instructions. Read carefully before attempting to assemble, install, operate or maintain the product described. Protect yourself and others by observing all safety information. Failure to comply with instructions could result in personal injury and/or property damage! Retain instructions for future reference.
Description
The HUSKY general-purpose filter is designed to remove most liquid and solid particles from the air supply.
Specifications
Max. Temperature . . . . . 125˚ F (52˚ C)
Max. Pressure . . . . . . . . .150 PSI
Air Inlet/outlet . . . . . . . . .1/4 inch
NPT Filter Element . . . . . . . . . 5-micron
Unpacking
After unpacking the unit, inspect carefully for any damage that may have occurred during transit. Make sure to tighten fittings, bolts, etc., before putting the unit into service.
Safety Guidelines
This manual contains information that is very important to know and understand. This information is provided for SAFETY and to PREVENT EQUIPMENT PROBLEMS. To help recognize this information, observe the following symbols.
Danger
Danger indicates an imminently hazardous situation that, if not avoided, will result in death or serious injury.
Warning
Warning indicates a potentially hazardous situation that, if not avoided, could result in death or serious injury. Caution indicates a potentially
CAUTION
CAUTION hazardous situation that, if not avoided, may result in minor or moderate injury.
Notice
The notice indicates important information, that if not followed, may cause damage to equipment.
General Safety Information
This product is a part of a high-pressure system and the following safety precautions must be followed at all times along with any other existing safety rules.
Read this instruction manual before installing this device into the air supply system. Be thoroughly familiar with the controls and the proper use of the equipment.
CALIFORNIA PROPOSITION 65
Warning
This product can expose you to chemicals including lead, which is known to the State of California to cause cancer and birth defects or other reproductive harm. For more information go to www.P65Warnings.ca.gov.
ILLINOIS LEAD POISONING PREVENTION ACT
Warning
CONTAINS LEAD. MAY BE HARMFUL IF EATEN OR CHEWED. COMPLIES WITH FEDERAL STANDARDS.

GENERAL SAFETY
Safety glasses must be worn during operation. ![]()
- Always work in a well-ventilated area.
- Do not exceed any pressure rating of any component in the system.
- Protect airlines from damage and/or punctures.
- Check air hoses for weak or worn conditions before each use. Make sure all connections are secure.
- Keep all nuts, bolts, and screws tight and ensure equipment is in safe working condition.
Danger
This product is specifically designed for compressed air service ONLY. Use with any other material (liquid or gas) is a misapplication and not permitted. Use or injection of certain hazardous liquids or gases in the system (such as oxygen, alcohol, or liquid petroleum gas) will harm the unit and result in a combustible condition or hazardous external leakage. Misapplication will void all warranties and the manufacturer’s responsibilities.
Read and Follow All Instructions
Save These Instructions
Do Not Discard
Installation
Warning
Disconnect power and release all pressure from the system before attempting to install, service, relocate or perform any maintenance.
- Locate the air flow direction arrow on the filter body (See Figure 2). This arrow shows the direction of the air flow and points to the outlet port.
- Securely mount the filter in a vertical position and as close as possible to the air tool connection.
- Verify that the arrow is pointing in the direction of the air flow, i.e. towards the outlet port (See Figure 2).
- For best performance use the same (or larger) pipe/hose ID size as the inlet connection. Avoid using unnecessary fittings, couplings, etc., that restrict airflow.
- Connect the air supply to the inlet port ¼ in. NPT (See Figure 2).

Operation
Before pressurizing the system, make certain the bowl (4) is securely screwed into the filter body (1).
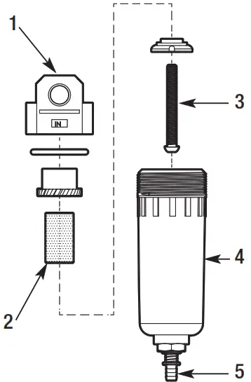
Figure 3
- Filter Body
- Filter Element
- Filter Screw
- Bowl
- Drain Valve
Maintenance
Warning
Release all pressure before attempting to install, service, relocate or perform any maintenance on the air system. Personal injury and/or property damage could occur.
Warning
Always depressurize the unit before removing the bowl. Personal injury and/or property damage could occur. If the bowl is difficult to remove, it may be under pressure.
- Inspect the bowl and replace the unit, if damaged.
- Wipe the bowl with a soft, dry cloth to clean.
- Drain bowl after every use:
a.Reduce regulated pressure down to a maximum of 30 PSI before opening the drain.
b.To avoid spray or splatter, cover the bottom of the filter with a cloth.
c.Push the drain valve (5) up to allow the collected water to escape through the valve and absorb in the cloth. - Clean filter element (2) periodically:
a.Unscrew Bowl (4) from Filter Body (1).
b.Remove filter screw (3).
c.Tap the filter on a hard surface or use an air gun to blow out residual dirt.
d.Reinstall filter element and secure with filter screw.
e.Reinstall filter bowl and turn clockwise until securely screwed into filter body and locked in place.
Technical Service
For parts, products, and service information visit: www.homedepot.com
MATERIALS THAT ATTACK POLYCARBONATE PLASTIC (PARTIAL LISTING)
| Acetaldehyde | Chloroform | Methylene salicylate |
| Acetic acid (concentrated) | Cresol | Milk of lime (CaOH) |
| Acetone | Cyclohexanol | Nitric acid (concentrated) |
| Acrylonitrile | Cyclohexanone | Nitrobenzene |
| Ammonia | Cyclohexene | Nitrocellulose lacquer |
| Ammonium flouride | Dimethyl formamide | Phenol |
| Ammonium hydroxide | Dioxane | Phosphorous hydroxy chloride |
| Ammonium sulfide | Ethane tetrachloride | Phosphorous trichloride |
| Anaerobic adhesives & sealants | Ethyl acetate | Propionic acid |
| Antifreeze | Ethyl ether | Pyridine |
| Benzene | Ethylamine | Sodium hydroxide |
| Benzoic acid | Ethylene chlorohydrin | Sodium sulfide |
| Benzyl alcohol | Ethylene dichloride | Styrene |
| Brake fluids | Ethylene glycol | Sulfuric acid (concentrated) |
| Bromobenzene | Formic acid (concentrated) | Sulfur chloride |
| Butyric acid | Freon (refrig & propel.) | Tetrahydronaphthalene |
| Carbolic acid | Gasoline (high aromatic) | Thiophene |
| Carbon disulfide | Hydrazine | Toluene |
| Carbon tetrachloride | Hydrochloric acid (concentrated) | Turpentine |
| Caustic potash solution | Lacquer thinner | Xylene |
| Caustic soda solution | Methyl alcohol | Perchlorethylene and others |
| Chlorobenzene | Methylene chloride | |
Reminder: Keep your dated proof of purchase for warranty purposes! Attach it to this manual or file it for safekeeping.
Limited Warranty
- DURATION: From the date of purchase by the original purchaser as follows: One (1) Year. https://www.homedepot.com
- WHO RECEIVES THIS WARRANTY (PURCHASER): The original purchaser (other than for purposes of resale) of this Home Depot product.
- WHAT PRODUCTS ARE COVERED BY THIS WARRANTY: This Home Depot air filter.
- WHAT IS COVERED UNDER THIS WARRANTY: Substantial defects in material and workmanship occur within the duration of the warranty period with the exceptions below.
- WHAT IS NOT COVERED UNDER THIS WARRANTY:
A. Implied warranties, including those of merchantability and FITNESS FOR A PARTICULAR PURPOSE ARE LIMITED FROM THE DATE OF ORIGINAL PURCHASE AS STATED IN THE DURATION. If this product is used for commercial, industrial, or rental purposes, the warranty will apply for ninety (90) days from the date of purchase. Some states do not allow limitations on how long an implied warranty lasts, so the above limitations may not apply to you.
B. ANY INCIDENTAL, INDIRECT, OR CONSEQUENTIAL LOSS, DAMAGE, OR EXPENSE THAT MAY RESULT FROM ANY DEFECT, FAILURE, OR MALFUNCTION OF THE HOME DEPOT PRODUCT. Some states do not allow the exclusion or limitation of incidental or consequential damages, so the above limitation or exclusion may not apply to you.
C. Any failure that results from an accident, purchaser’s abuse, neglect, or failure to operate products in accordance with instructions provided in the owner’s manual(s) supplied with the product. Accident, purchaser’s abuse, neglect, or failure to operate products in accordance with instructions shall also include the removal or alteration of any safety devices. If such safety devices are removed or altered, this warranty is void.
D. Normal adjustments are explained in the owner’s manual(s) provided with the product. - RESPONSIBILITIES OF WARRANTOR UNDER THIS WARRANTY: Repair or replace, at Warrantor’s option, products or components which are defective, have malfunctioned, and/or failed to conform within the duration of the specific warranty period.
- RESPONSIBILITIES OF PURCHASER UNDER THIS WARRANTY:
A. Provide dated proof of purchase and maintenance records. to obtain your warranty service options. Freight costs must be borne by the purchaser.
B. https://www.homedepot.com
C. Use reasonable care in the operation and maintenance of the products as described in the owner’s manual(s). - WHEN WARRANTOR WILL PERFORM REPAIR OR REPLACEMENT UNDER THIS WARRANTY: Repair or replacement will be scheduled and serviced according to the normal work flow at the servicing location, and depending on the availability of replacement parts.
This Limited Warranty applies in the United States only and gives you specific legal rights. You may also have other rights which vary from state to state or country to country.




















