Baker Hughes Masoneilan 78 Series Air Filter Regulator Instruction Manual
Introduction
THESE INSTRUCTIONS PROVIDE THE CUSTOMER/OPERATOR WITH IMPORTANT PROJECT SPECIFIC REFERENCE INFORMATION IN ADDITION TO THE CUSTOMER/OPERATOR’S NORMAL OPERATION AND MAINTENANCE PROCEDURES. SINCE OPERATION AND MAINTENANCE PHILOSOPHIES VARY, BAKER HUGHES COMPANY (AND ITS SUBSIDIARIES AND AFFILIATES) DOES NOT ATTEMPT TO DICTATE SPECIFIC PROCEDURES, BUT TO PROVIDE BASIC LIMITATIONS AND REQUIREMENTS CREATED BY THE TYPE OF EQUIPMENT PROVIDED.
THESE INSTRUCTIONS ASSUME THAT OPERATORS ALREADY HAVE A GENERAL UNDERSTANDING OF THE REQUIREMENTS FOR SAFE OPERATION OF MECHANICAL AND ELECTRICAL EQUIPMENT IN POTENTIALLY HAZARDOUS ENVIRONMENTS. THEREFORE, THESE INSTRUCTIONS SHOULD BE INTERPRETED AND APPLIED IN CONJUNCTION WITH THE SAFETY RULES AND REGULATIONS APPLICABLE AT THE SITE AND THE PARTICULAR REQUIREMENTS FOR OPERATION OF OTHER EQUIPMENT AT THE SITE.
THESE INSTRUCTIONS DO NOT PURPORT TO COVER ALL DETAILS OR VARIATIONS IN EQUIPMENT NOR TO PROVIDE FOR EVERY POSSIBLE CONTINGENCY TO BE MET IN CONNECTION WITH INSTALLATION, OPERATION OR MAINTENANCE. SHOULD FURTHER INFORMATION BE DESIRED OR SHOULD PARTICULAR PROBLEMS ARISE WHICH ARE NOT COVERED SUFFICIENTLY FOR THE CUSTOMER/OPERATOR’S PURPOSES THE MATTER SHOULD BE REFERRED TO BAKER HUGHES.
THE RIGHTS, OBLIGATIONS AND LIABILITIES OF BAKER HUGHES AND THE CUSTOMER/ OPERATOR ARE STRICTLY LIMITED TO THOSE EXPRESSLY PROVIDED IN THE CONTRACT RELATING TO THE SUPPLY OF THE EQUIPMENT. NO ADDITIONAL REPRESENTATIONS OR WARRANTIES BY BAKER HUGHES REGARDING THE EQUIPMENT OR ITS USE ARE GIVEN OR IMPLIED BY THE ISSUE OF THESE INSTRUCTIONS.
THESE INSTRUCTIONS ARE FURNISHED TO THE CUSTOMER/OPERATOR SOLELY TO ASSIST IN THE INSTALLATION, TESTING, OPERATION, AND/OR MAINTENANCE OF THE EQUIPMENT DESCRIBED. THIS DOCUMENT SHALL NOT BE REPRODUCED IN WHOLE OR IN PART WITHOUT THE WRITTEN APPROVAL OF BAKER HUGHES.
Safety Information
Important – Please read before installation
These instructions contain DANGER, WARNING, and CAUTION labels, where necessary, to alert you to safety related or other important information. Read the instructions carefully before installing and maintaining your control valve. DANGER and WARNING hazards are related to personal injury. CAUTION hazards involve equipment or property damage. Operation of damaged equipment can, under certain operational conditions, result in degraded process system performance that can lead to injury or death. Total compliance with all DANGER, WARNING, and CAUTION notices is required for safe operation.
This is the safety alert symbol. It alerts you to potential personal injury hazards. Obey all safety messages that follow this symbol to avoid possible injury or death.
Danger
Indicates a potentially hazardous situation which, if not avoided, could result in death or serious injury.
Warning
Indicates a potentially hazardous situation which, if not avoided, could result in serious injury.
Caution
Indicates a potentially hazardous situation which, if not avoided, could result in minor or moderate injury
Caution
When used without the safety alert symbol, indicates a potentially hazardous situation which, if not avoided, could result in property damage.
Note: Indicates important facts and conditions.
About this Manual
- The information in this manual is subject to change without prior notice.
- The information contained in this manual, in whole or part, shall not be transcribed or copied without Baker Hughes’s written permission.
- Please report any errors or questions about the information in this manual to your local supplier.
- These instructions are written specifically for the model 78 air filter regulator, and do not apply for other valves outside of this product line.
Product Description
The Model 78 Series pressure regulators are compact, lightweight, high-performance pressure reducing instruments. They are used primarily for supplying a stable source of air to process control equipment such as current to pneumatic transducers and control valve positioned.
Numbering System
| Model No. | Pressure Range | Description |
| 78-4 | 5-40 psi (35-280 kPa), (0.35-2.8 bar) | Air Loading with Relief and Filter |
| 78-40 | 5-100 psi (35-700 kPa), (0.35-7 bar) | Air Loading with Relief and Filter |
Specifications
| Inlet Pressure Rating | 210 psi (1.5 MPa, 15 bar) maximum |
| Pressure Set Range | 5-40 psi (35-280 kPa, 0.35-2.8 bar)5-100 psi (35-700 kPa, 0.35-7 bar) |
| Connection | 1/4 NPT |
| Rated Cv | 0.25 |
| Filter Element | Sintered Porous Polyethylene (5μ) |
| Ambient Temperature Range | -40° to +83°C (-40° to +182°F) |
| Low Temperature Range | -50°C to +60°C (-58°F to 140°F) |
| High Temperature Range | 0°C to 100°C (32°F to 212°F) |
| Air Consumption | 0.004 scfm (100 sccm) |
| Weight | 14 oz. (0.4 kg) |
| Materials of Construction | See Table next page |
WARNING
Do not install this Regulator in air lines which exceed 210 psi (1.5 MPa, 15 bar) pressure.
Certifications
This instrument is certified in:
- Azerbaijan (AzSERTCENTER)
- Armenia
- Belarus
- Kazakhstan
- Russian Federation (CU-TR Ex)
- Uzbekistan (UZSTANDART)
- and is also ATEX compliant.
Installation
Clean the lines thoroughly to remove all dirt, scale or other foreign matter before installing the regulator. Install with flow in direction of flow arrows on regulator body. The airset should be installed with the drain cock facing down. Regulator should be installed as close as possible to device utilizing the reduced pressure to minimize pressure drop. Do not use piping or tubing smaller than the regulator connections since this will restrict flow and reduce capacity.
It is recommended that pressure gauges be installed on the inlet and outlet sides of the regulator as an aid in adjusting the pressure and in monitoring of working pressures.
Operation
Prior to applying supply pressure, loosen knob lock screw and turn pressure set knob counterclockwise. Turn on supply pressure. Output pressure should be zero. Slowly rotate set knob clockwise until desired pressure is reached. Tighten knob locking screw to ensure that pressure remains set at desired value. When changing output from a higher to lower pres¬sure, initially go to lower than desired pressure, then increase to desired pressure. Re-tighten knob lock-screw.
Maintenance
It is recommended that the drain cock be opened at regular intervals to drain any fluid that may have collected in the dripwell. The interval between draining will have to be determined based on the actual rate of accumulation of fluid.
It is recommended that pressure gauges be installed on the inlet and outlet sides of the regulator as an aid in adjusting the pressure and in monitoring of working pressures.
WARNING
The relief valve feature should not be confused with any auxiliary safety valve which might be needed for complete protection of air operated equipment. It is intended only to provide more uniform controlled pressure and to permit adjusting the outlet pressure downward without venting the line.
WARNING
Prior to performing maintenance on the regulator, shut off the inlet and outlet pressures and remove the spring compression by turning the setting knob fully counterclockwise. Open the drain cock carefully to relieve any retained pressure and drain the drip well. It is recommended that the regulator be removed from the line for repairs.
CAUTION
When draining the drip well, open the drain cock slowly and collect the fluid in a suitable container for safe disposal.
NOTE:
- Considering the high labor costs involved in replacing internal parts, it may be more economical to stock complete units.
- Care must be taken to avoid damage to the plug and stem assembly.
Troubleshooting
If at any time the regulator fails to function properly it is recommended to replace rather than repair the device.
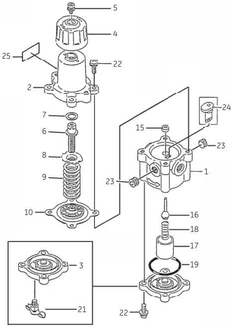
Parts List and Materials of Construction
| No. | Part | Standard Material |
| 1 | Body | Aluminum Die Casting |
| 2 | Spring Casing | Aluminum Die Casting |
| 3 | Bottom Cap | Aluminum Die Casting |
| 4 | Knob | VALOX 420 |
| 5 | Lock Screw | Stainless Steel |
| 6 | Adjusting Screw | Stainless Steel |
| 7 | Spacer | VALOX 420 |
| 8 | Spring Button | Zn-Cr Plated Carbon Steel |
| 9 | Spring | Coated Spring Steel |
| 101 | Diaphragm | NBR |
| 15 | Plug Guide | VALOX 420 |
| 161 | Plug | Neoprene/416 Stainless Steel |
| 171 | Filter | Sintered Polyethylene |
| 181 | Port Spring | Stainless Steel |
| 191 | “O”-Ring | NBR |
| – | ||
| 21 | Drain Cock | Stainless Steel |
| 22 | Screw | Stainless Steel |
| 23 | Pipe Plug | Zinc Plated Carbon Steel |
| 24 | Aspirator | VALOX 420 |
| 25 | Nameplate | Aluminum |

Dimensions

Cut-Away View of 78 Series Pressure Regulator

Warranty
Items sold by Baker Hughes are warranted to be free from defects in materials and workmanship for a period of one year from the date of shipment provided said items are used according to Baker Hughes recommended usages. Baker Hughes reserves the right to discontinue manufacture of any product or change product materials, design or specifications without notice.
Note: Prior to installation:
- The valve must be installed, put into service and maintained by qualified and competent professionals who have undergone suitable training.
- All surrounding pipe lines must be thoroughly flushed to ensure all entrained debris has been removed from the system.
- Under certain operating conditions, the use of damaged equipment could cause a degradation of the performance of the system which may lead to personal injury or death.
- Changes to specifications, structure, and components used may not lead to the revision of this manual unless such changes affect the function and performance of the product.
Direct Sales Office Locations
Australia
Brisbane
Phone: +61-7-3001-4319
Perth
Phone: +61-8-6595-7018
Melbourne
Phone: +61-3-8807-6002
Brazil
Phone: +55-19-2104-6900
China
Phone: +86-8400-7888
France
Courbevoie
Phone: +33-1-4904-9000
India
Mumbai
Phone: +91-22-8354790
New Delhi
Phone: +91-11-2-6164175
Italy
Phone: +39-081-7892-111
Japan
Tokyo
Phone: +81-03-6871-9008
Korea
Phone: +82-31-620-1736
Malaysia
Phone: +60-3-2161-03228
Mexico
Phone: +52-55-3640-5060
Russia
Veliky Novgorod
Phone: +7-8162-55-7898
Moscow
Phone: +7-495-585-1276
Saudi Arabia
Phone: +966-3-341-0278
Singapore
Phone: +65-6861-6100
South Africa
Phone: +27-83-387-9300
South & Central
America and the Caribbean
Phone: +55-12-2134-1201
Spain
Phone: +34-935-877-605
United Arab Emirates
Phone: +971-4-8991-777
United Kingdom
Phone: +44-7919-382-156
United States
Houston, Texas
Phone: +1-713-966-3600
Find the nearest local Channel Partner in your area:
valves.bakerhughes.com/contact-us
Tech Field Support & Warranty
Phone: +1-866-827-5378
[email protected]
Copyright 2021 Baker Hughes Company. All rights reserved. Baker Hughes provides this information on an “as is” basis for general information purposes. Baker Hughes does not make any representation as to the accuracy or completeness of the information and makes no warranties of any kind, specific, implied or oral, to the fullest extent permissible by law, including those of merchantability and fitness for a particular purpose or use. Baker Hughes hereby disclaims any and all liability for any direct, indirect, consequential or special damages, claims for lost profits, or third party claims arising from the use of the information, whether a claim is asserted in contract, tort, or otherwise. Baker Hughes reserves the right to make changes in specifications and features shown herein, or discontinue the product described at any time without notice or obligation. Contact your Baker Hughes representative for the most current information. The Baker Hughes logo and Masoneilan are trademarks of Baker Hughes Company. Other company names and product names used in this document are the registered trademarks or trademarks of their respective owners.



















