MERLIN 58547 Industrial Air Filter Regulator
WARNING SYMBOLS AND DEFINITIONS
- This is the safety alert symbol. It is used to alert you to potential personal injury hazards. Obey all safety messages that follow this symbol to avoid possible injury or death.
- Indicates a hazardous situation which, if not avoided, will result in death or serious injury.
- Indicates a hazardous situation which, if not avoided, could result in death or serious injury.
- Indicates a hazardous situation which, if not avoided, could result in minor or moderate injury.
- Addresses practices not related to personal injury.
IMPORTANT SAFETY INSTRUCTIONS
WARNING Read all safety warnings and instructions.
Failure to follow the warnings and instructions may result in electric shock, fire and/or serious injury. Save all warnings and instructions for future reference. The warnings, precautions, and instructions discussed in this instruction manual cannot cover all possible conditions and situations that may occur. It must be understood by the operator that common sense and caution are factors which cannot be built into this product, but must be supplied by the operator.
- Work area safety
- Keep work area clean and well lit. Cluttered or dark areas invite accidents.
- Keep children and bystanders away from an operating Filter/Regulator.
- Personal safety
- Stay alert, watch what you are doing and use common sense when operating this Filter/Regulator. Do not use this Filter/Regulator while you are tired or under the influence of drugs, alcohol or medication. A moment of inattention while operating a Filter/Regulator may result in serious personal injury.
- Use personal protective equipment. Always wear ANSI-approved eye protection during setup and use.
- Filter/Regulator use and care
- Store an idle Filter/Regulator out of the reach of children and do not allow persons unfamiliar with the Filter/Regulator or these instructions to operate it.
- Maintain the Filter/Regulator. Keep the Filter/Regulator clean for better and safer performance. Follow instructions for lubricating and changing accessories. Keep dry, clean and free from oil and grease. Check for misalignment or binding of moving parts, breakage of parts and any other condition that may affect the Filter/Regulator’s operation. If damaged, have the Filter/Regulator repaired before use.
- Use the Filter/Regulator in accordance with these instructions, taking into account the working conditions and the work to be performed. Use of the Filter/Regulator for operations different from those intended could result in a hazardous situation.
- Service
- Have your Filter/Regulator serviced by a qualified repair person using only identical replacement parts. This will ensure that the safety of the Filter/Regulator is maintained.
Air Filter/Regulator Safety Warnings
- Risk of bursting – do not adjust Filter/Regulator higher than marked maximum pressure of attachment.
- Risk of injury – do not direct air stream at people or animals.
- Do not use to supply breathing air.
- Keep Filter/Regulator well-ventilated. Do not cover Filter/Regulator during use.
- Drain Air Filter daily and after use. Internal rust causes tank failure and explosion.
- Do not remove the valve cover or adjust internal components.
- Do not use the air hose to move the Filter/Regulator.
- The use of accessories or attachments not recommended by the manufacturer may result in a risk of injury to persons.
- All air line components, including hoses, pipe, connectors, filters, etc., must be rated for a minimum working pressure of 200 PSI, or 150% of the maximum system pressure, whichever is greater.
- Industrial applications must follow OSHA guidelines.
- Maintain labels and nameplates on the Filter/Regulator. These carry important safety information. If unreadable or missing, contact Harbor Freight Tools for a replacement.
- This product is not a toy. Keep it out of reach of children.
- People with pacemakers should consult their physician(s) before use. Electromagnetic fields in close proximity to heart pacemaker could cause pacemaker interference or pacemaker failure.
Specifications
| Operating Pressure | 0 -200 PSI |
| Max Temperature | 150° F (regulator) |
| Air Inlet and Outlet Size | Inlet: 1/2″ -14 NPT (female thread) |
| Outlet: 1/4″-18 NPT (male thread) | |
| Features | Replaceable air filter element |
| Filter | 5 micron, for particles and water |
Installation
Read the ENTIRE IMPORTANT SAFETY INFORMATION section at the beginning of this manual including all text under subheadings therein before set up or use of this product.
Note:
- For additional information regarding the parts listed in the following pages, refer to the Assembly Diagram near the end of this manual.
- This air tool may be shipped with protective plugs covering the air ports. Remove these plugs before set up.
TO PREVENT SERIOUS INJURY FROM EXPLOSION:
Use only clean, dry, regulated, compressed air to power this tool. Do not use oxygen, carbon dioxide, combustible gases, or any other bottled gas as a power source for this tool.
Functions

- Thread the Regulator Handle into the Filter/Regulator only a couple of turns. Do not tighten it. Tightening it will set the Filter/Regulator to high pressure, possibly causing property damage when first connecting the air supply.
- Incorporate an in-line shutoff valve, and quick coupler for best service, as shown on Figure A on page 6 and Figure B on page 7. An in-line shutoff ball valve is an important safety device because it controls the air supply even if the air hose is ruptured. The shutoff valve should be a ball valve because it can be closed quickly.
Note: Wrap all threaded connectors before connecting them with pipe thread seal tape (PTFE) to prevent leaking. - 3. Attach an air hose to the compressor’s air outlet.Connect the air hose to the Air Inlet of the unit.
Note: Air flow, and therefore tool performance, can be hindered by undersized air supply components. - Close the in-line shutoff valve between the compressor and the tool.
- Turn on the air compressor according to the manufacturer’s directions and allow it to build up pressure until it cycles off.
- Inspect the air connections for leaks. Repair any leaks found.
Air Connection Setup
- Connect the Filter/Regulator, an in line shut off valve and a 1/4″ NPT air hose to the Compressor’s Quick Coupler as outlined in Step #3 of Installation. Next, add an air hose from the outlet of the Filter/Regulator to the air tool in the work area. The air hose must be long enough to reach the work area with enough extra length to allow free movement while working.
- Depending on the tool that will be used with this Filter/Regulator, incorporate additional components, such as an in-line oiler, a filter, or a dryer
(all sold separately), as shown on Figure A on page 6 and Figure B on page 7. Consult air tool’s manual for needed accessories.
Note: An in-line shutoff ball valve is an important safety device because it controls the air supply even if the air hose is ruptured. The shutoff valve should be a ball valve because it can be closed quickly.
SETUP
Portable Air Supply Setup

| Description | Function | |
| A | Air Hose | Connects air to tool |
| B | Filter | Prevents dirt and condensation from damaging tool or workpiece |
| C | Regulator | Adjusts air pressure to tool |
| D | Lubricator (optional) | For air tool lubrication |
| E | Coupler and Plug | Provides quick connection and release |
| F | Leader Hose (optional) | Increases coupler life |
| G | Air Cleaner / Dryer (optional) | Prevents water vapor from damaging workpiece |
| H | Air Adjusting Valve (optional) | For fine tuning airflow at tool |
Stationary Air Supply Setup
| Description | Function | |
| A | Vibration Pads | For noise and vibration reduction |
| B | Anchor Bolts | Secures air compressor in place |
| C | Ball Valve | Isolates sections of system for maintenance |
| D | Isolation Hose | For vibration reduction |
| E | Main Air Line – 3/4″ minimum recommended | Distributes air to branch lines |
| F | Ball Valve | To drain moisture from system |
| G | Branch Air Line -1/2″ minimum recommended | Brings air to point of use |
| H | Air Hose | Connects air to tool |
| I | Filter | Prevents dirt and condensation from damaging tool or workpiece |
| J | Regulator | Adjusts air pressure to tool |
| K | Lubricator (optional) | For air tool lubrication |
| L | Coupler and Plug | Provides quick connection and release |
| M | Leader Hose (optional) | Increases coupler life |
| N | Air Cleaner / Dryer (optional) | Prevents water vapor from damaging workpiece |
| O | Air Adjusting Valve (optional) | For fine tuning airflow at tool |
Read the ENTIRE IMPORTANT SAFETY INFORMATION section at the beginning of this manual including all text under subheadings therein before set up or use of this product.
Filter/Regulator Area Set Up
Designate a work area that is clean and well-lit. The work area must not allow access by children or pets to prevent injury.
General Operation
Note: At the beginning of the day’s first use of the Filter/Regulator, check for air leaks by applying soapy water to connections while the Filter/Regulator
is pumping and after pressure cut-out. Look for air bubbles. If air bubbles are present at connections, tighten connections. Do not use the Filter/Regulator unless all connections are air tight, the extra air leaking out will cause the regulator to operate too often, increasing wear on the regulator.
WARNING!
TO PREVENT SERIOUS INJURY AND DEATH FROM EXPLOSION:
Do not exceed 200 PSI
- Adjust the Regulator Handle so that the air output is enough to properly power the tool, but the output will not exceed the tool’s maximum air pressure at any time. Turn the knob clockwise to increase the pressure and counter-clockwise to decrease pressure. Adjust the pressure gradually, while checking the air output gauge to set the pressure.
- Connector air hose to tool’s Air Outlet.
- Make sure the air tool’s throttle or switch is in the off position. Connect the air tool to the air hose.
- Open the in-line Shutoff Valve.
- Use the air tool as needed.
- After the job is complete, turn the compressor’s Power Switch OFF.
- Disconnect the Filter/Regulator.
- Close the in-line Shutoff Valve.
- Bleed air from the tool then disconnect the tool.
- Drain the Filter/Regulator of water daily. With the unit under pressure, open the Drain Plug to expel any accumulated moisture from the Air Filter.
- Clean, then store the Filter/Regulator indoors.
Maintenance and Servicing
Procedures not specifically explained in this manual must be performed only by a qualified technician.
WARNING
TO PREVENT SERIOUS INJURY FROM ACCIDENTAL OPERATION:
Turn the Power Switch “OFF” and unplug the Filter/Regulator from its electrical outlet before performing any inspection, maintenance, or cleaning procedures.
TO PREVENT SERIOUS INJURY FROM FILTER/REGULATOR FAILURE:
Do not use damaged equipment. If abnormal noise or vibration occurs, have the problem corrected before further use.
Cleaning, Maintenance, and Lubrication
- BEFORE EACH USE, inspect the general condition of the Filter/Regulator. Check for:
- loose hardware,
- misalignment or binding of moving parts,
- cracked or broken parts,
- damaged electrical wiring, and
- any other condition that mayaffect its safe operation.
Maintenance Schedule
- AFTER USE, wipe external surfaces of the Filter/Regulator with a clean cloth.
- WARNING! TO PREVENT SERIOUS INJURY: If the supply cord of this Filter/Regulator is damaged, it must be replaced only by a qualified service technician.
Following are general guidelines for maintenance checks of the Filter/Regulator.
Note: The environment in which the Filter/Regulator is used, and the frequency of use will affect how often you will need to check the Filter/Regulator components and perform maintenance procedures.
Daily:
- Make sure all nuts and bolts are tight.
- Drain moisture from air tank.
- Check for abnormal noise or vibration.
- Check for air leaks.
- o check for air leaks, apply soapy water
- joints while the Filter/Regulator is pressurized. Look for air bubbles.
- Wipe off any oil or dirt from the Filter/Regulator.
- clean the Filter/Regulator surface,
- wipe with a damp cloth, using a
- mild detergent or mild solvent.
Weekly:
Inspect Air Filter. Quarterly (every 3 months):
Tool Disassembly, Cleaning, and Inspection: Have the internal mechanism cleaned, inspected, and lubricated by a qualified technician.
Air Filter Maintenance
Check the Air Filter weekly to see if it needs replacement. Replace the filter more often if Filter/Regulator is used in dirty environments.
Periodically remove the Filter, rinse it out with water and put it back in.
- To access the Air Filter:
- Loosen the bottom Filter/Regulator Valve until pressure is at zero.
- Remove all four screws from the Bottle Lid.
- Pull off the Tank, exposing the Filter Assembly.
- Disassemble the Filter Assembly using figure to the right as reference. Keep track of assembly
- Remove the Filter.
- Check that the Washer and Shield are in place, and replace with a new Filter.
- Reassemble Filter Assembly according to assembly order shown.
- Place Retainer back on Rod Assembly and Filter. Thread on bottom Nut and tighten.
- Use the four screws to reconnect the
- Reconnect Filter/Regulator Valve.
Note: Retainer must be tight against the Filter. If it is loose, the Filter will not function.
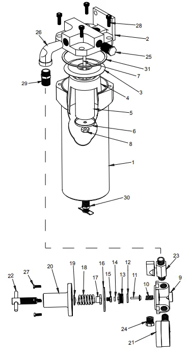
Parts List and Diagram
PLEASE READ THE FOLLOWING CAREFULLY
THE MANUFACTURER AND/OR DISTRIBUTOR HAS PROVIDED THE PARTS LIST AND ASSEMBLY DIAGRAM IN THIS MANUAL AS A REFERENCE TOOL ONLY. NEITHER THE MANUFACTURER OR DISTRIBUTOR MAKES ANY REPRESENTATION OR WARRANTY OF ANY KIND TO THE BUYER THAT HE OR SHE IS QUALIFIED TO MAKE ANY REPAIRS TO THE PRODUCT, OR THAT HE OR SHE IS QUALIFIED TO REPLACE ANY PARTS OF THE PRODUCT. IN FACT, THE MANUFACTURER AND/OR DISTRIBUTOR EXPRESSLY STATES THAT ALL REPAIRS AND PARTS REPLACEMENTS SHOULD BE UNDERTAKEN BY CERTIFIED AND LICENSED TECHNICIANS, AND NOT BY THE BUYER. THE BUYER ASSUMES ALL RISK AND LIABILITY ARISING OUT OF HIS OR HER REPAIRS TO THE ORIGINAL PRODUCT OR REPLACEMENT PARTS THERETO, OR ARISING OUT OF HIS OR HER INSTALLATION OF REPLACEMENT PARTS THERETO.
Parts List
| Part | Description | Qty |
| 1 | Tank | 1 |
| 2 | Bottle Lid | 1 |
| 3 | Washer | 1 |
| 4 | Shield | 1 |
| 5 | Filter | 1 |
| 6 | Retainer | 1 |
| 7 | Rod Assembly | 1 |
| 8 | Nut | 1 |
| 9 | Air Body | 1 |
| 10 | Valve Spring | 1 |
| 11 | Valve | 1 |
| 12 | Valve Seat | 1 |
| 13 | Valve Body | 1 |
| 14 | Gasket | 1 |
| 15 | Screw | 1 |
| 16 | Gasket | 1 |
| Part | Description | Qty |
| 17 | Nut | 1 |
| 18 | Pressure Spring | 1 |
| 19 | Washer | 1 |
| 20 | Regulator | 1 |
| 21 | Pressure Gauge | 1 |
| 22 | Regulator Handle | 1 |
| 23 | Shut Off Valve/Air Outlet | 1 |
| 24 | Plug | 1 |
| 25 | Plug | 1 |
| 26 | Elbow | 1 |
| 27 | Screw | 4 |
| 28 | Screw | 4 |
| 29 | Male Connector | 1 |
| 30 | Filter/Regulator Valve | 1 |
| 31 | Gasket | 1 |
Record Product’s Serial Number Here:
Note:
- If product has no serial number, record month and year of purchase instead.
- Some parts are listed and shown for illustration purposes only, and are not available individually as replacement parts. Specify UPC 193175441348 when ordering parts.
Diagram
Limited 90 Day Warranty
Harbor Freight Tools Co. makes every effort to assure that its products meet high quality and durability standards, and warrants to the original purchaser that this product is free from defects in materials and workmanship for the period of 90 days from the date of purchase. This warranty does not apply to damage due directly or indirectly, to misuse, abuse, negligence or accidents, repairs or alterations outside our facilities, criminal activity, improper installation, normal wear and tear, or to lack of maintenance. We shall in no event be liable for death, injuries to persons or property, or for incidental, contingent, special or consequential damages arising from the use of our product. Some states do not allow the exclusion or limitation of incidental or consequential damages, so the above limitation of exclusion may not apply to you.
THIS WARRANTY IS EXPRESSLY IN LIEU OF ALL OTHER WARRANTIES, EXPRESS OR IMPLIED, INCLUDING THE WARRANTIES OF MERCHANTABILITY AND FITNESS.
To take advantage of this warranty, the product or part must be returned to us with transportation charges prepaid. Proof of purchase date and an explanation of the complaint must accompany the merchandise. If our inspection verifies the defect, we will either repair or replace the product at our election or we may elect to refund the purchase price if we cannot readily and quickly provide you with a replacement. We will return repaired products at our expense, but if we determine there is no defect, or that the defect resulted from causes not within the scope of our warranty, then you must bear the cost of returning the product. This warranty gives you specific legal rights and you may also have other rights which vary from state to state.























