DAYTON AUDIO MKBOOM Portable Bluetooth Powered Speaker Kit

Model: MKBOOM
Thank you for purchasing the MKBoom kit. This kit includes an easy to assemble cabinet and high-performance components that will put a DIY smile on your face no matter your skill level. With a little time and patience, your finished product will provide years of enjoyment. Please follow these instructions for the best possible results.
Suggested tools and consumables
- Drill
- Rag or paper towels
- 5/64″ drill bit
- Solder
- Wood clamps (you can never have too many of these)
- Soldering iron
- Sanding block and/or electric finishing sander
- #2 Phillips screw driver
- Wood glue
- 3mm/1/8″ heat shrink tubing
Package contents
- MKBoom cabinet
- 2 x Dayton Audio TCP115-4 4″ Treated Paper Cone Mid-Bass Woofer 4 ohm
- 2 x Dayton Audio TD20F-4 3/4″ Soft Dome Neodymium Tweeter 4 ohm
- Dayton Audio KAB-250v4 2 x 50W Class D Audio Amplifier Board with Bluetooth 5.0
- Dayton Audio KAB-BE 18650 Battery Extension Board
- Dayton Audio KAB-PMV3 Panel Mount with Function, LED, and Install Kit
- 18650 2600mAh Li-Ion Flat Top Battery 3-Pack
- 2 x Press Fit Port Tubes
- 2 x 2-way Pre Wired Crossover Boards
- PC Board M3 Standoff Kit with 4 pcs 16mm Stud / 4 pcs 10mm Stud / 2 pcs Phillips Screws
- #6 x 3/4″ Deep Thread Pan Head Screws Black 16 Pcs.
- 15V 4A DC Power Supply AC Adapter with 2.1 x 5.5mm Center Positive (+) Plug
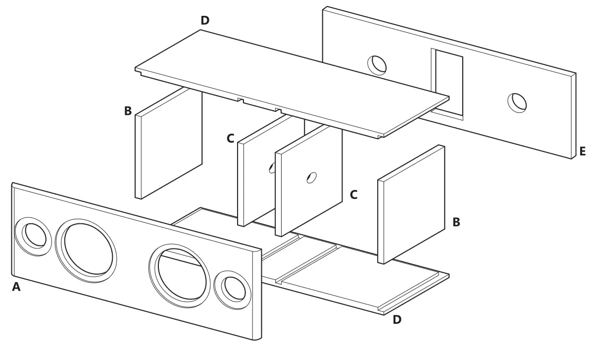
Enclosures

Enclosure Assembly
- First, set the enclosure parts out on a flat level surface and ensure that all pieces are free of dust and debris.
- With the bottom panel lying flat, glue the internal walls in place making sure the front edges are flush with the front of the bottom panel.

- Next, glue the front baffle in place assuring all edges line up and are flush, and the internal walls fit into their dados. Clamp in place and allow glue to dry per glue manufacturers recommendations.

- Once glue is dry, glue in side and rear panels as shown below. Ensuring all outside edges are flush, clamp and let glue dry as per glue manufacturer’s recommendations.

- Next, locate the two 2-way Pre-Wired Crossover Boards. Cut the small white connector off of the red and black wires and strip the wires back roughly 1/2″.

- Once the glue is dry you can install a crossover board into each speaker cavity using four #6 x 3/4″ Deep Thread Pan Head Screws Black. We recommend placing them in the center of the bottom panel inside each left/right enclosure. Ensure that each foam-wrapped speaker wire lead can reach the holes in the baffle. The red (+) and black (-) wires go to the woofer, the blue (+) and black (-) wires go to the tweeter. The crossovers can be secured with the included wood screws. BE CAREFUL NOT TO OVERTIGHTEN SCREWS.
- Remove the 4-conductor Speaker Wire Harness from the amplifier package (#1 in the amplifier wiring diagram) and feed the two +/- conductors into each speaker chamber through the small holes in the internal walls. Leave enough slack in the center cavity to be able to plug the harness into the amplifier, roughly 8-10″.
- Using the wiring diagram below, solder the left and right channels of the wire harness to each crossover observing polarity. Use heat shrink to cover the soldered connections.

- Use a hot glue gun, caulk, or even poster tack to seal up the through-holes in the internal walls.

- Once this is complete you are ready to glue the Top Panel on the enclosure. Clamp it securely and allow it to dry per the glue manufacturers recommendations.

- This is a good point to apply your chosen finish on the enclosures. Sand all surfaces and make sure all seams are sanded smooth to ensure a quality final product.
Amplifier Panel Assembly
- Begin by emptying the contents of the KAB-PMV3 Panel Mount with Function, LED, and Install Kit. First install the four 60mm Silver Standoffs on the back of the Precut Panel using four Black M3 x 6 mm Cap Head Screws as shown below. Tighten screws with the included Hex (Allen) Wrench.

- Insert the Power (green/black wires), Bluetooth (blue/black wires), and Charging (red/black wires) LED’s into the panel by removing the nut and lock washer from each LED and insert, wire first, through the corresponding holes in the front of the panel. Add a lock washer then nut to each LED and secure nuts with included Wrench.

- Locate the Aux Input And Cable and Push Button And Cable For Bluetooth Pairing. Remove the nuts and washers and install into the corresponding holes in the panel. Use fingers or needle nose pliers to tighten nuts.

- Locate the Volume Control, Knob, and 6 Conductor Cable. Pull off the knob, remove the nut and washer, and plug one end of the cable into the corresponding cable on the volume control. Insert the volume control into the corresponding hole from the back of the panel and install the washer then nut. Tighten the nut using the included wrench. Turn the splined shaft on the knob all the way to the left and attach the knob so it is pointing at the bottom left hash mark.
Tip: The volume control is keyed. Make sure the volume control is installed properly so it sits flat and will not spin freely.
- Locate the On-Off Switch And Cable and DC Input And Cable. Remove the nut and lock washer from the DC input and install the jack in the corresponding hole in the panel. Add the lock washer then nut and tighten nut using the supplied wrench. Install the On-Off switch through the front of the panel and press until it snaps into place.
Tip: The On-Off switch is keyed and can only be installed one way.
- Remove the 2 black jumpers from pins 1,2 and 5,6 from the 6 pin “Volume Control” connector on the KAB-250v4 2 x 50W Class D Audio Amplifier Board with Bluetooth 5.0.
Tip: The connectors on the on the KAB-250v4 amplifier are labeled on the back of the board.
- Remove the 4 Conductor Cable from the KAB-BE 18650 Battery Extension Board. This will be used in the next step.
- Following the guide below, connect all of the cables from the mounting plate to the KAB-250v4 2 x 50W Class D Audio Amplifier Board with Bluetooth 5.0. Work with one cable at a time to try to prevent getting the wires tangled together.

Note: The 5-pin Aux In connector and Power Led connector need to be plugged into the same 10-pin jack as shown below.
- Locate the four 22mm Silver Standoffs in the PC Board M3 Standoff Kit. Have these ready for the next step.
- Hold the KAB-250v4 2 x 50W Class D Audio Amplifier Board with the connectors/heatsink pointing down and the Precut Panel hanging freely. Keep the 4 conductor cable for the KAB-BE 18650 Battery Extension Board separate from the other wires.
a. Carefully twist the Precut Panel 4-5 complete revolutions while slowly lowering the KAB-250v4 towards the standoffs installed on the panel. Be sure to keep all wires inside of the standoffs.
b. Line up the four holes in the KAB-250v4 with the standoffs in the panel.
c. Thread the four 22mm Silver Standoffs, through the KAB-250v4, into the 60mm standoffs installed in the Precut Panel.
- Install the KAB-BE 18650 Battery Extension Board to the four 22mm Silver Standoffs with the four Silver M3 x 6 mm Cap Head Screws from the KAB-PMV3 Panel Mount Kit hardware. Tighten screws with the included Hex (Allen) Wrench.

- Plug the 4 conductor cable into any of the 4-pin connectors on the KAB-BE 18650 Battery Extension Board.
- Peel off the backing on the self-adhesive Gasket Tape and apply to the back side of the KAB-PMV3 plate. Trim any excess with a knife or scissors.
- Install the three 18650 2600mAh Li-Ion Flat Top Batteries into the KAB-BE 18650 Battery Extension Board.
Important: Be sure to verify proper polarity when installing batteries. Polarity is marked on the black battery holders and on the circuit board.Final Assembly
- Install the Press Fit Port Tubes into the rear of the enclosure. These simply press-fit into place. You may need to use a hammer or mallet to fully seat the ports in the recess (use scrap wood to protect the port if using a hammer).
- Install the amplifier/battery assembly.
a. Connect the four conductor speaker lead you previously installed in the enclosure to the speaker output on the KAB-250v4 amplifier.
b. Carefully install the amplifier/battery assembly into the opening in the rear of the enclosure. Pay special attention to the 4 conductor cable connected to the KAB-BE 18650 Battery Extension Board during installation.
c. Ensure that no wires are pinched between the mounting plate and enclosure.
d. Secure the amplifier/battery assembly with eight M3 x 16mm Black Cap Head Wood Screws using the included Hex (Allen) Wrench. - Connect the woofers and tweeters to the installed crossovers. The red/black wires go to the woofers and the blue/black wires go to the tweeters. The colored wires are positive, be sure to observe polarity.
- Set the drivers into their cutouts and secure each driver using four #6 x 3/4″ Deep Thread Pan Head Screws Black (a power drill is not recommended).
- Finally, plug the 15V 4A DC Power Supply AC Adapter into the DC input in the back of the speaker to activate the KAB-BE 18650 Battery Extension Board. Allow to charge 24 hours to ensure batteries are fully charged (the MKBoom can be used while charging).
You are now ready to enjoy your finished MKBoom!
5-Year Limited Warranty
See daytonaudio.com for details
Customer Support
daytonaudio.com
tel + 937.743.8248
[email protected]
705 Pleasant Valley Dr. Springboro, OH 45066 USA




































