OWNER’S MANUAL
FF-VKR20-PT
Color: Black
CAUTION!
Read all precautions and instructions in this manual before using this equipment.
20220308-V 1.0
BEFORE YOU BEGIN
Thank you for selecting the FF-VKR2O-PT. For your safety and benefit, read this manual carefully before using the machine. As a manufacturer, we are committed to providing you with complete customer satisfaction.
IMPORTANT SAFETY NOTICE
PRECAUTIONS
This exercise machine is built for optimum safety. However, certain precautions apply whenever you operate a piece of exercise equipment. Be sure to read the entire manual before you assemble or operate your machine. In particular, note the following safety precautions:
- Keep children and pets away from the machine at all times. DO NOT leave children unattended in the same room with the machine.
- Only one person at a time should use the machine.
- If the user experiences dizziness, nausea, chest pain, or any other abnormal symptoms, STOP the workout at once. CONSULT A PHYSICIAN IMMEDIATELY.
- Position the machine on a clear, leveled surface. DO NOT use the machine near water or outdoors.
- Keep hands away from all moving parts.
- Always wear appropriate workout clothing when exercising. DO NOT wear robes or other clothing that could become caught in the machine. Running or aerobic shoes are also required when using the machine.
- Use the machine only for its intended use as described in this manual. DO NOT use attachments not recommended by the manufacturer.
- Do not place any sham object around the machine.
- Disabled persons should not use the machine without a qualified person or physician in attendance.
- Before using the machine to exercise, always do stretching exercises to properly warm up.
- Never operate the machine if the machine is not functioning properly.
CARE AND MAINTENANCE
- Inspect and tighten all parts before using the machine.
- The machine can be cleaned using a damp cloth and mild non-abrasive detergent. DO NOT use solvents.
- The maximum user’s weight is 140 kg.
WARNING: BEFORE BEGINNING ANY EXERCISE PROGRAM, CONSULT YOUR PHYSICIAN. THIS IS ESPECIALLY IMPORTANT FOR INDIVIDUALS OVER THE AGE OF 35 OR PERSONS WITH PRE-EXISTING HEALTH PROBLEMS. READ ALL INSTRUCTIONS BEFORE USING ANY FITNESS EQUIPMENT. WE ASSUME NO RESPONSIBILITY FOR PERSONAL INJURY OR PROPERTY DAMAGE SUSTAINED BY OR THROUGH THE USE OF THIS PRODUCT.
SAVE THESE INSTRUCTIONS.
HARDWARE IDENTIFIER
PLACE WASHER, END OF BOLT, OR SCREW-ON CIRCLE TO CHECK FOR CORRECT SIZE.

NOTE: When installing an Aircraft Nut (also called Nylon or Lock Nut), Please use two adjustable wrenches to tighten down the Nut. Hold down the Bolt with one wrench, and use the other wrench to turn the Nut clockwise.

ASSEMBLY INSTRUCTION
Tools required to assemble the machine: Two Adjustable Wrenches and one Allen Wrench.
NOTE: It is strongly recommended that this machine to be assembled by two or more people to avoid possible injury.
STEP 1 (SEE DIAGRAM 1)
A.) Connect the two Base Frames (#1) with the Cross Brace (#3) at the bottom. Secure it with two M10 x 3″ Bolts (#21), four 07/8″ Washers (#27), one Bracket (#10), and two M10 Aircraft Nuts (#29) on each side of the Cross Brace (#3).
B.) Attach a Vertical Frame (#2) to the Base Frame (#1). Secure it with two M10 x 2)4″ Bolts (#22), four 0 7/8″ Washers (#27), and two M10 Aircraft Nuts (#29).
C.) Repeat above procedure B to install the other side.
D.) Attach a Diagonal Support (#7) to the Base Frame (#1). Secure it with an M10 x 3″ Bolt (#21). two 0 7/8″ Washers (#27) and an M10 Aircraft Nut (#29). Attach the other end to the Vertical Frame (#2). Secure it with an M10 x 3″ Bolt (#21), two 0 7/8″ Washers (#27), and an M10 Aircraft Nut (#29). Repeat the same procedure to install the other side.
E.) Attach a Cross Brace (#3) to the Vertical Frames (#2). Secure it with two M10x3″ Bolts (#21), four 0 7/8″ Washers (#27), one Bracket (#10), and two M10 Aircraft Nuts (#29) on each side of the Cross Brace.

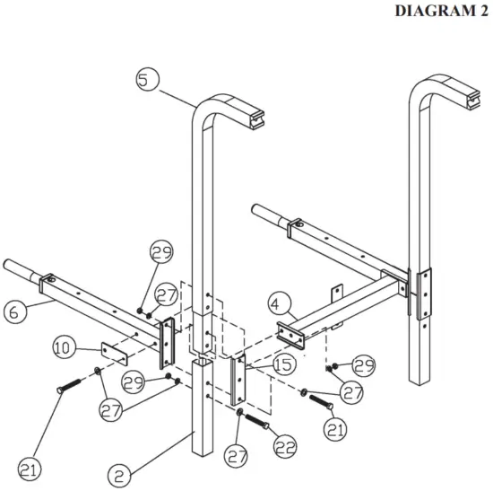
STEP 2 (SEE DIAGRAM 2)
A.) Insert an Upper Frame (#5) into the Vertical Frame (#2). Secure it with an M10x 2X ” Bolt (#22), two 7/8″ Washers (#27), and an M10 Aircraft Nut (#29).
B.) Repeat the above procedure A to install the other side.
C.) Attach Dip Support (#6) to the Upper Frame (#5). Secure it with two M10x3″Bolts (#21), four 0 7/8″ Washers (#27), two M10 Aircraft Nuts (#29), and one Long Bracket (#15).
D.) Repeat the above procedure C to install the other side.
E.) Connect both Dip Supports (#6) with a Backrest Support (#4). Secure it with two M10x 3″ Bolts (#21), four 0 7/8″ Washers (#27), two M10 Aircraft Nuts (#29), and a Bracket (#10) on each side of the Support.

STEP 3 (SEE DIAGRAM 3)
A.) Attach an Arm Pad (#11) to the Dip Support (#6), Secure it with two M8 x 2 X” Bolts (#25) and 3/4″ Washers (#28). Attach a Handle (#8) to the Dip Support. Secure it with a M10 x 1″ Bolt (#24) and 0 7/8″ Washer (#27).
B.) Repeat the above procedure A to install the other side.
C.) Attach the Backrest Pad (#12) to the Backrest Support (#4). Secure it with two M8 x 5/8″ Bolts (#26) and 0 3/4″ Washers (#28).
D.) Lubricate the inside of the 20″ Foam Grip (#14) with water and slide it onto the Chip Up Bar (#9)
E.) Slide the two short Foam Grips (#13) onto the bar. F.) Attach the Chin Up Bar (#9) to the Upper Frames (#5), Secure it with two M10x1 X” Allen Bolts (#23) and 0 7/8″ Washers (#27).

EXPLODED DIAGRAM

Trpt Parts List
Part NO.1 | DESCRIPTION | Q’ty |
1 | Base Frame | 2 |
2 | Vertical Frame | 2 |
3 | Cross Brace | 2 |
4 | Backrest Support | 1 |
5 | Upper Frame | 2 |
6 | Dip Support | 2 |
7 | Diagonal Support | 2 |
8 | Handle | 2 |
9 | Chin UP Bar | 1 |
10 | Bracket | 6 |
11 | Arm Pad | 2 |
12 | Backrest Pad | 1 |
13 | Foam Grip | 2 |
14 | 20″ Foam Roll | 1 |
15 | Long Bracket | 2 |
16 | 2″ Square End Cap | 4 |
17 | 0 1″ R-Shape End Cap | 4 |
18 | 2″ Sleeve | 2 |
19 | ∅ 1″ Long Grip | 2 |
20 | ∅ 1/, “Grip | 2 |
21 | M10 x 3″ Bolt | 20 |
22 | M10 x 2 1/2″ Bolt | 6 |
23 | M10 x 1 %” Allen Bolt | 2 |
24 | M10 x 1″ Bolt | 2 |
25 | M8 x 2 ‘/2″ Bolt | 4 |
26 | M8 x 5/8″ Allen Bolt | 2 |
27 | ∅ 7/8″ Washer | 56 |
28 | ∅ %” Washer | 6 |
29 | M10 Aircraft Nut | 26 |
30 | #6 Allen Wrench (Tool) | 1 |
31 | ∅ 1″ Short Grip | 2 |














