50-1690C 1690 Power Tower
Owner’s Manual
Product May Vary Slightly From Pictured.
CAUTION:
The weight of this product should not exceed 250 lbs.
This Product is Distributed Exclusively by
2040 N Alliance Ave, Springfield, MO 65803
Customer Care
1 (800) 375-7520
www.staminaproducts.com
STAMINA PRODUCTS MADE IN CHINA
© 2020 Stamina Products, Inc.
2020, 11
WARNING
Exercise can present a health risk. Consult a physician before beginning any exercise program with this equipment. If you feel faint or dizzy, immediately discontinue use of this equipment. Serious bodily injury can occur if this equipment is not assembled and used correctly. Serious bodily injury can also occur if all instructions are not followed. Keep others and pets away from equipment when in use. Always make sure all bolts and nuts are securely tightened prior to each use. Follow all safety instructions in this manual.
When calling for parts or ervice, please specify the following numbers:
Model#: 50-1690C
S/N: _____________
Smart Audio Workouts for Your Power Tower Go to the App Store on your device or scan the QR Code for quick access.

https://link.muuv.fit/qr?id=016&brand=stamina&model=powertower&sku=501690C&placement=outsidebox
SAFETY INSTRUCTIONS
WARNING-Cancer and Reproductive Harm www.P65Warnings.ca.gov
WARNING Consult your physician before starting this or any exercise program. This is
especially important if you are over the age of 35, have never exercised before, are pregnant, or suffer from any health problem. This product is for home use only. Do not use in institutional or commercial applications. Failure to follow all warnings and instructions could result in serious injury or death.
WARNING To reduce the risk of serious injury, read the following Safety Instructions before using the Stamina® Power Tower 1698.
- Save these instructions and ensure that other exercisers read this manual prior to using the Stamina® Power Tower 1698 for the first time.
- Read all warnings and cautions posted on the Stamina® Power Tower 1698.
- The Stamina® Power Tower 1698 should only be used after a thorough review of the Owner’s Manual. Make sure that it is properly assembled and tightened before use.
- We recommend that two people be available for the assembly of this product.
- Keep children away from the Stamina® Power Tower 1698. Do not allow children to use or play on the Stamina® Power Tower 1698. Keep children and pets away from the Stamina® Power Tower 1698 when it is in use.
- It is recommended that you place this exercise equipment on an equipment mat.
- Set up and operate the Stamina® Power Tower 1698 on a solid level surface. Do not position the Stamina® Power Tower 1698 on loose rugs or uneven surfaces.
- Make sure that adequate space is available for access to and around the Stamina® Power Tower 1698.
- Before using, inspect the Stamina® Power Tower 1698 for worn or loose components, and securely tighten or replace any worn or loose components prior to use.
- Consult a physician prior to commencing an exercise program and follow his/her recommendations in developing your fitness program. If at any time during exercise you feel faint, dizzy, or experience pain, stop and consult your physician.
- Always choose the workout which best fits your physical strength and flexibility level. Know your limits and train within them. Always use common sense when exercising.
- Do not wear loose or dangling clothing while using the Stamina® Power Tower 1698.
- Never exercise in bare feet or socks; always wear proper footwear such as running, walking, or cross-training shoes that fit well, provide foot support, and feature non-skid rubber soles.
- Be careful to maintain your balance while using, mounting, dismounting, or assembling the Stamina® Power Tower 1698, loss of balance may result in a fall and serious bodily injury.
- The Stamina® Power Tower 1698 should not be used by persons weighing over 250 pounds.
- The Stamina® Power Tower 1698 should be used by only one person at a time.
- The Stamina® Power Tower 1698 is for consumer use only. It is not for use in public or semipublic facilities.
EXTEND YOUR PARTS WARRANTY TO 180 DAYS FROM THE DATE OF PURCHASE. REGISTER YOUR PRODUCT.
NEED HELP?
CONTACT US FIRST
1 (800) 375-7520
[email protected]
Hi! From all of us here at Stamina Products, thank you for your purchase. We know that you have big fitness goals in mind and we are here to help you along. Call us, email us, or send us a message on Facebook. Be sure to contact us if you have any questions about your new product. We look forward to hearing from you!
With your body in mind, Stamina Customer Care
To enact your extended warranty and to help us better serve you, please go online and register your new product.
register.staminaproducts.com
It is quick and easy to register online, but if you’re a little old school or just need a reason to raise that little flag on your mailbox, fill out the info on the last page of this manual and mail it in.
| ONLINE | TELEPHONE 1 (800) 375-7520 | FAX (417) 889-8064 | MAIL Stamina Products, Inc. ATTN: Customer Care 2040 N Alliance Ave Springfield, MO 65803 |
[email protected]
www.staminaproducts.com
facebook.com/StaminaProducts
facebook.com/AeroPilates
CUSTOMER CARE HOURS:
Monday-Thursday, 7:30 AM-5:00 PM, Central Time
Friday, 8:00 AM-3:00 PM, Central Time
BEFORE YOU BEGIN
Thank you for choosing the Stamina® Power Tower 1698. We take great pride in this quality product and hope it will provide many hours of quality exercise to make you feel better, look better, and enjoy life to its fullest.
It’s a proven fact that a regular exercise program can improve your physical and mental health. Too often, our busy lifestyles limit our time and opportunity to exercise. The Stamina® Power Tower 1698 provides a convenient and simple method to begin your journey of getting your body in shape and achieving a happier and healthier lifestyle.
Before reading further, please review the drawing below and familiarize yourself with the parts that are labeled. Locate the serial decal on the product and write the serial number on the cover of the manual in the space provided. See page 5 for an image of the serial decal. The model number and serial number are required when calling for assistance.
Read this manual carefully before using the Stamina® Power Tower 1698.
Providing you with a quality product is Stamina’s top priority. However, sometimes there could be a missing or incorrectly sized part. If you have any questions or problems with the parts included with your Stamina® Power Tower 1698, please do not return the product. Contact us FIRST!
If a part is missing or defective, please contact Customer Care for assistance. Call us toll-free at 1-800-375-7520 (in the U.S.) or live chat on staminaproducts.com. Our Customer Care Staff is available to assist you from 7:30 A.M. to 5:00 P.M. (Central Time) Monday through Thursday and 8:00 A.M. to 3:00 P.M. (Central Time) on Friday.
Be sure to have the name and model number of the product available when you contact us.
THE FOLLOWING TOOLS ARE INCLUDED FOR ASSEMBLY
Wrench (2 pieces)
EQUIPMENT WARNING, CAUTION & NOTICE LABELS
This chart is provided to help identify the warning, caution, and notice labels on the Stamina® Power Tower 1698. Please take a moment to familiarize yourself with all of the warning, caution, and notice labels.
CAUTION LABEL(41)
CAUTION
For consumer use only. Failure to follow all warnings and instructions could result in injury or property damage. Before assembling or using this product, read and follow the Owner’s Manual and all other warnings and instructions that accompany this product. Replace this caution label if damaged, illegible, or removed.
Keep others including children & pets away from equipment when in use.
Consult your physician before starting this or any exercise program. This is especially important if you are over the age of 35 or have any pre-existing health condition. Always make sure all nuts and bolts are securely tightened before using this product. This product should not be used by a person weighing more than 250 lbs. unless otherwise stated in your Owner’s Manual.
SERIAL DECAL(42)
To best serve you, our Customer Care Representatives will need your serial number. For quick access, write in your serial number on the cover of the manual.
HARDWARE IDENTIFICATION CHART
This chart is provided to help identify the hardware used in the assembly process. Place the washers or the ends of the bolts or screws on the circles to check for the correct diameter. Use the small scale to check the length of the bolts and screws.

NOTICE: The length of all bolts and screws, except those with flat heads, is measured from below the head to the end of the bolt or screw. Flathead bolts and screws are measured from the top of the head to the end of the bolt or screw.
After unpacking the unit, open the hardware bag and make sure that you have all the following items. Some hardware may be already attached to the part.
ASSEMBLY INSTRUCTIONS
Place all parts from the box in a cleared area and position them on the floor in front of you. Remove all packing materials from your area and place them back into the box. Do not dispose of the packing materials until assembly is completed. Read each step carefully before beginning. If you are missing a part, please go to staminaproducts.com under the Customer Care section and order the part needed, e-mail us at [email protected], or call us toll-free at 1-800-375-7520 (in the U.S.). Our Customer Care Staff is available to assist you from 7:30 A.M. to 5:00 P.M. (Central Time) Monday through Thursday and 8:00 A.M. to 3:00 P.M. (Central Time) on Friday.
Some product parts are fit tested at the factory to ensure proper fit and alignment. Marks in the paint may be noticeable but are not an indication of damage.
NOTE: DO NOT SECURELY TIGHTEN ALL BOLTS UNTIL STEP 7.
STEP 1
Bolt the MAIN STAND(1), CROSS BAR(4), and DIP STAND(5) together with HEX BOLTS (M10x1.5x130mm)(21), ARC WASHERS(M10)(26), and NYLOCK NUTS(M10x1.5)(23). Repeat on other side.
STEP 2
There is an “L” decal on the LEFT PUSH-UP BAR(6), and an “R” decal on the RIGHT PUSH-UP BAR(7). Slide the LEFT PUSH-UP BAR(6) onto the DIP STAND(5) on the left side and secure with HEX BOLTS(M6x1x48mm)(19), ARC WASHERS(M6)(24), and NYLOCK NUTS(M6x1)(22). Repeat on the right side.

STEP 3
Insert the two UPRIGHTS(2) onto the MAIN STANDS(1). Place a ARC WASHER(M10)(26) onto a HEX BOLT(M10x1.5x130mm)(21). Slide a SPACER TUBE(11) between the UPRIGHT(2) and the DIP STAND(5), then insert the bolt through all these tubes and bolt them together with a ARC WASHER(M10) (26) and an NYLOCK NUT(M10x1.5)(23). Repeat to assemble the other SPACER TUBES(11) between the UPRIGHT(2) and the DIP STAND(5).
NOTE: When assembling the SPACER TUBE(11), start from the one at the lower position.
STEP 4
Attach the PULL-UP BAR(3) to both the UPRIGHTS(2) with HEX BOLTS(M8x1.25x50mm)(20) and ARC WASHERS(M8)(25).
SECURELY TIGHTEN ALL OF THE BOLTS FROM STEP 1 TO STEP 4.

STORAGE
- To store the Stamina® Power Tower 1690, simply keep it in a clean dry place.
- Use two people to lift from the front CROSSBAR(8) and PULL-UP BAR(13) to move the Stamina® Power Tower 1690.
MAINTENANCE
The safety and integrity designed into the Stamina® Power Tower 1698 can only be maintained when the Stamina® Power Tower 1698 is regularly examined for damage and wear. Special attention should be given to the following:
- Verify that the CAUTION LABEL(41) is in place and easy to read. Call Stamina Products immediately at 1-800-375-7520 for a replacement CAUTION LABEL(41) if it is missing or damaged.
- It is the sole responsibility of the user/owner to ensure that regular maintenance is performed.
- Verify that all nuts and bolts are present and properly tightened. Replace missing nuts and bolts. Securely tighten loose nuts and bolts.
- Worn or damaged components must be replaced immediately or the Stamina® Power Tower 1698 removed from service until repair is made. 5
- Only Stamina Products supplied components should be used to maintain/repair the Stamina® Power Tower 1698.
- Keep your Stamina® Power Tower 1698 clean by wiping it off with an absorbent cloth after use.
CONDITIONING GUIDELINES
How you begin your exercise program depends on your physical condition. If you have been inactive for several years or are severely overweight, start slowly and increase your workout time gradually. Increase your workout intensity gradually by monitoring your heart rate while you exercise.
Remember to follow these essentials:
- Have your doctor review your training and diet programs.
- Begin your training program slowly with realistic goals that have been set by you and your physician.
- Warm up before you exercise and cool down after you work out.
- Take your pulse periodically during your workout and strive to stay within a range of 60% (lower intensity) to 90% (higher intensity) of your maximum heart rate zone. Start at the lower intensity, and build up to higher intensity as you become more aerobically fit.
- If you feel dizzy or lightheaded you should slow down or stop exercising.
Initially you may only be able to exercise within your target zone for a few minutes; however, your aerobic capacity will improve over the next six to eight weeks. It is important to pace yourself while you exercise so you don’t tire too quickly.
To determine if you are working out at the correct intensity, use a heart rate monitor or use the table below. For effective aerobic exercise, your heart rate should be maintained at a level between 60% and 90% of your maximum heart rate. If just starting an exercise program, work out at the low end of your target heart rate zone. As your aerobic capacity improves, gradually increase the intensity of your workout by increasing your heart rate.
Measure your heart rate periodically during your workout by stopping the exercise but continuing to move your legs or walk around. Place two or three fingers on your wrist and take a six second heartbeat count. Multiply the results by ten to find your heart rate. For example, if your six second heartbeat count is 14, your heart rate is 140 beats per minute. A six second count is used because your heart rate will drop rapidly when you stop exercising. Adjust the intensity of your exercise until your heart rate is at the proper level.

Target Heart Rate Zone Estimated by Age*
| Age | Target Heart Rate Zone (55%-90% of Maximum Heart Rate) | Average Maximum Heart Rate 1000/0 |
| 20 years | 110-180 beats per minute | 200 beats per minute |
| 25 years | 107-175 beats per minute | 195 beats per minute |
| 30 years | 105-171 beats per minute | 190 beats per minute |
| 35 years | 102-166 beats per minute | 185 beats per minute |
| 40 years | 99-162 beats per minute | 180 beats per minute |
| 45 years | 97-157 beats per minute | 175 beats per minute |
| 50 years | 94-153 beats per minute | 170 beats per minute |
| 55 years | 91-148 beats per minute | 165 beats per minute |
| 60 years | 88-144 beats per minute | 160 beats per minute |
| 65 years | 85-139 beats per minute | 155 beats per minute |
| 70 years | 83-135 beats per minute | 150 beats per minute |
* For cardiorespiratory training benefits, the American College of Sports Medicine recommends working out within a heart rate range of 55% to 90% of maximum heart rate. To predict the maximum heart rate, the following formula was used: 220 – Age = predicted maximum heart rate
WARM-UP and COOL-DOWN
Warm-Up The purpose of warming up is to prepare your body for exercise and to minimize injuries. Warm up for two to five minutes before strength training or aerobic exercising. Perform activities that raise your heart rate and warm the working muscles. Activities may include brisk walking, jogging, jumping jacks, jump rope, and running in place.
Stretching while your muscles are warm after a proper warm-up and again after your strength or aerobic training session is very important. Muscles stretch more easily at these times because of their elevated temperature, which greatly reduces the risk of injury. Stretches should be held for 15 to 30 seconds. Do not bounce.
Suggested Stretching Exercises

Remember to always check with your physician before starting any exercise program.
Cool-Down The purpose of cooling down is to return the body to its normal, or near-normal, resting state at the end of each exercise session. A proper cool-down slowly lowers your heart rate and allows blood to return to the heart. Your cool-down should include the stretches listed above and should be completed after each strength training session.
WORKOUT INSTRUCTIONS
Dips:
A variation can be to lower yourself from the start position to only halfway down.

Push-Ups:
A variation can be to lower yourself from the start position to only halfway down.
Lat Pull-Ups:
Variations can include using a medium or narrow grip.
Vertical Knee Raise:
Variations can include alternately raising each leg or bringing the legs up in a twisting motion.
Sit-Ups:
A variation can be to twist your torso as you sit up.
LIMITED WARRANTY
MODEL 50-1690C
WARRANTY
Stamina Products, Inc. (“Stamina”) warrants to the original purchaser that this product will be free from defects in materials and workmanship that arise under normal use, service, proper assembly and proper operation in accordance with product warnings/instructions for a period of 90 days on the parts and three years on the frame from the date of the original purchase from an authorized retailer. THIS WARRANTY SHALL NOT APPLY TO ANY PRODUCT WHICH HAS BEEN SUBJECT TO COMMERCIAL USE, ABUSE, MISUSE, ALTERATION OF ANY KIND OR TO ANY DEFECT OR CHANGE CAUSED BY IMPROPER ASSEMBLY, REPAIR, REPLACEMENT, SUBSTITUTION OR USE WITH PARTS NOT PROVIDED BY STAMINA. Commercial use includes use of product in athletic clubs, health clubs, spas, gyms, and all other public or semipublic facilities whether or not the product’s use is in furtherance of a profit making enterprise, and all other use which is not for personal purposes.
To implement this limited warranty, send a written notice stating your name, date, and place of purchase and a brief description of the defect along with your receipt to Stamina Products, Inc. 2040 N Alliance Ave, Springfield, Missouri, USA, MO 65803, or email us at [email protected], or call us at 1-800-375-7520. If the defect is covered under this limited warranty, you will be requested to return the product or part to us for free repair or replacement at our option.
NO ACTION FOR BREACH OF THIS LIMITED WARRANTY MAY BE COMMENCED MORE THAN ONE (1) YEAR AFTER THE DATE THE ALLEGED BREACH WAS OR SHOULD HAVE BEEN DISCOVERED. NO ACTION FOR BREACH OF ANY IMPLIED WARRANTY (INCLUDING MERCHANTABILITY AND FITNESS FOR A PARTICULAR PURPOSE) MAY BE COMMENCED MORE THAN ONE (1) YEAR AFTER DELIVERY OF THE PRODUCT TO THE PURCHASER. These warranties are not transferable. IF ANY PART OF THE PRODUCT IS NOT IN COMPLIANCE WITH THIS LIMITED WARRANTY OR ANY IMPLIED WARRANTY, THE REMEDY OF REPAIR OR REPLACEMENT IS THE EXCLUSIVE REMEDY. If any claim is made under this limited warranty or any implied warranty, Stamina reserves the right to require the product to be returned for inspection, at the purchaser’s expense, to Stamina’s premises in Springfield, Missouri. Return of the enclosed warranty registration card is not required for warranty coverage, but is merely a way of establishing the date and place of purchase.
Stamina SHALL NOT BE LIABLE FOR THE LOSS OF USE OF ANY PRODUCT, LOSS OF TIME, INCONVENIENCE, COMMERCIAL LOSS OR ANY OTHER INDIRECT, CONSEQUENTIAL, SPECIAL OR INCIDENTAL DAMAGES DUE TO BREACH OF THE ABOVE WARRANTY OR ANY IMPLIED WARRANTY.
THIS LIMITED WARRANTY IS THE ONLY EXPRESS WARRANTY. NO ORAL OR WRITTEN INFORMATION GIVEN BY STAMINA, ITS AGENTS OR EMPLOYEES, SHALL CREATE A WARRANTY OR IN ANY WAY INCREASE THE SCOPE OF THIS WARRANTY. This warranty gives you specific legal rights, and you may also have other legal rights which vary from state to state. ANY OTHER RIGHT WHICH YOU MAY HAVE, INCLUDING ANY IMPLIED WARRANTY OF MERCHANTABILITY OR FITNESS FOR A PARTICULAR PURPOSE, IS LIMITED IN DURATION TO THE DURATION OF THIS WARRANTY.
The laws in some states affect the disclaimer or limitation of implied warranties and consequential and incidental damages. If any such law is found applicable, the foregoing disclaimers and limitations of and on implied warranties and consequential and incidental damages shall be deemed to be modified to the extent necessary to comply with applicable law.
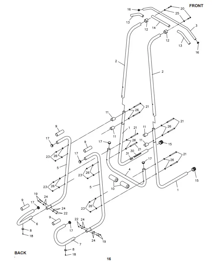
PRODUCT PARTS DRAWING

PARTS LIST
| PART# | PART NAME | QTY |
| 1 | Main Stand | 2 |
| 2 | Upright | 2 |
| 3 | Pull-Up Bar | 1 |
| 4 | Cross Bar | 1 |
| 5 | Dip Stand | 2 |
| 6 | Left Push-Up Bar | 1 |
| 7 | Right Push-Up Bar | 1 |
| 8 | Foot Stand | 2 |
| 9 | Foam Grip | 4 |
| 10 | Foam Pad | 2 |
| 11 | Spacer Tube | 4 |
| 12 | Connective Cap | 2 |
| 13 | Foam Tube (ø22 x ø32 x 265mm) | 2 |
| 14 | Long Foam Tube (ø22 x ø32 x 350mm) | 1 |
| 15 | Endcap (38.1mm) | 2 |
| 16 | Round Plug (25.4mm) | 2 |
| 17 | Round Plug (38.1mm) | 6 |
| 18 | Screw, Flat Head (M5 x 0.8 x 15mm) | 2 |
| 19 | Bolt, Hex Head (M6 x 1 x 48mm) | 4 |
| 20 | Bolt, Hex Head (M8 x 1.25 x 50mm) | 2 |
| 21 | Bolt, Hex Head (M10 x 1.5 x 130mm) | 8 |
| 22 | Nylock Nut (M6 x 1) | 4 |
| 23 | Nylock Nut (M10 x 1.5) | 8 |
| 24 | Arc Washer (M6) | 8 |
| 25 | Arc Washer (M8) | 2 |
| 26 | Arc Washer (M10) | 16 |
| 28 | Wrench | 2 |
| 29 | Manual | 1 |
| 30 | Caution Label | 1 |
| 31 | Serial Decal | 1 |
NOTES
TO CONTACT CUSTOMER CARE
For your convenience, Stamina’s customer care representatives can be reached by email at [email protected]. com or by phone at 1-800-375-7520 (in the U.S.). Our customer care representatives are available Monday through Thursday from 7:30 a.m. until 5:00 p.m., and Friday 8:00 a.m. until 3 p.m. Central Time.
| ONLINE CUSTOMER CARE | TELEPHONE CUSTOMER CARE Tel: 1 (800) 375-7520 | FAX CUSTOMER CARE Fax: (417) 889-8064 | MAIL STAMINA PRODUCTS, INC. ATTN: Customer Care 2040 N Alliance Ave, Springfield, MO 65803 |
[email protected]
www.staminaproducts.com
Would you like to receive email information or special offers from Stamina Products? Register at contact.staminaproducts.com
TO REGISTER YOUR PRODUCT
To enact your warranty, please register your product by going to register.staminaproducts.com. Please have your product model number (printed on the cover of this owner’s manual) and the serial number (printed on the black and white sticker on your product) ready.
If you don’t have internet access, you can call customer care at 1-800-375-7520, or fill out and mail the product registration form below to Stamina Products, Inc.; 2040 N Alliance Ave, Springfield, MO 65803.
PRODUCT REGISTRATION FORM
Stamina Products, Inc. 2040 N Alliance Ave, Springfield, MO 65803
Model Number: …………………………………………………………………………..
Serial Number: ……………………………………………………………………………..
Product Name: ……………………………………………………………………………..
Place Purchased:……………………………………………………………………………
Date of Purchase: ……………………………………………………………………….
Purchase Price: ……………………………………………………………………………
First Name: ………………………………………………………………………………..
Last Name: …………………………………………………………………………………..
City: …………………………………………………………
State: ……………………………………………………….
Zip Code: ………………………………………….
Email Address: ……………………………………………………………………………
Phone #: ( ) …………………………………………………………………………..
Would you like to receive email information or special offers from Stamina Products?* ____Yes ____No *If yes, be sure your email address is included above.
Detach and Mail or Fax the Form Above
TO ORDER PARTS
If there are missing or damaged parts, you can go to parts.staminaproducts.com and order those parts. If you have questions, please contact customer care. Do not return the product. To order parts by mail, fill out the sheet below and fax it to 417-889-8064. The part will be mailed to your address.
Detach and Mail or Fax the Form Below
PARTS ORDER FORM
Stamina Products, Inc. 2040 N Alliance Ave, Springfield, MO 65803
Mr./Ms:………………………………………………………..
Address: …………………………………. …………………..
Apt. #:………………………………………………………….
City: …………………………………………………………
State: ……………………………………………………….
Zip Code: ………………………………………….
IMPORTANT: We require your phone number to process the order!
Phone #: ( ) ……………………………………………………………………..
Work Phone #: ( ) …………………………………………………………………..
Date of Purchase: ……………………………………………………………………….
Model #: ………………………………………………………………………………………
Purchased From: …………………………………………………………………………..
IMPORTANT: Before filling out the portion below, make sure you have the correct information. Refer to the parts list to make sure you’re ordering the right parts!

References
Customer Care - Exercise Equipment | Stamina Products
Customer Care - Exercise Equipment | Stamina Products
Customer Care - Exercise Equipment | Stamina Products
Quality Home Fitness & Exercise Equipment | Stamina Products
P65Warnings.ca.gov
Quality Home Fitness & Exercise Equipment | Stamina Products




















