ÄLMAREN Kitchen Mixer Tap
Instruction Manual
ÄLMAREN Kitchen Mixer Tap
![]()
Installation must be performed in compliance with current local construction and plumbing regulations. If in doubt, contact a professional.
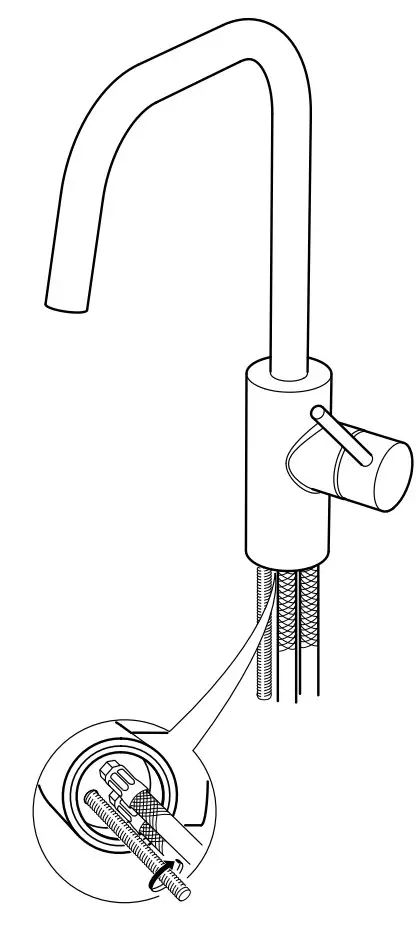
Switch off main shut-off valve before changing mixer tap.



Seal the open surfaces with silicone to prevent water from penetrating the worktop upon any leaks. Silicone is not included.

IMPORTANT! Do not tighten too hard: this can damage hoses/pipes and washers.
To comply with UK water regulations, this product shall be installed in accordance with the following:
Inlet supply hoses shall be installed where light is excluded.
Water supplies shall be at reasonably balanced pressures from a common source (e.g. hot and cold supplies both from the same storage or both from a supply pipe). Where the fitting is supplied from unbalanced supplies (e.g. hot and cold supplies from separate sources) an ‘Approved’ single check valve or some other no less effective backflow prevention device shall be fitted immediately upstream of both hot and cold water inlets.
Check at regular intervals to make sure that the installation is not leaking.
Before use: Unscrew the Aerator/Flow Guide with a coin and allow the water to run freely for a few minutes. Then screw the Aerator/Flow Guide back in place up to the stop DO NOT OVER TIGHTEN.
© Inter IKEA Systems
AA-2258903-2
2022-10-26
B.V. 2020


















