IKEA 204.573.81 BOSJON Kitchen Mixer Tap

Instruction
Installation must be performed in compliance with current local construction and plumbing regulations. If in doubt, contact a professional. Switch off the main shut-off valve before changing the mixer tap.



Installation
Seal the open surfaces with silicone to prevent water from penetrating the worktop upon any leaks. Silicone is not included.
Step: 1

Step: 2

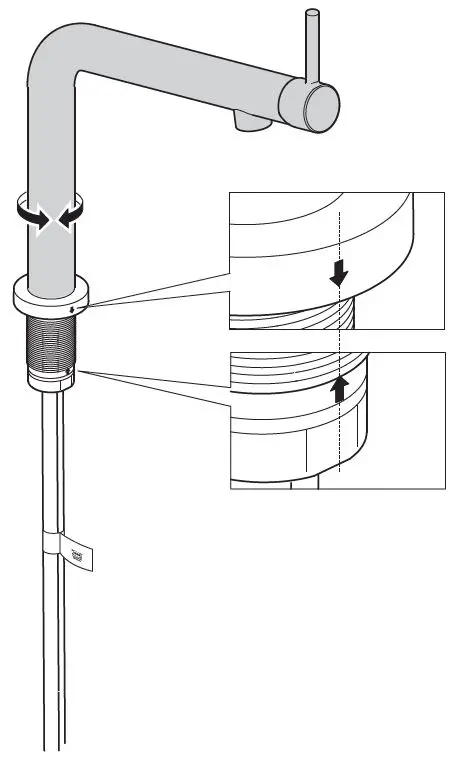
Step: 3



IMPORTANT
Do not tighten too hard: this can damage hoses/pipes and washers.
Before use
Unscrew the Aerator/Flow Guide with a coin and allow the water to run freely for a few minutes. Then screw the Aerator/Flow Guide back in place up to the stop DO NOT OVERTIGHTEN.

Check at regular intervals to make sure that the installation is not leaking.




















