TRIPLETT HS10 Heat Stress Meter Wet Bulb Global Temperature and Heat Index Monitor

Introduction
Congratulations on your purchase of the Triplett HS10 Heat Stress Wet Bulb Global Temperature (WBGT) and Heat Index (HI) Monitor
This compact checker measures air temperature, globe temperature, and humidity to give heat stress index for using in control of physical activity in hot environment to limit the danger of heat-related injuries.
WBGT (wet-bulb globe temperature) was developed as a monitoring basis at US military training camps and became widespread for the use in workplaces and sports situations.
It is suggested in an international standard ISO 7243 and many governments such as OSHA (US Occupational Safety & Health Administration), SMA(Sports Medicine Australia)and Japan Society for Occupational Health in establishing the permissible heat exposure limits in occupational health, sports or other physical activities.
The applications of the heat index can be in construction, iron and steel foundries, bricks-firing plants, glass facilities, boiler rooms, mining sites, army training, marathon, beach activities and so on.
The heat index was developed by the US National Weather Service to help people avoid heat illness. Prolonged exposure and/or physical activity at a high heat index is likely to lead to sun stroke, heat cramps, heat exhaustion and even death. However, please be aware that heat index is not an exact science. The values reached are approximations. Ultimately, the final decision of whether or not to exercise or work belongs to the individual, athletic trainer or employer.
Features
- Simultaneously display WBGT/HI ,Temperature & RH
- For outdoor & indoor heat stress measuring
- Programmable buzzer & red LED danger zone warning
- Audible alarm volume adjustable (75dB / 60dB / mute)
- 4 level dangerous level indicator on LCD
- Wearable design with arm strap included
- Display updates every 20 seconds
Description
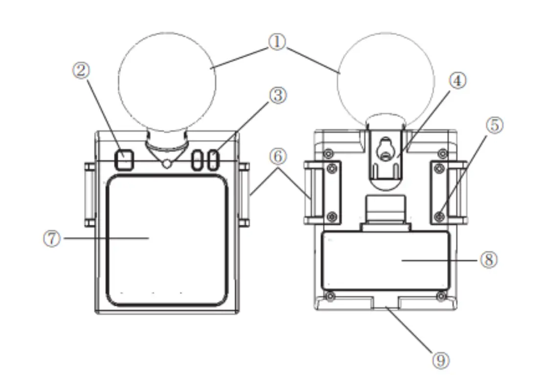
METER DESCRIPTION (Front and Rear View)

Symbol indication
- ABS Black Ball
- Power Key [ SET]
- up/down adjust (2 Keys)
- Hanger
- Screw to change the strap holder
- Strap holder
- LCD Display
- Battery Cover
- Screw hold for tripod
LCD DISPLAY DESCRIPTION



- Press the POWER/SET button to turn ON.
- Press and hold the POWER/SET button for 2 seconds to turn OFF.
- In NORMAL MEASURMENT MODE press [SET] button [▲] and [▼] button simultaneously for 3 seconds to enterSETTING Mode.
- In power off status, press [SET] button, [▲] and [▼] simultaneously for 5 seconds till entering RESET Mode.
- In NORMAL MEASURMENT MODE, press [▲] or [▼] button to adjust the sound level.
- In SETTING MODE press [▲] or [▼] button to adjust the value of thresholds or ON / OFF the alarm.
Operation
POWER
Press
to turn ON (press1 second) and turn OFF (press 2 seconds) the meter. All indicators are shown on the LCD when powered ON and the meter enters measurement mode. The firmware revision is displayed on the LCD for 1 second when powered ON.

MEASUREMENT
When in measurement mode, the WBGT value, temperature and humidity values are displayed on the LCD.

SOUND LEVEL
The user can press the [▲] or [▼] key to adjust the volume of the alarm. In measuring mode, press [▲] or [▼] key to adjust the volume in 0dB > 60dB >75dB respectively. The buzzer icon will be displayed.
Note: No Buzzer icon is displayed on the LCD when the sound is 0dB.
DANGER ZONE INDICATOR
For both WBGT and HI there are 4 levels of heat stress danger zone indications at the top of the LCD.

ALARM
When the measured heat stress value is over alarm threshold, the red LED, buzzer and measured value will all blink every second as a reminder. After 30 seconds, it beeps 1 time per minute. The user can disable beep sound at any time when pressing [▼] key. The alarm threshold value can be reprogrammed. Check “SETUP” Mode in the following section in this manual for further instruction.
SETUP MODE
This function allow users to customize their own default settings. Press the button + [▲]+ [▼] buttons simultaneously for 3 seconds to enter SETUP Mode. The meter will return to normal display while keys are inactive for 30 sec in setup mode. Display for either WBGT & HI (Heat Index) is switchable by the user.
IN/OUT SWITCH (ONLY for WBGT mode)
This function serves to calculate WBGT without [IN] or with [OUT] direct sun exposure. Under IN/OUT modes, press [▲] or [▼] to switch [IN / OUT] then press
to confirm

ALARM THRESHOLD SETTING
This function allows users to customize alarm threshold or stay at factory default alarm threshold. While choosing to stay at factory default alarm threshold, please select [OFF]. [OFF] means to turn off customization function.

The default alarm-threshold is defined in below and each range has different buzzer frequence to distinguish.

If user decides to customize their own alarm threshold, select [ON], [ON] means the alarm threshold setting is turned ON by user.
The adjustment range is listed below.

Press the [▲] or [▼] button to adjust alarm value. Press the
button to save the value. The adjustment is 0.1 per step. The adjustment range is 68°F to 122°F (20 to 50°C) for WBGT and 50°F to 140°F(10~60°C) for HI
Note: If user prefers to monitor the heat stress in a complete silent mode the following procedure can disable the alarm function so LED, buzzer and alarm related icons are all OFF. While adjusting alarm threshold value, pressing [▲] and [▼] key simultaneously. The alarm threshold will show [–.-] on the LCD Press [▲] and [▼] again to revert the status.

TEMPERATURE UNIT OC / OF
Press [▲] and [▼] key to switch OC (degrees Celcius) or O F (degrees Fahrenheit). Press key to save the selection.)

WBGT / HI SWITCHING
For HS10, the main displayed heat stress index can be WBGT or HI. While the temp unit setting completed, pressing [▲] or [▼] key to switch WBGT/HI and then press SET key to confirm Then, the checker will return to measurement mode after upon all setting are completed.

RESET FUNCTION
This allows user RESET the meter to default setting. In POWER OFF status, press [SET], [▲] and [▼] key simultaneously for 5 seconds till [rSt] symbol show on the LCD in 5 seconds. Then full display will be turned on and go to measurement mode automatically.
The Default settings for the meter are:

Battery Installation and Replacement
The meter is powered by (2)1.5V AAA batteries. First, check the batteries when:
3. First time using the meter
4. The battery symbol appears on LCD
5. The meter does not power ON
To install the batteries

- Turn off the meter.
- Remove the battery cover
- Replace the old batteries with two new batteies
- Make sure the batteries are in the place and the polarity is correct.
- Replace the battery cover.
Low Battery Indication
appears on the LCD when battery voltage gets low. Please replace battery by opening the compartment on the rear of the meter.
Specifications
| Temp. range | 32 to 122°F(0~50oC) |
| Temp. resolution | 0.1oC/oF |
| Temp. accuracy | +/-1.8°F(+/-0.6oC) |
| Humidity. range | 0.1%~99.9%RH |
| Humidity resolution | 0.1%RH |
| Humidity accuracy 1 | 0.0%~90.0% @ 25oC: Typical 5%. Others 7% |
| Globe Temp.(inside black bal | l) 32 to 158°F( 0~70oC) |
| WBGT temp. range | 32 to 122°F(0~50oC) |
| HI temp. range | 32 to 140°F(0~60oC) |
| WBGT Alarm Range | 68°F to 122°F(20~50oC) |
| HI Alarm Range | 68°F to 122°F (20~60oC) |
| Black ball size(mm) | Dia. 40 |
| Stabilization time | 15 ~25 minutes typical |
| Battery life | ~300hour |
| LCD size (mm) | 40(H)x39(W) (1.6×1.5”) |
| Operation temp. | 32 to 122°F(0~50oC) |
| Operation RH% | Humidity < 80% |
| Storage temp. | -4°F 122°F(-20~50oC) |
| Storage RH% | Humidity < 90% |
| Dimension(mm) | 2.8” x 2.4”x0.8” (70(H)x60(W)x22(D)) |
| Weight | 3.17 oz (~90g) |
| Standard Package | AAA x2pcs |
| Battery | Meter/Battery/Manual/Paper box |
Appendix
WBGT &Physical exercise
WBGT Flag Activity Intensity

Heat Index Chart

Warranty
Triplett / Jewell Instruments extends the following warranty to the original purchaser of these goods for use. Triplett warrants to the original purchaser for use that the products sold by it will be free from defects in workmanship and material for a period of (1) one year from the date of purchase. This warranty does not apply to any of our products which have been repaired or altered by unauthorized persons in any way or purchased from unauthorized distributors so as, in our sole judgment, to injure their stability or reliability, or which have been subject to misuse, abuse, misapplication, negligence, accident or which have had the serial numbers altered, defaced, or removed. Accessories, including batteries are not covered by this warranty
Copyright © 2022 Triplett
CUSTOMER SUPPORT
1.888.610.7664
www.calcert.com
[email protected]



















