INSTALLATION INSTRUCTIONS
05/10/2012
READ AND SAVE THESE INSTRUCTIONS
LA-1033E Suspended Semi-Flush Mount Ceiling Light
WARNING ! SHUTP OWER OFF AT FUSE OR CIRCUIT BREAKER .
AVERTISSEMENT! COUPER LE COURANT AU NIVEAU DES FUSIBLES OU DU DISJONCTEUR.
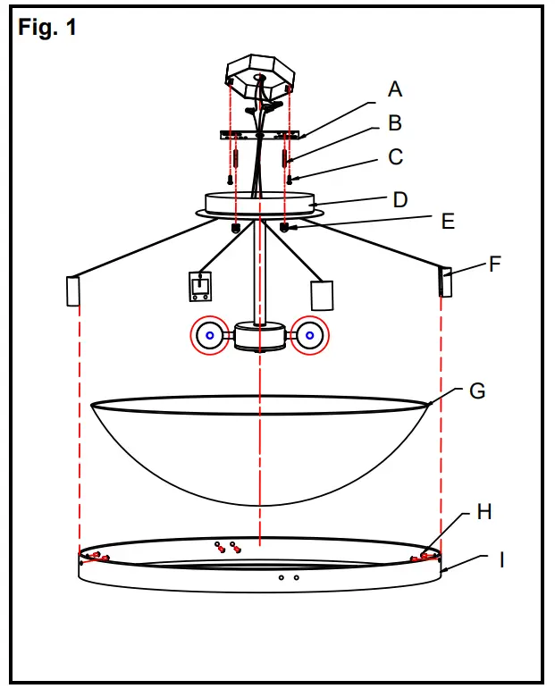
HANGING THE FIXTURE (Fig. 1)

- Carefully remove the fixture from the carton and check that all parts are included as shown in the illustration.
- Shut off power at the circuit breaker and remove old fixture including the crossbar.
- Attach the Crossbar (A) to the Outlet Box using the two screws (C). The side of the Crossbar marked “GND” must face out.
- Thread two Threaded Studs (B) 1/4” into the pre-drilled holes in the Crossbar (A) spaced the same distance apart as the hole in the Canopy (D).
- Place Glass Shade (G) over the Metal Ring (I). Bring the Metal Ring (I) and Glass shade (G) as illustrated to attach to Holder (F). Secure the combination (G) (I) and (F) using Screws (H).
CONNECTING THE WIRES (Fig. 2)
- At this point, connect the electrical wire as shown in figure 2, making sure that all wire connectors are secured. If your outlet has a ground wire (green or bare copper), connect the fixtures Ground Wire to it. Otherwise, connect the fixture Ground Wire directly to the crossbar using the Green Screw provided.
FINISHING THE INTALLATION (Fig. 1) - After the wires are connected, carefully tuck them inside the outlet box, then place Canopy (D) over Threaded Studs (B) and secure it tightly with Knurled Knobs (E).
- Install the light bulb in accordance with the fixture’s specifications. (DO NOT EXCEED THE MAXIMUM WATTAGE RATING!)
Your installation is now complete. Return power to the junction box and test the fixture.
Note: Illustration (Fig. 1) on this manual is for installation purposes only. It may or may not be identical to the fixture purchased
IMPORTANT: FIXTURE SHOULD BE INSTALLED BY A QUALIFIED ELECTRICIAN TO ENSURE PROPER WIRING AND INSTALLATION.
LA-1033E















