MANUAL
User Guide
Cassette Junior Volume Limiting Wired Headphones
![]()

OPERATION
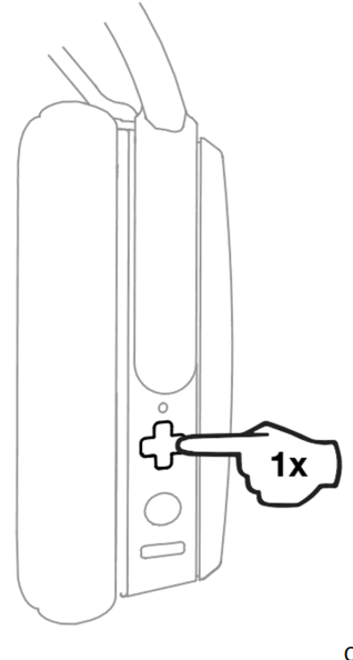
• Play/Pause – Press button once
• Answer/End Calls – Press button once
• Activate Assistant – Press and hold button for 2 seconds
Speaker Driver: 40mm, impedance: 32 Ohms,
Skullcandy
.and other marks are registered trademarks of Skullcandy, Inc, All rights reserved,
Americas
Skullcandy, Inc.
6301 N Landmark Dr.
Park City, UT 84098, U.S.A
Skuficandy.com.
Made In China
Cassette Junior
MODEL: SSCSY
CAN ICES-3(8)/NMB-X(B)
Skuficandy.com/patent-information
© 2020 Skullcandy. Inc.
R-R-Suk-SSSCY
![]()

USER GUIDE
![]()
| Power – On / Off | Pairing Mode *Off Mode |
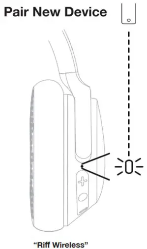
![]() Power – On / Off | ![]() Pair New Device |
| Pair New Device “Crusher EVO” | Play / Pause |
![]() | Play / Pause |
| Volume Up | Volume Down |
![]() Volume Up | ![]() Volume Down |
| Track Forward | Track Back |
![]() Track Forward | ![]() Track Back |
| Answer / End Phone Calls | Activate Voice Assistant |
![]() Answer / End | Activate Voice Assistant |
| Charge | Rapid Charge: 10 minutes = 3 hours |
![]() Charge | Rapid Charge: 10 minutes = 3 hours |
| Adjustable Haptic Bass | Tile™ Enabled: Download the App |
![]() Bass Control | ![]() Download the Tile™ App |
Pair Tile™ ![]() | Clear Paired Device Hold Together |
![]() Pair Tile™ | Clear Paired Device |
Questions Visit: www.skullcandy.com
ISED Statement
This device contains license-exempt transmitter(s) / receiver(s) that comply with Innovation, Science and Economic Development Canada’s licence-exempt RSS(s). Operation is subject to the following two conditions:
(1)This device may not cause interference. (2)This device must accept any interference, including interference that may cause undesired operation of the device.
Skullcandy,
and other marks are registered trademarks of Skullcandy, Inc. All rights reserved.
Speaker Driver: 40mm, Impedance: 32 Ohms, THD <1%@1KHz, Voltage Regulation: 3.7v, Bluetooth” 5.0, Frequency Band: 2402MHz-2480MHz @ 9.5dBm, Weight: 308g.
Americas
Skullcandy, Inc.
6301 N Landmark Dr.
Park City, UT 84098 U.S.A.
Skulilcandy.com

QUICK START GUIDE
![]()
| Pairing Mode | Pair New Device |
![]() | ![]() |
| Power-or/off | Volume Up |
![]() | ![]() |
| Volume Down | Bass Control: |
![]() | ![]() |
| Play/pause | Track Forward |
![]() | ![]() |
| Track Back | Answered |
![]() | ![]() |
Charge
With Mic
| Play/pause | Track Forward |
![]() | ![]() |
| Track Back | Answer End |
![]() | ![]() |
Questions Visit: www.skullcandy.com
Made In China.
FCC ID: Y22-S6CRW
IC: 10486A-S6CRW
CMIIT ID: 2016DJ6995
IFT: RCPSKS616-1751
CNC ID: C-16938
MSIP-CRM-Sku-S6CRW
018-160204 016-0070018
CCAM16LP1650TO
Americas
Skull candy, Inc.
6301 N Landmark Drive
Park City, UT 84098 US.A
skullcandy.com
| Pawer-On/Off | Pairing Mode ![]() |
![]() | ![]() |
| Pair New Device | Volume Up |
![]() | ![]() |
| Volume Down | Bass Control |
![]() | ![]() |
| Play/Pause | Track Forward |
![]() | ![]() |
| Track Back | Answer/End Phone Calls: |
![]() | ![]() |
| Charge | Check Battery Life: |
![]() | ![]() |
Backup Cable
| Volume Up: | Volume Down: |
![]() | ![]() |
| Play/Pause: | Track Forward: |
![]() | ![]() |
| Track Back: | Answer/End Phone Calls: |
![]() | ![]() |
Dime Series
Auto Pair Mode | Auto Pawer- On |
![]() | ![]() |
Auto Power- Off | Charge Earbuds |
![]() | ![]() |
| Pairing Mode Left Side or Right Side *Off Mode | Pair New Device “Dime – Black” “Dime – Chill Gray” “Dime – Dark Blue” “Dime – Light Gray” |
![]() | ![]() |
| Power – On Left Side or Right Side | Power – Off Left Side or Right Side |
![]() | ![]() |
| Play/Pause Left Side or Right Side | Track Forward Right Side |
![]() | ![]() |
| Track Back Left Side | Volume Up Right Side |
![]() | ![]() |
| Volume Down Left Side | Answer/End Left Side or Right Side |
![]() | ![]() |
Activate Voice Assistant Left Side or Right Side | Clear Paired Device Left OR Right Side “Both Buds Powered ON “Not Connected to Device |
![]() | ![]() |
![]()
Pair New Device | Pairing Mode |
![]() | ![]() |
| Power-On Off | Volume Up |
![]() | ![]() |
| Volume Down | Play/Pause |
![]() | ![]() |
| Track Forward | Track Back |
![]() | ![]() |
| Answer/End | Charge |
![]() | ![]() |
USER GUIDE
![]()
| Auto Power – On | Auto Power – Off |
![]() | ![]() |
| Charge Earbuds | Pairing Mode |
![]() | ![]() |
| Pair New Device “Indy” | Power – On |
![]() | ![]() |
| Power – Off | Play/Pause |
![]() | ![]() |
| Track Forward Right Side 01 Prava strana 01 | Track Back Left Side O02 Leva strana 02 |
![]() | ![]() |
| Volume Up Right Side 01 Prava strana 01 | Volume Down Left Side 02 Leva strana 01 |
![]() | ![]() |
| Answer/End Right Side 01 Prava strana 01 | Activate Voice Assistant Right Side 01 or Left Side 02 Prava strana 01 Nebo leva strana 02 | Clear Paired Device Right Side 01/Left Side 02 “Disconnected Mode Prava strand 01/Leva strana 02 *Rezip podpojeni a |
![]() | ![]() | ![]() |
MIC1 USERGUIDE

MIC1 OPERATION
CLICK
TAKE/MAKE CALLS ![]()
PLAY / PAUSE ![]()
NEXT TRACK ![]()
PREVIOUS TRACK ![]()
USER GUIDE
![]()
| Auto Pair Mode Pairing Mode | Auto Power – On |
![]() | ![]() |
| Auto Power – Off | Charge Earbuds |
![]() | ![]() |
| Charge Case | Pairing Mode *Off Mode |
![]() | ![]() |
| Pair New Device “Push Ultra” | Power-On Left Side or Right Side |
![]() | ![]() |
| Power -Off Left Side or Right Side | Play/Pause Left Side or Right Side |
![]() | ![]() |
| Track Forward Left Side or Right Side | Track Back Left Side or Right Side |
![]() | ![]() |
| Volume Up Left Side or Right Side | Volume Down Left Side or Right Side |
![]() | ![]() |
| Answer/End Left Side or Right Side | Activate Voice Assistant Left Side or Right Side |
![]() | ![]() |
| Clear Paired Device Left Side and Right Side *Off Mode – Reset Device | Tile” Enabled: Download the App Download the Tile™ App |
![]() | ![]() |
Pair Tile™ ![]() | 3EQModes Left Side or Right Side Music, Movies, and Podcast |
![]() | ![]() Change equalizer modes |
![]()
| Pairing Mode Pair New Device “off Mode | Pairing Mode |
![]() | ![]() |
| Power – On/Off | Volume Up |
![]() | ![]() |
| Volume Down | Play/Pause |
![]() | ![]() |
| Track Forward | Track Back |
![]() | ![]() |
| Answer/End | Activate Voice Assistant | Charge |
![]() | ![]() | ![]() |
USER GUIDE
![]()
| Auto Pair Mode Pairing Mode | Auto Power – On |
![]() | ![]() |
| Auto Power – Off | Charge Earbuds |
![]() | ![]() |
| Charge Case | Pairing Mode |
![]() | ![]() |
| Pair New Device “Sesh Evo” | Power-On Left Side and Right Side |
![]() | ![]() |
| Power-Off Left Side and Right Side | Play/Pause Left Side or Right Side |
![]() | ![]() |
| Track Forward Right Side | Track Back Left Side |
![]() | ![]() |
| Volume Up Right Side | Volume Down Left Side |
![]() | ![]() |
| Answer/End Left Side or Right Side | Activate Voice Assistant Left Side or Right Side |
![]() | ![]() |
| Clear Paired Device Left Side and Right Side *Off Mode | Tile™ Enabled: Download the App |
Reset Device | Download the Tile™ App |
Pair Tile™ ![]() | 3 EQ Modes Left Side or Right Side Music, Movie, and Podcast |
![]() | ![]() Change equalizer modes |
QUICK START GUIDE![]()
| Power – On / Off | Pairing Mode Pair New Device |
![]() | ![]() |
| Pair New Device | Volume Up |
![]() | ![]() |
| Volume Down | Play/Pause |
![]() | ![]() |
| Track Forward | Track Back |
![]() | ![]() |
| Answer / End Phone Calls Answer / End | Activate Voice Assistant |
![]() | ![]() |
| Charge | Rapid Charge: 10 minutes = 5 hours |
![]() | ![]() |
| Check Battery Life Check Battery | ANC – Off Active Noise Canceling (ANC) Off |
![]() | ![]() |
| ANC – On Active Noise Canceling (ANC) On | Monitor Mode – On / Off |
![]() | ![]() |
| Tile™ Enabled: Download the App Download the Tile™ App | Pair Tile™ |
![]() | ![]() |
QUICK START GUIDE
Back Up Cable
| Bluetooth Functions Disabled with Aux Cable Bluetooth® Disabled with Aux Cable | Microphone Function with Aux Cable |
![]() | ![]() |
| Answer / End Phone Calls Answer / End | Play/Pause |
![]() | ![]() |
| Track Forward | Track Back | Activate Voice Assistant |
![]() | ![]() | ![]() |
Questions Visit: www.skullcandy.com
ISED Statement
This device contains license-exempt transmitter(s) / receiver(s) that comply with Innovation, Science and Economic Development Canada’s license-exempt RSS(s). Operation is subject to the following two conditions:
- This device may not cause interference.
- This device must accept any interference, including interference that may cause undesired operation of the device.
Skull candy,
and other marks are registered trademarks of Skull candy, Inc. All rights reserved.
Americas
Skull candy, Inc.
6301 N Landmark Dr.
Park City, UT 84098 U.S.A.
Skullcandy.com
Europe
Skull candy Europe BV
Postbus 425
5500AK Veldhof Nederland
Skullcandy.eu
Canada
Skull candy Canada ULC
329 Railway St. Unit 205
Vancouver, BC. V6A 1A4 Canada
Skullcandy.ca
Contains Li-ion battery. Battery must be recycled or disposed of properly.
R-CRM-Sku-S6HCW
[T] D18-0049018
[R] 018-180246
![]()
![]()



Play / Pause




Activate Voice Assistant
Rapid Charge: 10 minutes = 3 hours


Clear Paired Device
























































































































Reset Device












































