USER MANUAL

Skullcandy Cassette
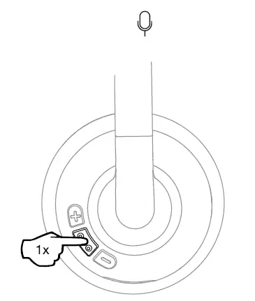
Pairing Mode
“Off Mode

Pair New Device
“Cesaette~

Power-On

Power – Off

Play/Pause

Volume Up

Volume Down

Track Forward

Track Back

Answer/End

Activate Assistant

Charge

Questions Visit: www.skullcandy.com
For best quality avoid strong product In conditions above 100 degrees.
2 Year Global Warranty
United States of America and Canada Product Purchases Only Skullcandy products are backed by a 2-year warranty. If it doesn’t work the way we promised, we’ll make it right. For Guarantee Claims, Questions and Terms & Conditions visit skullcandy warranty or call us at 1-888-MYSKULL.
Product Purchases Outside The United States of America and Canada
Skullcandy products are backed by a 2-year warranty. If it doesn’t work the way we promised, we’ll make it right. For Guarantee Claims, Questions, and Terms & Conditions visit www.skullcandy.com/warranty or email us at [email protected]
Warning: To avoid hearing damage, do not listen at high volume levels.
Many electrical items can be repaired or recycled, saving natural resources and the environment. If you do not recycle, electrical equipment will end up in landfill where hazardous substances will leak out and cause soil and water contamination — harming wildlife and also human health. To remind you that old electrical equipment can be recycled, it is now marked with a crossed out wheeled bin symbol. Please do not throw any electrical equipment (including those marked with the crossed out wheeled bin symbol) in your bin.
For Wireless Product
EU/EC DECLARATION OF CONFORMITY
Hereby, Skullcandy Internation GmbH declares that the radio equipment type [Model: S5CSVV] is in compliance with Directive 2014/53/EU. The full text of the EU declaration of conformity is available at the following internet address: skullcandy.eu/product-documents
Many Local Authorities will have containers that collect batteries for recycling. Public buildings and your workplace may also have containers. If you do not recycle, batteries will end up in landfill where hazardous substances will leak out and cause soil and water contamination — harming wildlife and also human health. Batteries containing hazardous materials such as mercury (Hg), cadmium (Cd) or lead (Pb) are marked with their chemical symbols as well. This symbol means that according to local laws and regulations the battery shall be disposed of separately from household waste. When this product reaches its end of life, take it to a collection point designated by local authorities or return to purchase location for recycling or disposal.
LIMITED WARRANTY- FOR SALES IN AUSTRALIA:
Against defects for 2 year from the date of purchase. Product will be replaced or refunded at our option. At your cost, deliver product and Proof of Purchase to Skullcandy at 63 Centennial Circuit Byron Bay, 2481 NSW, Australia. Ph 02 6639 5555. Further details at www.skullcandy.com.au or contact [email protected]. Your benefits under this Skullcandy warranty are in addition to your other rights and remedies under a law in relation to this product. Our goods come with guarantees that cannot be excluded under the Australian Consumer Law. You are entitled to a replacement or refund for a major failure and for compensation for any other reasonably foreseeable loss or damage. You are also entitled to have the goods repaired or replaced if the goods fail to be of acceptable quality and the failure does not amount to a major failure.
IC Compliance statement:
This device contains license-exempt transmitter(s)/receiver(s) That comply with Innovation, Science and Economic Development Canada’s license-exempt RSS(s). Operation is subject: to the following two conditions: (1)This device may not cause interference. (2)This device must accept any interference, including interference that may causes undesired operation of the device.
IC SAR Statement
This equipment complies with ISED radiation exposure limits set forth for an uncontrolled environment. End user must follow the specific operating Instructions for satisfying RF exposure compliance. This transmitter must not De co-located or operating In conjunction with any other antenna or transmitter. The portable device la designed to meat Illa requirements for exposure to radio waves established by the ISED. These requirements set a SAR limit of 1.6 W/kg averaged over one gram of tissue. The highest SAR value reported under this standard during product certification for use when properly worn on the body.
EN CONTAINS Li-ion BATTERY
WARNING: Choking hazard – small parts. Not for Children.
Specifications
Software Version: V5.0
Hardware Version: V1.6
Bluetooth Function: 2402-2480 MHz@ <8dBm
© 2019 Skulcandy, Inc.
Skullcandy.com/patant-information
MODEL: SSCSW
FCC ID: Y22-$5CSW
IC: 10486A-S5CSW
Questions about your Manual? Post in the comments!








![Skullcandy 2xl [x7rgfz-841/847] User Manual Skullcandy 2xl [x7rgfz-841/847] User Manual](https://static-data1.manualsee.com/1/img/66/14529/2020/12/Skullcandy-2XL-X7RGFZ-841-847-FEATURED-1568x766.png)









