Skullcandy Crusher Evo Wireless Over-Ear Headphone

USE INSTRUCTION
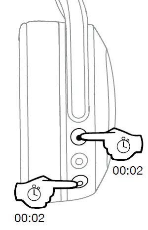
POWER ON / OFF

PAIRING MODE

Pair New Device

Play / Pause

Volume Up

Volume Down

Track Forward

Track Back

Answer / End

Activate Voice Assistant

Charge

Rapid Charge: 10 minutes = 3 hours

Bass Control

Pair Tile

Clear Paired Device

Questions Visit: www.skullcandy.com
ISED Statement
This device contains license-exempt transmitter(s) / receiver(s) that comply with Innovation, Science and Economic Development Canada’s license-exempt RSS(s). Operation is subject to the following two conditions:
- This device may not cause interference.
- This device must accept any interference, including interference that may cause undesired operation of the device.
ISED SAR Statement
This equipment complies with ISED radiation exposure limits set forth for an uncontrolled environment. End user must follow the specific operating instructions for satisfying RF exposure compliance. This transmitter must not be co-located or operating in conjunction with any other antenna or transmitter. The portable device is designed to meet the requirements for exposure to radio waves established by the ISED. These requirements set a SAR limit of 1.6 W/kg averaged over one gram of tissue. The highest SAR value reported under this standard during product certification for use when properly worn on the head.
The FCC Compliance Statement
This device complies with part 15 of the FCC Rules. Operation is subject to the following two conditions: (1) This device may not cause harmful interference, and (2) this device must accept any interference received, including interference that may cause undesired operation. Changes or modifications not expressly approved by the party responsible for compliance could void the user’s authority to operate the equipment. This equipment has been tested and found to comply with the limits for a Class B digital device, pursuant to part 15 of the FCC Rules. These limits are designed to provide reasonable protection against harmful interference in a residential installation. This equipment generates, uses and can radiate radio frequency energy and, if not installed and used in accordance with the instructions, may cause harmful interference to radio communications. However, there is no guarantee that interference will not occur in a particular installation. If this equipment does cause harmful interference to radio or television reception, which can be determined by turning the equipment off and on, the user is encouraged to try to correct the interference by one or more of the following measures:
- Reorient or relocate the receiving antenna.
- Increase the separation between the equipment and receiver.
- Connect the equipment into an outlet on a circuit different from that to which the receiver is connected.
- Consult the dealer or an experienced radio /TV technician for help.
DECLARATION OF CONFORMITY
Hereby, Skullcandy Internation GmbH declares that the radio equipment type [Model: S6EVW] complies with Directive 2014/53/EU. The full text of the EU declaration of conformity is available at the following internet address: skullcandy.eu/prod-uct-documents
Americas
Skullcandy, Inc. 6301 N Landmark Dr. Park City, UT 84098 U.S.A. Skullcandy.com
Europe
Skullcandy Europe BV Postbus 425 5500AK Veldhoven Nederland Skullcandy.eu
Canada
Skullcandy Canada ULC 329 Railway St. Unit 205 Vancouver, BC. V6A 1A4 Canada Skullcandy.ca
References
Skullcandy | Headphones, Earbuds, Speakers & More
Skullcandy Headphones, True Wireless Earbuds, Speakers & More - Skullcandy.com
Skullcandy Headphones, True Wireless Earbuds, Speakers & More - Skullcandy.eu
Skullcandy - Product Declaration of Conformities
スカルキャンディー公式サイト
Skullcandy México | Audifonos True Wireless
Skullcandy Headphones, True Wireless Earbuds, Speakers & More - Skullcandy.com




















