Skullcandy S6HVW Hesh Evo Wireless Over-Ear Headphones
Power – On/ Off
- ON – 00:01
- OFF – 00:02
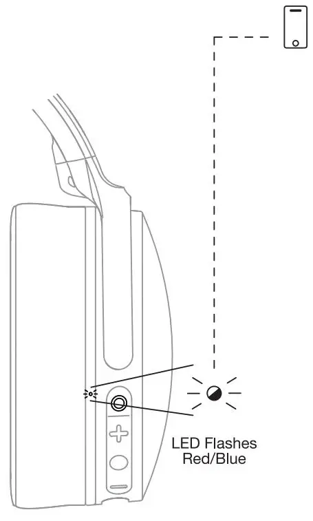
Pairing Mode *On Mode
Pair New Device
Pair New Device “Hesh Eva”
Pairing Mode
Play/Pause
Volume Up
Volume Down 
Track Forward
TrackBack
Answer/ End Phone Calls 
Activate Voice Assistant
Charge
Rapid Charge: 10 minutes = 3 hours 
Tile™ Enabled: Download the App 
Pair Tile™
Clear Paired Device Hold Together
Questions Visit: www.skullcandy.com.
Fcc Statement
ISED Statement
This device contains license-exempt transmitter(s) and receiver(s) that comply with Innovation, Science, and Economic Development Canada’s license-exempt RSS(s). Operation is subject to the following two conditions:
- This device may not cause interference.
- This device must accept any interference, including interference that may cause undesired operation of the device.
ISED SAR Statemen
This equipment complies with ISED radiation exposure limits set forth for an uncontrolled environment. End-user must follow the specific operating instructions for satisfying RF exposure compliance. This transmitter must not be co-located or operating in conjunction with any other antenna or transmitter. The portable device is designed to meet the requirements for exposure to radio waves established by the lSED. These requirements set a SAR limit of 1.6 W/kg averaged over one gram of tissue. The highest SAR value reported under this standard during product certification for use when properly worn on the head.
The FCC Compliance Statement
This device complies with part 15 of the FCC Rules. Operation is subject to the following two conditions: (1) This device may not cause harmful interference, and (2) this device must accept any interference received, including interference that may cause undesired operation. Changes or modifications not expressly approved by the party responsible for compliance could void the user’s authority to operate the equipment. This equipment has been tested and found to comply with the limits for a Class B digital device, pursuant to part 15 of the FCC Rules. These limits are designed to provide reasonable protection against harmful interference in a residential installation. This equipment generates, uses, and can radiate radio frequency energy and, if not installed and used in accordance with the instructions, may cause harmful interference to radio communications. However, there is no guarantee that interference will not occur in a particular installation. If this equipment does cause harmful interference to radio or television reception, which can be determined by turning the equipment off and on, the user is encouraged to try to correct the interference by one or more of the following measures:
- Reorient or relocate the receiving antenna.
- Increase the separation between the equipment and receiver.
- Connect the equipment into an outlet on a circuit different from that to which the receiver is connected.
- Consult the dealer or an experienced radio/TV technician for help.
Skullcandy,.and other marks are registered trademarks of Skullcandy, Inc, All rights reserved.
- Speaker Driver: 40mm,
- Impedance: 32 Ohms, THD <3%@100Hz 10KHz,
- Voltage Regulation: 3.7v, Bluetooth 5.0,
- Frequency Band: 2.402GHz – 2.480GHz,
- Maximum Power: 9.5 dBm,
- Weight: 213g.
Contains a Li-ion battery. The battery must be recycled or disposed of properly.
Americas
Skullcandy, Inc. 6301 N Landmark Dr. Park City, UT 84098 U.S.A. Skullcandy.com
SIMPLIFIED EU DECLARATION OF CONFORMITY
Hereby, Skullcandy Internation GmbH declares that the radio equipment type [Model: S6HW] is in compliance with Directive 2014/53/EU. The full text of the EU declaration of conformity is available at the following internet address: Skullcandy.eu/product-documents


Charge





















