User Guide
Hesh Evo
Power on/off
Power on/off

ON: 00:01
OFF: 00:02
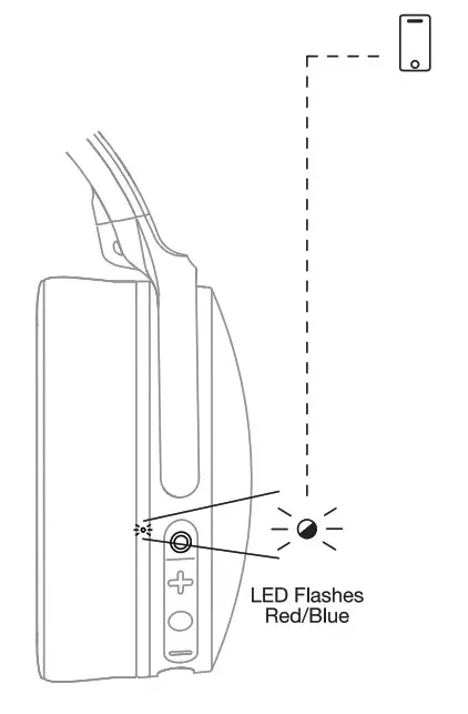
Pairing Mode
*On Mode
Pair new Device

Pair new Device
Pairing Mode
” Hesh Evo”

Play/Pause
Play/Pause

Volume Up
Volume Up

Volume Down
Volume Down

Track Forward
Track Forward

TrackBack
TrackBack

Answer/End Phone Calls
Answer/End

Activate Voice Assistant
Activate Voice Assistant

Charge
Charge

Rapid Charge: 10 minutes= 3hours
Rapid Charge:

Tile™ Enabled Download the app
Download the Tile™ app

Pair Tile™
Pair Tile™

Clear Paired Device
Clear Paired Device
Hold Together

Questions Visit: www.skullcandy.com
ISED Statement
This device contains license-exempt transmitter(s) / receiver(s) that comply with Innovation, Science, and Economic Development Canada’s license-exempt RSS(s). Operation is subject to the following two conditions: (1)This device may not cause interference. (2)This device must accept any interference, including interference that may cause undesired operation of the device.
ISED SAR Statement
This equipment complies with ISED radiation exposure limits set forth for an uncontrolled environment. End-user must follow the specific operating instructions for satisfying RF exposure compliance. This transmitter must not be co-located or operating in conjunction with any other antenna or transmitter. The portable device is designed to meet the requirements for exposure to radio waves established by the ISED. These requirements set a SAR limit of 1.6 W/kg averaged over one gram of tissue. The highest SAR value is reported under this standard during product certification for use when properly worn on the head.
The FCC Compliance Statement
This device complies with part 15 of the FCC Rules. Operation is subject to the following two conditions: (1) This device may not cause harmful interference, and (2) this device must accept any interference received, including interference that may cause undesired operation. Changes or modifications not expressly approved by the party responsible for compliance could void the user’s authority to operate the equipment. This equipment has been tested and found to comply with the limits for a Class B digital device, pursuant to part 15 of the FCC Rules. These limits are designed to provide reasonable protection against harmful interference in a residential installation. This equipment generates, uses, and can radiate radio frequency energy and, if not installed and used in accordance with the instructions, may cause harmful interference to radio communications. However, there is no guarantee that interference will not occur in a particular installation. If this equipment does cause harmful interference to radio or television reception, which can be determined by turning the equipment off and on, the user is encouraged to try to correct the interference by one or more of the following measures:
– Reorient or relocate the receiving antenna.
– Increase the separation between the equipment and receiver.
– Connect the equipment into an outlet on a circuit different from that to which the receiver is connected.
– Consult the dealer or an experienced radio/TV technician for help.
Made In the Philippines.
Hesh Evo
MODEL: S6HVW
IC: 10486A-S6HVW
FCC ID: Y22-S6HVW
HW Version: V0.4
FW Version: v0.4.10

Americas
Skullcandy, Inc.
6301 N Landmark Dr.
Park City, UT 84098 U.S.A.
Skullcandy.com
Europe
Skullcandy Europe BV
Postbus 425
5500AK Veldhoven Nederland
Skullcandy.eu
SIMPLIFIED EU DECLARATION OF CONFORMITY
Hereby, Skullcandy Internation GmbH declares that the radio equipment type [Model: S6HVW] is in compliance with Directive 2014/53/EU. The full text of the EU declaration of conformity is available at the following internet address: skullcandy.eu/prod-uct-documents



















