USER MANUAL

Barrel Wireless Headphones
Skullcandy 2XL
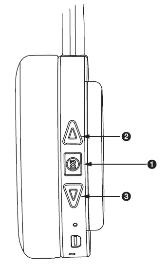
Diagram

Power On – 1
Press and hold the MFB until the LED flashes blue and the ascending tone plays through the headphones.
Power Off – 1
Press and hold the MFB until the LED turns RED and the descending tone plays through the headphones.
Pairing – 1
While power is on, hold the MFB until the LED alternates flashing BLUE and RED.
Un-pairing 2-3
Press and hold the volume up and volume down buttons until you hear two short tones.
Pause -1
Press the MFB once to pause and once again to play.
Volume Up – 2
Press the volume up button. A tone will sound at maximum volume.
Volume Down – 3
Press the volume down button. A tone will sound at minimum volume.
Next Track – 2
Press and hold the volume up button.
Previous Track – 3
Press and hold the volume down button.
Answer Call – 1
While paired, push the MFB once.
Hang Up Call – 1
Push the MFB once.
Charging
The LED will be Red while charging and turn Blue once fully charged.
Low Battery
The LED will flash Red and a tone will sound 4 times.
Note: This equipment has been tested and found to comply with the limits for a Class B digital device, pursuant to Part 15 of the FCC Rules. These limits are designed to provide reasonable protection against harmful interference in a residential installation. This equipment generates, uses, and can radiate radio frequency energy, and if not installed and used in accordance with the instructions, may cause harmful interference to radio communications. However, there is no guarantee that interference will not occur in a particular installation. If this equipment does cause harmful interference to radio or television reception, which can be determined by turning the equipment off and on, the user is encouraged to try to correct the interference by one or more of the following measures:
- Reorient or relocate the receiving antenna.
- Increase the separation between the equipment and receiver.
- Connect the equipment into an outlet on a circuit different from that to which the receiver is connected.
- Consult the dealer or an experienced radio/TV technician for help.
You are cautioned that changes or modifications not expressly approved by the party responsible for compliance could void your authority to operate the equipment.
This device complies with Part 15 of the FCC Rules.
Operation is subject to the following two conditions:
(1) this device may not cause harmful interference, and
(2) this device must accept any interference received, including interference that may cause undesired operation.
This device complies with Industry Canada’s licence-exempt RSSs. Operation is subject to the following two conditions:
(1) This device may not cause interference; and
(2) This device must accept any interference, including interference that may cause undesired operation of the device.
Skullcandy-2XL-Barrel-Wireless-Headphones-Optimized
Skullcandy-2XL-Barrel-Wireless-Headphones-Original
Questions about your Manual? Post in the comments!



















