emos ZS2332 LED Floodlight + PIR Sensor Instruction Manual




LED Floodlight + PIR SENSOR
LED Floodlight is designed for indoor and outdoor use to be mounted on a firm ground. Ingress Protection: IP44 for outdoor use
PIR sensor specification:
Time-delay: min. 10 s ±5 s max. 10 min ±1 min Detection angle: 120° Ambient light: 5 lux > 2 000 lux (adjustable) Detection distance: 510 m Detection motion speed: 0.61.5 m/s PIR sensor setting: Detection field is possible to be set by moving the motion sensor switch to the left and to the right.
Time-delay
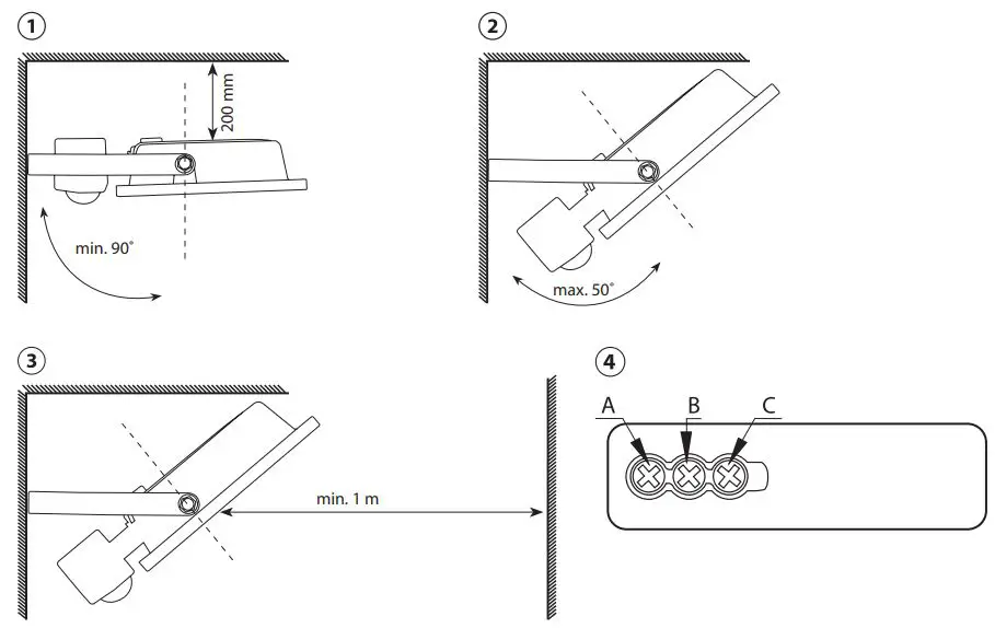
You can set the time-delay of the lamp by a button A TIME (see picture no. 4).
Detection range
The distance at which the sensor responds to movement can be set using the control B SENS (see picture no. 4).
Adjustment of the ambient light (sensitivity)
You can choose at what luminosity will the sensor go on by a button C LUX (see picture no. 4).
Mounting
Mount the floodlight firmly onto a solid basis, for example a wall (fig. 1, 2, 3). Installation height 2.33 m. Connect a power cable for connection to a 220240 V~ power network. The cable must not be plugged into the power network during installation of the spotlight. Direct the floodlight as shown on fig. 1 and 2.
L - brown live wire
G - green & yellow earth wire (ground)
N - blue neutral wire
Maintenance instructions:
Before maintenance, switch off the floodlight and wait until it is cooled. Clean it with a soft moistened cloth. Never submerge the floodlight in water or other liquids. During maintenance, observe general rules for occupational safety, and be very careful.
WARNING
- The floodlight is designed entirely for firm mounting.
- Before connecting to the 220240 V~ make sure that the connecting wire is not under voltage. This operation can be carried out only by an authorized person.
- Respect a minimum distance of 1 m between the appliance and the object or surface which you wish to lighten.
- If you place the Floodlight below the roof, keep the minimum 0.2 m distance measured from the upside of the Floodlight to the bottom of the roof.
- Do not use the Floodlight without the protection glass.
- The protection from dangerous contact voltage is ensured by ,,earthing”.
- The external flexible cable or cord of this luminaire cannot be replaced; if the cord is damaged, the luminaire shall be destroyed.
- The lights source of this luminaire is not replaceable; when the light source reaches its end of life the whole luminaire shall be replaced.
- Terminal block not included. Installation may require advice from a qualified person.
- Terminal block for connection of power supply: 3 terminals screw-less type, rated for cross-section range including 1 mm2 and voltage min 230 V. Type Z attachment.
- Caution, risk of electric shock ⚠ .
EMOS spol. s r.o. declares that the ZS2312, ZS2322, ZS2332, ZS2342 is in compliance with the essential requirements and other relevant provisions of Directive. The device can be freely operated in the EU. The Declaration of Conformity can be found at http://www.emos.eu/download.
This product contains a light source of energy efficiency class F

Do not throw electric appliances into unsorted municipal waste, use collection points of sorted waste! Dangerous substances from electric appliances deposited in landfills can leak into underground waters, reach the foodchain and damage your health and well-being. For actual information about collection points, contact the local authorities.
Servis: EMOS SI, d.o.o., Rimska cesta 92, 3311 Šempeter v Savinjski dolini, Slovenija
tel: +386 8 205 17 21
e-mail: [email protected]


















