
HV380 Series
QUICK START GUIDE
[Please be sure to read the enclosed Shark® Owner’s Guide prior to using your unit.]
This article contains the HV380 Series Shark® Rocket® DuoClean® Corded Stick Vacuum Quick Start Guide. This supports the following product SKUs HV380, HV380C, HV380W, HV381, HV381C, HV381Q, HV381QBL, HV381QPR, HV381QRD, HV382, HV382BRN, HV383, HV384Q, HV384QBL, HV384QGN, HV384QR, HV384QS and UV380.
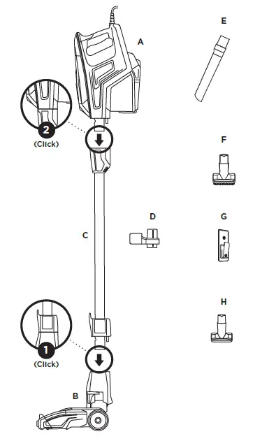
WHAT’S INSIDE
A. Handheld Vacuum
B. Motorized Floor Nozzle
C. Wand
D. Onboard Storage Clip
E. 12″ Crevice Tool
F. Dusting Brush
G. Wall Mount
H. Upholstery Tool
ASSEMBLY

STORAGE
Option 1: Onboard Hook
For compact, convenient storage, hang the handheld vacuum on the hook on the bottom of the wand, and wrap the power cord around the cord hooks. The unit stores easily in a closet or along a wall.

Option 2: Wall Mount
Please see included instruction sheet for wall mount installation information.
MAINTENANCE
Empty the dust cup
Empty the dust cup every time debris reaches the MAX fill line.

TIP: Wash filters every month to keep the suction strong.
Brushroll and Soft Roller Maintenance
Push the release buttons and lift out the brushroll to easily remove any string, hair, or debris that may be wrapped around it by using a pair of scissors.

Remove the Soft Roller by sliding up the eject button.
Remove any string, carpet fibers, or hair that may be wrapped around the Soft Roller.

VERSATILE FLOOR-TO-CEILING CLEANING
FLOOR CLEANING
1. Plug In Vacuum
Then place your foot gently on the floor nozzle and tilt the handle back.

2. Choose Setting
The Rocket® Ultra-Light Upright has a 2-speed power slider switch on the handle. Slide the power switch to the appropriate floor setting and start cleaning.
![]() | Setting I Gentle on bare floors and delicate area rugs. The brushroll spins slowly to clean bare floors and delicate area rugs. |
| Setting II Deep cleans carpets by removing embedded dirt. The brushroll spins faster to pick up debris below the surface of your carpets. | |
| NOTE: For deep cleaning per ASTM F 608 (embedded dirt in carpet) please use Setting II, high pile carpet mode. |
ABOVE-FLOOR CLEANING
1. Stand the vacuum upright.
Step on the foot pedal and pull the wand up to disconnect it from the motorized floor nozzle.
OR
Press the Release button on the top of the wand to disconnect it from the handheld vacuum.

2. Attach desired cleaning accessory.

NOTE: Use Setting I for all above-floor accessories.
For questions or to register your product, contact us at 1-800-798-7398 or visit us online at sharkclean.com
©2018 ROCKET and SHARK are registered trademarks of SharkNinja Operating LLC.
HV381_QSG_Mv8
DOWNLOAD
Shark HV380 Series Rocket DuoClean Corded Stick Vacuum:
Quick Start Guide – [Download PDF]
Owner’s Guide – [Download PDF]




















