OTC 1200 Manual Sleeve Puller Set

Installer Sets

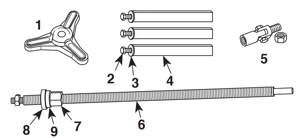
Contents of Set No. 1200
(The No. 1200 Sleeve Puller/Installer Set is a manually operated basic set that is designed for removal of sleeves only.)
| Item no. | Part no. | No Req’ d | Description |
| 1 | 37592 | 1 | Three-Way Head |
| 2 | 10088 | 3 | Cap Screws, Hex Hd |
| 3 | 10586 | 3 | Flat Washers |
| 4 | 27908 | 3 | Risers (13″) |
| 5 | 208675 | 1 | Swivel Assembly |
| 6 | 32976 | 1 | Pulling Screw |
| 7 | 22205 | 1 | Forcing Nut |
| 8 | 11466 | 1 | Thrust Bearing |
| 9 | 24824 | 1 | Thrust Washer |

Contents of Set No. 1202
(A hydraulically activated version, the No. 1202 Sleeve Puller/Installer Set is designed to remove and install sleeves.)
| Item no. | Part no. | No Req’ d | Description |
| 1 | 37592 | 1 | Three-Way Head |
| 2 | 10088 | 3 | Cap Screws, Hex Hd. |
| 3 | 10586 | 3 | Flat Washers |
| 4 | 27908 | 3 | Risers (13″) |
| 5 | 208675 | 1 | Swivel Assembly |
| 6 | 32976 | 1 | Pulling Screw |
| 10 | 41291 | 1 | Installing Bar |
| 11 | 302340 | 1 | Yoke Assembly |
| 12 | 33769 | 1 | Screw Extension |
| 13 | 10221 | 1 | Hex Safety Nut |
| 14 | 21714 | 1 | Insert |
| 15 | 302482 | 1 | Speed Nut |
| 16 | 4180 | 1 | Hydraulic Ram and Pump Assembly |

Contents of Conversion Kit No. 1201
(The No. 1201 Conversion Kit is required for sleeve installation along with the No. 1200 Sleeve Puller/Installer Set.)
| Item no. | Part no. | No Req’ d | Description |
| 10 | 41291 | 1 | Installing Bar |
| 11 | 302340 | 1 | Yoke Assembly |
| 12 | 33769 | 1 | Screw Extension |
NOTE: The No. 1203 consists of all the components listed for the 1202, less hydraulics.
Parts List & Operating Instructions
Safety Precautions
![]() | WARNING: To prevent personal injury or equipment damage, |
![]() |
|
IMPORTANT
- Clean and lubricate the forcing screw often.
- Do not exceed the maximum torque of 250 ft. lbs. for a lubricated forcing screw. If you have applied maximum force and the part has not moved, go to a larger capacity puller. Do not use a hammer to jar the part loose.
Operating Instructions
Item numbers refer to the parts lists.
Manually Operated Version — Sleeve Removal
- . Remove cylinder head and pistons. It is not necessary to remove the head studs.
- Select the correct adapter plate (not included) for the engine make and model number. Assemble the swivel assembly (Item 5) onto the pulling screw, and assemble the adapter plate onto the swivel assembly. See Figure1. NOTE: If the cylinder sleeve is accessible from the bottom, the swivel assembly (Item 5) is not needed.
- Tilt the swivel assembly, and insert the adapter plate down through the sleeve from the top. See Figure 1.

- Place the pulling screw through the three-way head. Place the thrust bearing (Item 8), then the thrust washer (Item 9), and the forcing nut (Item 10) on the pulling screw. Assemble the legs (Item 4) to the three-way head.
- Take up the slack with the forcing nut.
IMPORTANT
• The adapter plate must be firmly seated in the sleeve, and the puller assembly legs solidly positioned on the cylinder block.
• Check tightness of all bolts.
• Ensure no part of a puller leg is making contact with the top of an engine sleeve. - Apply pressure to remove the sleeve.
Manually Operated Version — Sleeve Installation
- . Position the cylinder sleeve for insertion into the engine block.
- Thread the screw extension (Item 12) onto the puller screw. Thread the yoke assembly (Item 11) onto the screw extension.
- Place the correct adapter plate (not included) required for the engine on the pulling screw. Then assemble the thrust bearing, the thrust washer, and the forcing nut onto the pulling screw. Fit the adapter plate onto the top of the engine sleeve, and insert the yoke assembly through the engine sleeve. Slide the installing bar (Item 10) through the yoke assembly. See Figures 2 and 3.


- Take up the slack with the forcing nut.
IMPORTANT
• The adapter plate must be firmly seated in the sleeve.
• Check tightness of all bolts.
• Ensure the sleeve is correctly aligned with the engine block. - Apply pressure to install the sleeve.
Hydraulically Powered Version
The hydraulically powered version of the sleeve puller/installer is set up and operated in basically the same manner as the manually operated version, except for some minor changes due to the different requirements of the hydraulic components.
NOTE: All component setups used to manually remove or install the engine sleeve are also used for the hydraulically powered version, with the following exceptions; the thrust bearing, thrust washer, and forcing nut are not included with the hydraulically powered version.
Sleeve Removal
- The tool components are set up in the same manner as the setup for manual removal, with the exception that a thrust bearing, thrust washer, and forcing nut are not used.
- Place a safety nut (Item 13) on the pulling screw in the location shown in Figure 4.

- Remove the threaded insert from the hydraulic cylinder, and replace it with the smooth insert (Item 14). Place the hydraulic cylinder on the pulling screw, and take up any slack with the speed nut (Item 15). See Figure 5.

IMPORTANT
• The adapter plate must be firmly seated in the sleeve, and the puller assembly legs solidly positioned on the cylinder block.
• Check tightness of all bolts.
• Ensure no part of a puller leg is making contact with the top of an engine sleeve. - Apply hydraulic pressure, and remove the sleev
Sleeve Installation
- The tool components are set up in the same manner as the setup for manual sleeve installation, with the exception that a thrust bearing, thrust washer, and forcing nut are not used.
- Place a safety nut (Item 13) on the pulling screw in the location shown in Figure 6.

- Remove the threaded insert from the hydraulic cylinder, and replace it with the smooth insert (Item 14). Place the hydraulic cylinder on the adapter plate (not included) located on top of the sleeve. Insert the pulling screw through the hydraulic cylinder, and take up any slack with the speed nut (Item 15). See Figure 6.
IMPORTANT
•The adapter plate must be firmly seated in the sleeve.
•Check tightness of all bolts.
•Ensure the sleeve is correctly aligned with the engine block. - Apply hydraulic pressure, and install the sleeve




























