NOTIFIER BG-10 Series Pull Station Lock Replacement Instruction Manual
This document is to provide important maintenance and installation information for the BG-10 Series of manual pull stations. It is extremely important that the following information be read.
Installation on an Electrical Box
When installing the BG-10 Series manual pull station on an electrical box, do not overtighten the mounting screws. If the mounting screws are overtightened, the pull station backplate will begin to bow, leading to possible false alarms.
Snap-in Lock Replacement
The snap-in lock, which was installed in the BG-10 Series manual pull stations manufactured from August of 1998 through November of 1999, may loosen under extreme use, leading to false alarms. The lock should be replaced with the supplied clip-in lock as outlined in the following steps.
Snap-in lock removal
- Disable the zone associated with that pull station to prevent a false alarm. As a precaution, notify building occupants and the fire department or monitoring service that the system is being worked on.
- Open the pull station housing and leave the lock in the unlocked position.
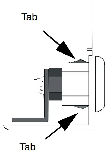
- Remove the lock by using a pair of needle nose pliers to squeeze the two tabs in toward the lock body and then pull the lock straight out from the pull station housing. As an alternative, a flat blade screw driver can be used to press a tab while sliding one side of the lock out and then press the other tab to free the lock from housing.

Clip-in lock installation
- Insert lock assembly with key and cam in position shown, angling it as necessary.
- Secure the lock to the pull station housing by pushing the retaining clip into the notches in the lock.
- Close and lock the pull station housing.
- Verify that the top of the locked pull station housing closes tightly against the pull station backplate. If the fit is not tight, open the pull station and bend the formed tab, which is located above the switch on the backplate, to eliminate any play.
- Reactivate all disabled zones after completing lock replacement and test the affected pull stations.

























