VISION VFM-DSB 8kg Monitor Desk Stand Instruction Manual
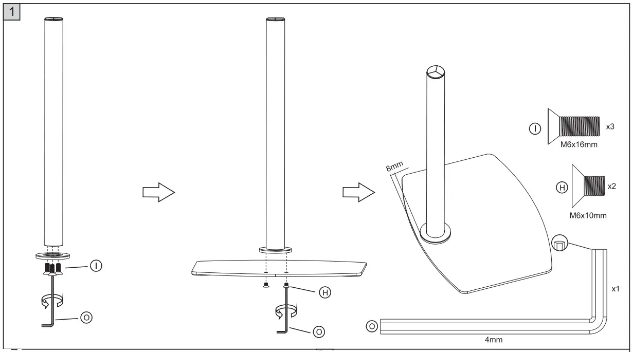
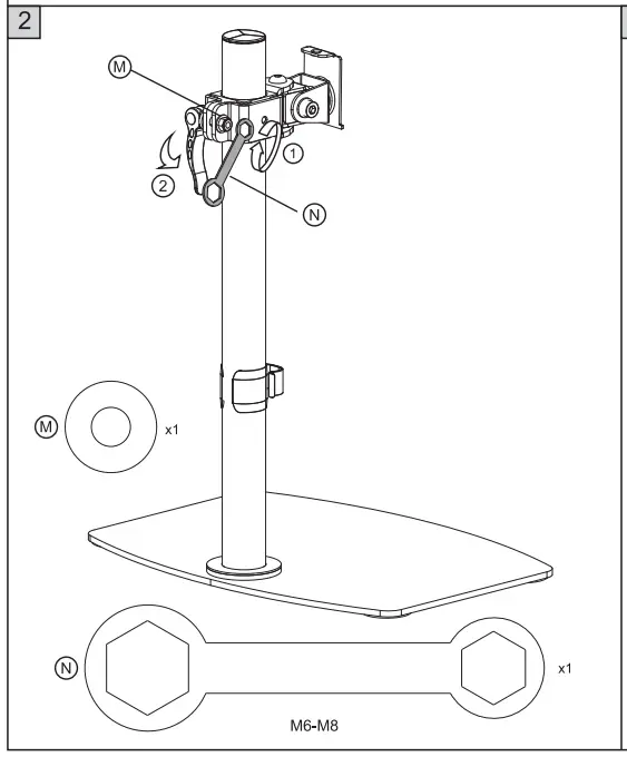
Installation






VISION VFM-DSB 8kg Monitor Desk Stand Instruction Manual






Download manual
Here you can download full pdf version of manual, it may contain additional safety instructions, warranty information, FCC rules, etc.